GM Service Manual Online
For 1990-2009 cars only
Figure 1:

Cigar Lighter and Auxiliary Power Outlet - Front (Except UQ7 and Y91)


Object Number: 1561010  Size: MF
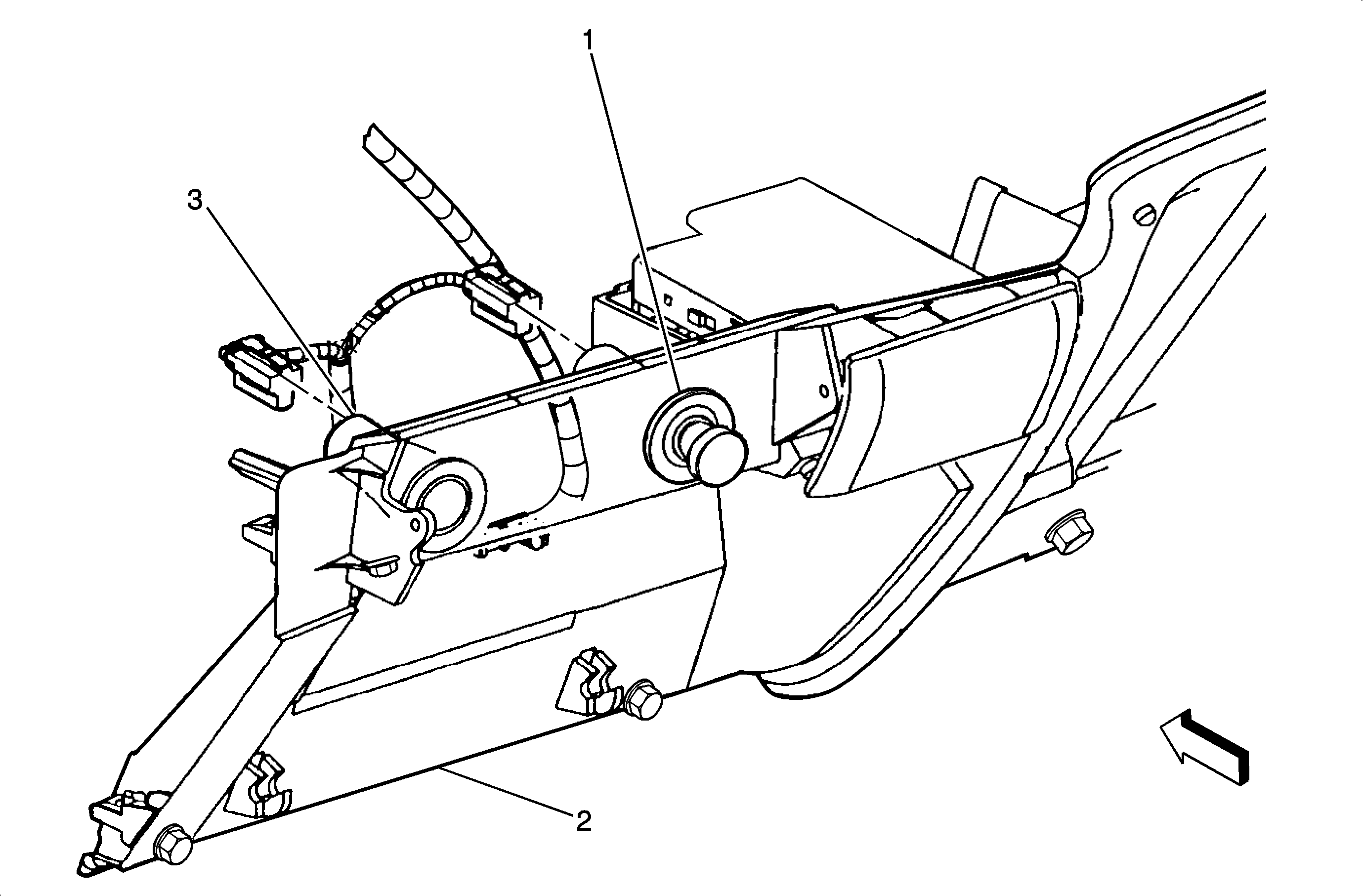
(1)Cigar Lighter
(2)Instrument Panel
(3)Auxiliary Power Outlet - Front
Figure 2:

Console Harness


Object Number: 1558195  Size: LF
(1)Auxiliary Power Outlet - Front Connector
(2)S333
(3)S307
(4)S303
(5)Rear Seat Audio (RSA) Controller Connector
(6)Auxiliary Power Outlet - Console Connector
(7)Audio Amplifier Connector C2 (UQ7)
(8)Audio Amplifier Connector C1 (UQ7)
(9)Cigar Lighter
(10)C306
(11)Noise Compensation Microphone (UQ7 w/Y91)
(12)Speaker - Subwoofer Connector
(13)Speaker - Subwoofer (UQ7)
Figure 3:

Multifunction Accessory Switch (HP2)


Object Number: 1403206  Size: LF
(1)Auxiliary Power Outlet Switch (HP2)
Figure 4:

Below Rear Seat (HP2)


Object Number: 1403208  Size: LF
(1)Auxiliary Power Outlet 120-Volt AC - Interior (HP2)
(2)Energy Storage Box (ESB)
Figure 5:

Right Rear Corner of Bed (HP2)


Object Number: 1403209  Size: LF
(1)Auxiliary Power Outlet 120-Volt AC - Exterior (HP2)