GM Service Manual Online
For 1990-2009 cars only
Figure 1:

Console Harness


Object Number: 1558195  Size: LF
(1)Auxiliary Power Outlet - Front Connector
(2)S333
(3)S307
(4)S303
(5)Rear Seat Audio (RSA) Controller Connector
(6)Auxiliary Power Outlet - Console Connector
(7)Audio Amplifier Connector C2 (UQ7)
(8)Audio Amplifier Connector C1 (UQ7)
(9)Cigar Lighter
(10)C306
(11)Noise Compensation Microphone (UQ7 w/Y91)
(12)Speaker - Subwoofer Connector
(13)Speaker - Subwoofer (UQ7)
Figure 2:

Radio


Object Number: 1558196  Size: LF
(1)Auxiliary Power Outlet Switch (HP2)
(2)Radio
Figure 3:

Speaker - Left Rear (Extended Cab)


Object Number: 350029  Size: MF
(1)Inner Body Panel - LH
(2)Speaker Connector - Harness
(3)Electrical Connector - Speaker
(4)Speaker - LR (RT side Similar)
Figure 4:

Driver Door


Object Number: 1558107  Size: MF
(1)Driver Door
(2)Driver Door Module (DDM)
(3)Outside Rearview Mirror - Driver
(4)Window Motor - Driver
(5)Speaker - LF Door
(6)Memory/Heated Seat Switch Connector
(7)Speaker - LF Tweeter (UQ3)
(8)Door Courtesy Lamp - LF
(9)Driver Door Panel
(10)Memory/Heated Seat Switch
(11)Door Latch Assembly - Driver
Figure 5:

Passenger Door


Object Number: 1555601  Size: MF
(1) Passenger Door Module (PDM)
(2)Passenger Door
(3)Door Latch Assembly - Passenger
(4)Heated Seat Switch - Passenger
(5)Door Courtesy Lamp - RF
(6)Speaker - RF Tweeter (UQ3)
(7)Heated Seat Switch Connector
(8)Speaker - RF Door
(9)Window Motor - Passenger
(10)Outside Rearview Mirror - Passenger
Figure 6:

Speaker - Left Front Tweeter - (UQ7) (Right Front Similar)


Object Number: 851254  Size: LF
(1)Left A-Pillar Trim Panel
(2)Speaker - LF Tweeter
(3)Speaker - LF Tweeter Connector
Figure 7:

Speaker - Left Rear Door - Crew Cab (Right Rear Similar)


Object Number: 851258  Size: LF
(1)Door - LR
(2)Window Motor - LR
(3)Speaker - LR
Figure 8:

Splice Pack SP250 (UQ7 w/U2K/U42 or U2K/U1S or U42/U1S or U2K/U42/U1S)


Object Number: 1170964  Size: LF
(1)Instrument Panel
(2)C220
(3)SP250
Figure 9:

Rear of Center Console (UK6)


Object Number: 851270  Size: LF
(1)Center Console
(2)Rear Seat Audio (RSA)
(3)Auxiliary Power Outlet-Console
Figure 10:

Remote Playback Device-CD Player (US1)


Object Number: 851274  Size: MF
(1)Lower I/P Bezel
(2)Remote Playback Device-CD Player
Figure 11:

Digital Radio Receiver (U2K)


Object Number: 851276  Size: LF
(1)Right Side of Instrument Panel
(2)Digital Radio Receiver
(3)Digital Radio Receiver Connector
Figure 12:

Rear Seat Entertainment (RSE) Assembly (U42)


Object Number: 1564464  Size: LF
(1)Headliner
(2)Rear Seat Entertainment (RSE) Assembly
(3)Rear Seat Entertainment (RSE) Display
Figure 13:

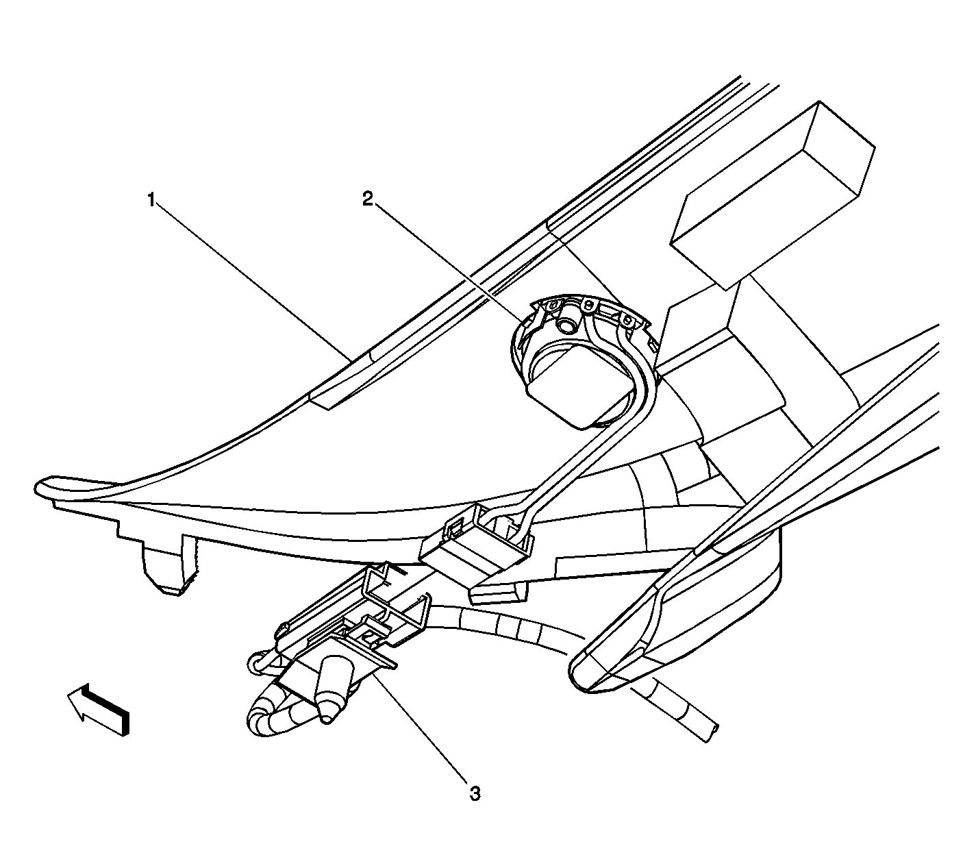
Steering Wheel and Column Sub-System Components


Object Number: 856748  Size: LF
(1)Steering Wheel Control Switch Assembly-Upper Left (UK3)
(2)Passlock Sensor Connector
(3)Ignition Key Alarm Switch
(4)Ignition Lock Cylinder Control Actuator
(5)Ignition Lock Cylinder Control Actuator Connector
(6)Ignition Switch
(7)Ignition Key Cylinder
(8)Steering Wheel Control Switch Assembly-Upper Right (UK3)
(9)Horn Switch
(10)Steering Wheel Control Switch Assembly-Lower Right (UK3)
(11)C277
(12)Steering Wheel Control Switch Assembly-Lower Left (UK3)
(13)Turn Signal/Multifunction Switch