GM Service Manual Online
For 1990-2009 cars only

Electronic Components


Object Number: 1552905  Size: LF
(36)Vehicle Speed Sensor (VSS) - Model Dependent
(66)Torque Converter Clutch (TCC) Solenoid Valve
(69)Automatic Transmission Fluid Pressure (TFP) Manual Valve Position Switch
(250)Input Speed Sensor (ISS) Assembly - Model Dependent
(367a)1-2 Shift Solenoid (SS) Valve
(367b)2-3 Shift Solenoid (SS) Valve
(377)Pressure Control (PC) Solenoid Valve
(394)3-2 Shift Solenoid (SS) Valve Assembly
(396)Torque Converter Clutch Pulse Width Modulation (TCC PWM) Solenoid Valve
Figure 1:

Electronic Components


Object Number: 1748975  Size: LF
(36)Vehicle Speed Sensor (VSS) - Model Dependent
(66)Torque Converter Clutch (TCC) Solenoid Valve
(69)Automatic Transmission Fluid Pressure (TFP) Manual Valve Position Switch
(108)Secondary Fluid Pump Assembly - M33 Model Only
(367a)1-2 Shift Solenoid (SS) Valve
(367b)2-3 Shift Solenoid (SS) Valve
(377)Pressure Control (PC) Solenoid Valve
(394)3-2 Shift Solenoid (SS) Valve Assembly
(396)Torque Converter Clutch Pulse Width Modulation (TCC PWM) Solenoid Valve
Figure 2:

Vehicle Speed Sensor (VSS)


Object Number: 1680729  Size: LF
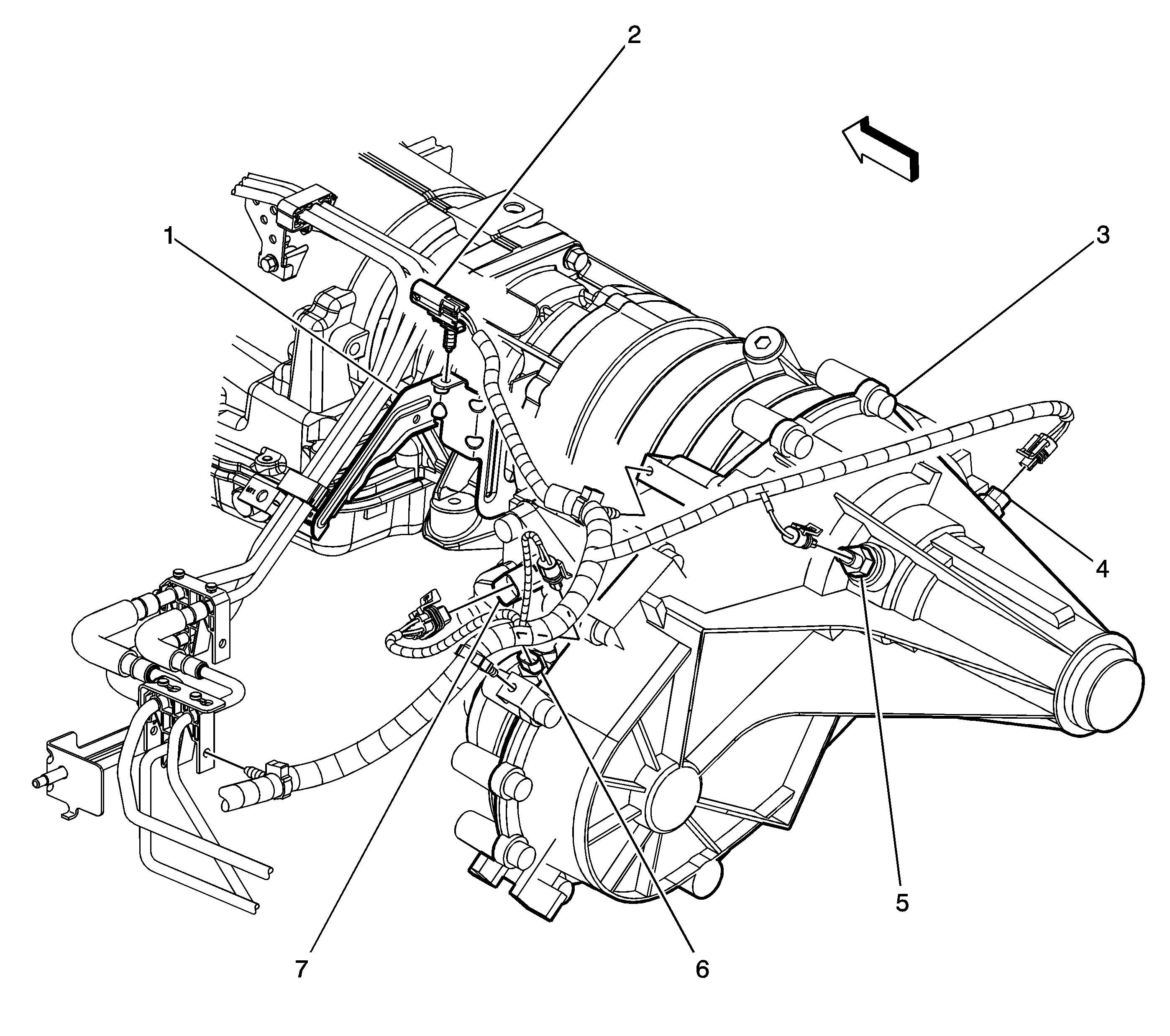
(1)Fuel Lines
(2)C350
(3)Transfer Case
(4)Propshaft Speed Sensor - Rear
(5)VSS Sensor
(6)Propershaft Speed Sensor - Front
(7)Transfer Case Encoder Motor
Figure 3:

Park Neutral Position (PNP) Switch


Object Number: 1283232  Size: MF
(1)Automatic Transmission 4L60-E/4L65-E/4L70-E
(2)Park/Neutral Position (PNP) Switch
Figure 4:

C175


Object Number: 828782  Size: MF
(1)Automatic Transmission
(2)C175
Figure 5:

Tow/Haul Switch Location


Object Number: 1327928  Size: MF
(1)Tow/Haul Switch