GM Service Manual Online
For 1990-2009 cars only

Crew Cab


Object Number: 2090408  Size: B3
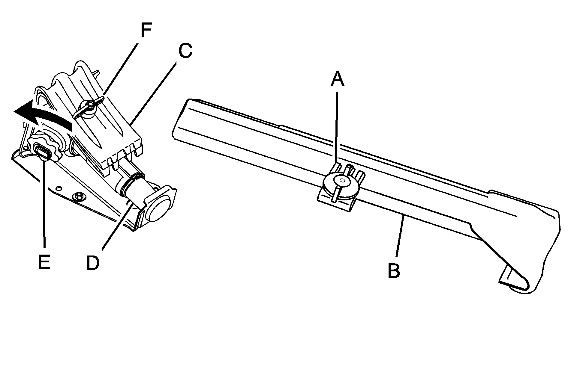
  1. Wing Nut Retaining Tool Kit

  2. Tool Kit

  3. Wheel Blocks

  4. Jack

  5. Jack Knob

  6. Wing Nut Retaining Wheel Blocks

Regular Cab


Object Number: 2090413  Size: B3
  1. Wing Nut Retaining Tool Kit

  2. Tool Kit

  3. Wheel Blocks

  4. Jack

  5. Jack Knob

  6. Wing Nut Retaining Wheel Blocks

Extended Cab


Object Number: 1837366  Size: B3
  1. Wing Nut Retaining Tool Kit

  2. Tool Kit

  3. Wheel Blocks

  4. Jack

  5. Jack Knob

For regular cab models, the equipment you will need is behind the passenger's seat. For extended and crew cab models, the equipment is on the shelf behind the passenger's side second row seat.

  1. Turn the knob on the jack counterclockwise to lower the jack head to release the jack from its holder.
  2. Remove the wheel blocks and the wheel block retainer by turning the wing nut counterclockwise.
  3. Remove the wing nut used to retain the storage bag and tools by turning it counterclockwise.

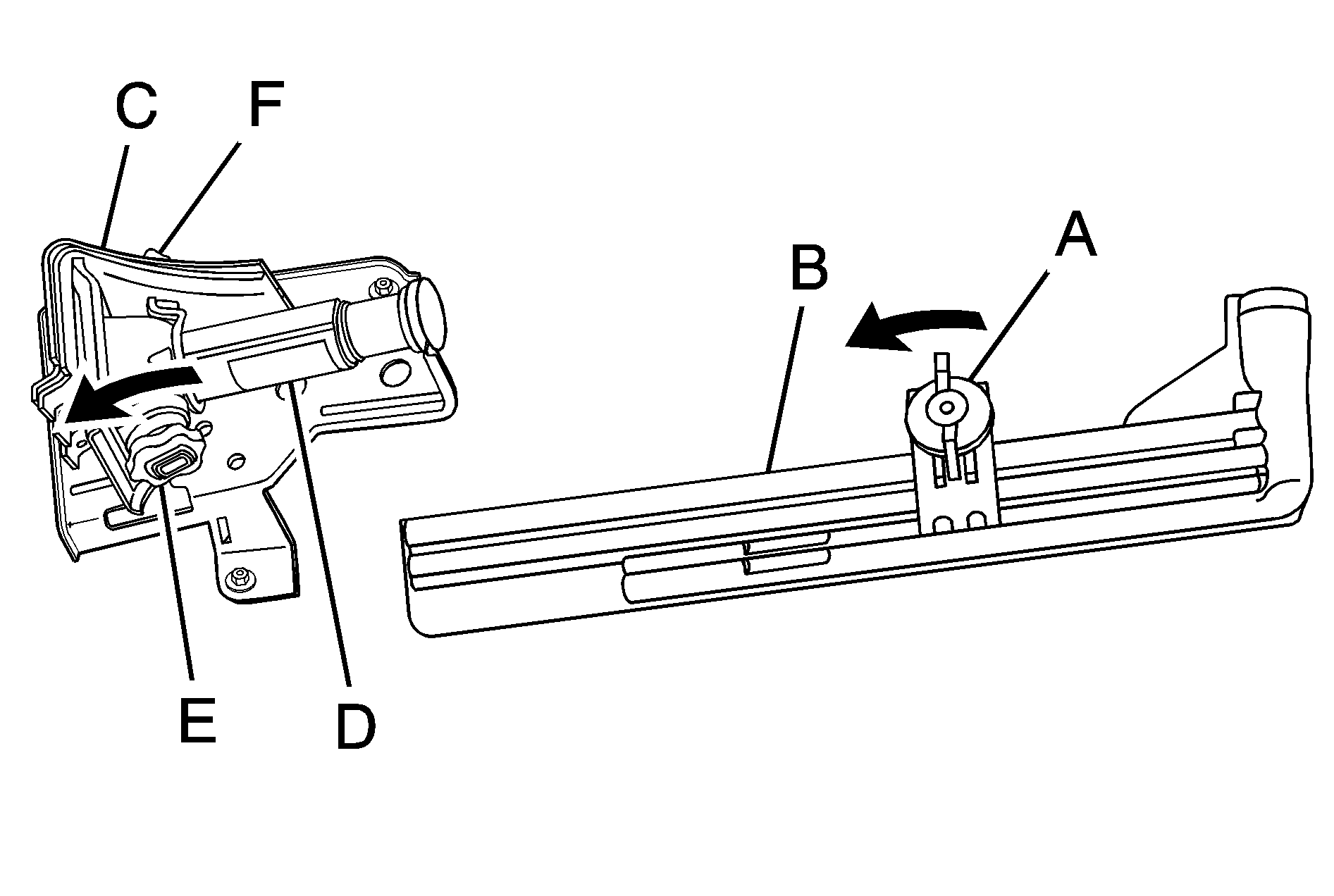
You will use the jack handle extensions and the wheel wrench to remove the underbody-mounted spare tire.


  1. Object Number: 1826567  Size: B4

    Spare Tire (Valve Stem Pointed Down)

  2. Hoist Assembly

  3. Hoist Cable

  4. Tire/Wheel Retainer

  5. Hoist Shaft

  6. Hoist End of Extension Tool

  7. Hoist Shaft Access Hole

  8. Wheel Wrench

  9. Jack Handle Extensions

  10. Spare Tire Lock (If equipped)

  1. Open the spare tire lock cover on the bumper and use the ignition key to remove the spare tire lock (J). To remove the spare tire lock, insert the ignition key turn and pull straight out.

  2. Object Number: 805764  Size: B2
  3. Assemble the wheel wrench (H) and the two jack handle extensions (I) as shown.

  4. Object Number: 805774  Size: A3

    Insert the hoist end (open end) (F) of the extension through the hole (G) in the rear bumper.

    Do not use the chiseled end of the wheel wrench.

  5. Be sure the hoist end of the extension (F) connects to the hoist shaft (E). The ribbed square end of the extension is used to lower the spare tire.
  6. Turn the wheel wrench (H) counterclockwise to lower the spare tire to the ground. Continue to turn the wheel wrench until the spare tire can be pulled out from under the vehicle.
  7. If the spare tire does not lower to the ground, the secondary latch is engaged causing the tire not to lower. See Secondary Latch System.


    Object Number: 805763  Size: A2

    Use the wheel wrench hook which allows you to pull the hoist cable towards you to assist in reaching the spare tire.


    Object Number: 1913863  Size: B3
  8. Tilt the tire toward the vehicle with some slack in the cable to access the tire/wheel retainer. Separate the retainer from the guide pin by sliding the retainer up the pin while pressing down on the latch.

  9. Object Number: 1907332  Size: B2
  10. Once the retainer is separated from the guide pin, tilt the retainer and pull it through the center of the wheel along with the cable and guide latch.
  11. Put the spare tire near the flat tire.