GM Service Manual Online
For 1990-2009 cars only

Tools Required

    • J 5590 Crankshaft Sprocket Installer
    • J 8001 Dial Indicator Set
    • J 36797-A Seal Installer
    • J 44752 Bearing, Race, and Seal Installer
    • J 44753 Bearing and Seal Installer
    • J 44755 Holding Fixture
    • J 44757 Shim Selection Kit
    • J 44907 Bearing Installer
    • J 44908 Bearing Race Installer

Important: 

   • The transfer case is assembled for proper gear tooth clearances, backlash, and bearing preloads with selective shims.
   • Do not assemble the internal components dry. Lightly lubricate the bearing races, bearings, gears, and oil seals with the proper lubricant. Components in the transaxle portion of the transfer case should be lubricated with DEXRON III GM P/N 12378470 (Canadian P/N 10952622) or equivalent. Components in the hypoid gear portion of the transfer case should be lubricated with GM P/N 12378514 (Canadian P/N 88901045).

Differential Carrier Assembly


    Object Number: 630604  Size: SH
  1. Install the needle bearings (4 and 6) and washer (5) to the gear (3), if required.
  2. Install the pin (9), gear (3), and washers (1, 2, 7, and 8) to the differential carrier, if required.
  3. Install the ring (10) to the carrier, if required.

  4. Object Number: 630603  Size: SH
  5. Install the side gears (2), pinion gears (3), and washers (1 and 4) to the carrier, if required.

  6. Object Number: 630600  Size: SH
  7. Install the shaft (1) and roll pin (2) to the carrier, if required.

  8. Object Number: 791329  Size: SH

    Important: A comma is to be considered a decimal point.

  9. Determine if the drivenshaft has a plus, minus, or zero value (1) etched onto the end of the gear.
  10. If the drivenshaft has a plus, minus, or zero value etched onto the gear end, refer to Extension Housing Assembly and Shim Selection - Procedure A.


    Object Number: 791330  Size: SH
  11. Determine if the drivenshaft has a four-digit measured value (1) etched onto the end of the gear.
  12. If the drivenshaft has a four-digit number etched onto the gear end, refer to Extension Housing Assembly and Shim Selection - Procedure B.

Extension Housing Assembly and Shim Selection - Procedure A


    Object Number: 746870  Size: SH
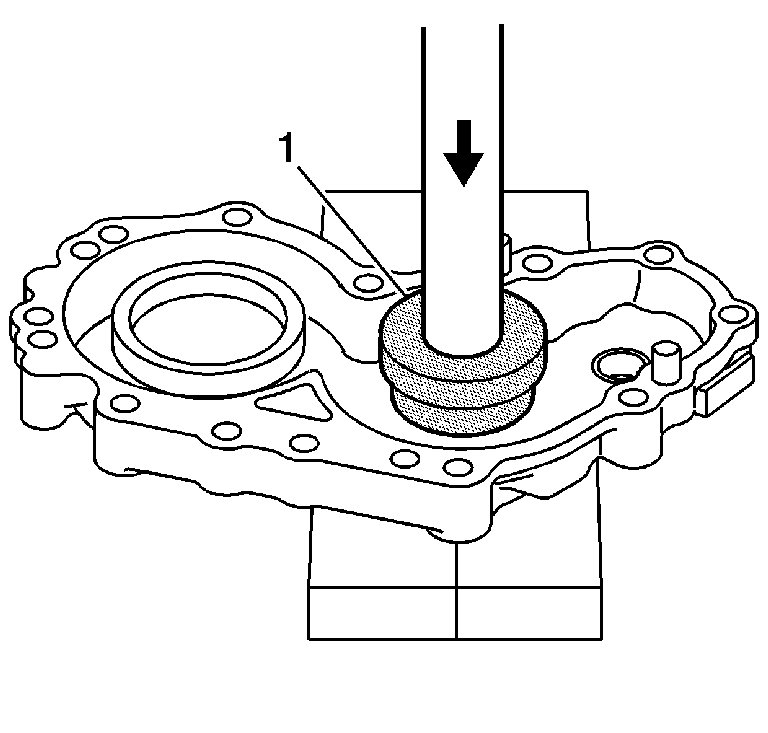
  1. Use the J 44908  (1) and a hydraulic press in order to install the outer bearing race to the extension housing.

  2. Object Number: 746875  Size: SH
  3. Use the J 44908  (1) and a hydraulic press in order to install the inner bearing race to the extension housing.

  4. Object Number: 659135  Size: SH
  5. Measure the distance between the flange on the driven shaft and the end of the pinion. Record the value as dimension B.

  6. Object Number: 659151  Size: SH
  7. Use the J 44907  (1) and a hydraulic press in order to install the inner bearing (2) to the drivenshaft.

  8. Object Number: 630587  Size: SH
  9. Install the drivenshaft (9), NEW spacer (5), and bearing (3) into the extension housing (6).

  10. Object Number: 659152  Size: SH
  11. Use the J 5590  (1) and a hydraulic press in order to install the bearing onto the shaft.

  12. Object Number: 746877  Size: SH
  13. Use the J 36797-A  (1) in order to install a new oil seal (2) into the extension housing (3).

  14. Object Number: 659154  Size: SH
  15. Lightly lubricate the splines of the drivenshaft with grease.
  16. Install the flange (1) onto the shaft using a hydraulic press.

  17. Object Number: 746838  Size: SH

    Notice: Use the correct fastener in the correct location. Replacement fasteners must be the correct part number for that application. Fasteners requiring replacement or fasteners requiring the use of thread locking compound or sealant are identified in the service procedure. Do not use paints, lubricants, or corrosion inhibitors on fasteners or fastener joint surfaces unless specified. These coatings affect fastener torque and joint clamping force and may damage the fastener. Use the correct tightening sequence and specifications when installing fasteners in order to avoid damage to parts and systems.

  18. Install the extension housing assembly (3) and bolts (1) to the J 44755  (2).
  19. Tighten
    Tighten the bolts to 25 N·m (18 lb ft).


    Object Number: 630580  Size: SH
  20. Install a new nut (1) onto the shaft.
  21. Tighten

        • Tighten the nut, with new bearings to 250 N·m (185 lb ft).
        • Tighten the nut, with used bearings to 200 N·m (148 lb ft).
  22. Remove the extension housing assembly and bolts from the J 44755 .

  23. Object Number: 754966  Size: SH
  24. Measure in both directions, the rotating torque of the drivenshaft. A properly assembled shaft and NEW bearings should have a rotating torque of 1.5 N·m (13 lb in). When reusing drivenshaft bearings, the rotating torque should equal the value recorded during disassembly. Tighten the flange nut as required to achieve the proper rotating torque value.

  25. Object Number: 659142  Size: SH
  26. Measure the distance between the end of the pinion and the extension housing seal surface. Record the value as dimension C.

  27. Object Number: 659136  Size: SH
  28. Install the J 44757-3 (2) into the bore of the housing (1).

  29. Object Number: 659138  Size: SH
  30. Install J 44757-9 (3) and bolts (2) to the housing (1).
  31. Tighten
    Tighten the bolts to 25 N·m (18 lb ft).


    Object Number: 659140  Size: SH
  32. Measure the distance (x) between the J 44757-3 and the J 44757-9 using a feeler gauge. Add the measured value (x) to 67.3 mm (2.65 in). Record the value as dimension D.

  33. Object Number: 754867  Size: SH
  34. Determine if the drivenshaft has a plus, minus, or zero value etched onto the end of the gear.
  35. Note that the handwritten 1 (1) and 7 (2) are similar. The 7 (2) will have a line drawn through the number. A comma is to be considered a decimal point.

  36. Calculate the extension housing shim thickness. Refer to the Extension Housing Shim Calculation Table - Procedure A in General Specifications .

Extension Housing Assembly and Shim Selection - Procedure B


    Object Number: 746870  Size: SH
  1. Use the J 44908  (1) and a hydraulic press in order to install the outer bearing race to the extension housing.

  2. Object Number: 746875  Size: SH
  3. Use the J 44908  (1) and a hydraulic press in order to install the inner bearing race to the extension housing.

  4. Object Number: 659151  Size: SH
  5. Use the J 44907  (1) and a hydraulic press in order to install the inner bearing (2) to the drivenshaft.

  6. Object Number: 630587  Size: SH
  7. Install the drivenshaft (9), NEW spacer (5), and bearing (3) into the extension housing (6).

  8. Object Number: 659152  Size: SH
  9. Use the J 5590  (1) and a hydraulic press in order to install the bearing onto the shaft.

  10. Object Number: 746877  Size: SH
  11. Use the J 36797-A  (1) in order to install a new oil seal (2) into the extension housing (3).

  12. Object Number: 659154  Size: SH
  13. Lightly lubricate the splines of the drivenshaft with grease.
  14. Install the flange (1) onto the shaft using a hydraulic press.

  15. Object Number: 746838  Size: SH

    Notice: Use the correct fastener in the correct location. Replacement fasteners must be the correct part number for that application. Fasteners requiring replacement or fasteners requiring the use of thread locking compound or sealant are identified in the service procedure. Do not use paints, lubricants, or corrosion inhibitors on fasteners or fastener joint surfaces unless specified. These coatings affect fastener torque and joint clamping force and may damage the fastener. Use the correct tightening sequence and specifications when installing fasteners in order to avoid damage to parts and systems.

  16. Install the extension housing assembly (3) and bolts (1) to the J 44755  (2).
  17. Tighten
    Tighten the bolts to 25 N·m (18 lb ft).


    Object Number: 630580  Size: SH
  18. Install a new nut (1) onto the shaft.
  19. Tighten

        • Tighten the nut, with new bearings to 250 N·m (185 lb ft).
        • Tighten the nut, with used bearings to 200 N·m (148 lb ft).
  20. Remove the extension housing assembly and bolts from the J 44755 .

  21. Object Number: 754966  Size: SH
  22. Measure in both directions, the rotating torque of the drivenshaft. A properly assembled shaft and NEW bearings should have a rotating torque of 1.5 N·m (13 lb in). When reusing drivenshaft bearings, the rotating torque should equal the value recorded during disassembly. Tighten the flange nut as required to achieve the proper rotating torque value.

  23. Object Number: 659142  Size: SH
  24. Measure the distance between the end of the pinion and the extension housing seal surface. Record the value as dimension C.

  25. Object Number: 791330  Size: SH
  26. Determine the four-digit value (1) on the end of the drivenshaft gear.
  27. A comma is to be considered a decimal point. Record the value as dimension E.


    Object Number: 659136  Size: SH
  28. Install the J 44757-3 (2) into the bore of the housing (1).

  29. Object Number: 659138  Size: SH
  30. Install J 44757-9 (3) and bolts (2) to the housing (1).
  31. Tighten
    Tighten the bolts to 25 N·m (18 lb ft).


    Object Number: 659140  Size: SH
  32. Measure the distance (x) between the J 44757-3 and the J 44757-9 using a feeler gauge. Add the measured value (x) to 67.3 mm (2.65 in). Record the value as dimension D.
  33. Calculate the extension housing shim thickness. Refer to Extension Housing Shim Calculation Table - Procedure B in General Specifications .

Gears and Cases Assembly


    Object Number: 746878  Size: SH
  1. Use the J 5590  (1) and a hydraulic press in order to install the bearings onto the idler gear.

  2. Object Number: 671801  Size: SH
  3. Use the J 44752  (1) and a hydraulic press in order to install the bearing race into the cover-left.

  4. Object Number: 746879  Size: SH
  5. Install the idler gear (2) and bearing race (1) to the case-left.

  6. Object Number: 659130  Size: SH
  7. Inspect the gear for proper installation. The side of the gear with the long flange area (1) should be installed to the case-right side.

  8. Object Number: 746880  Size: SH
  9. Install the J 44757-1  (1) to the idler gear and race.

  10. Object Number: 746881  Size: SH
  11. Install the cover-right (1), bolts (2), and J 44757-8 (3) to the case-left.
  12. Tighten
    Tighten the bolts to 25 N·m (18 lb ft).


    Object Number: 746882  Size: SH
  13. Using a feeler gauge, measure the gap (1) in the J 44757-1 . The measured amount is the idler gear bearing shim thickness.
  14. Disassemble the case-right and tools from the case-left.

  15. Object Number: 659159  Size: SH
  16. Install the selected idler gear bearing shim (2) and bearing race (1) to the case-right.

  17. Object Number: 746885  Size: SH
  18. Use the J 44752  (1) and a hydraulic press in order to install the bearing race to the case-right.

  19. Object Number: 659159  Size: SH
  20. Install the driveshaft bearing (3) to the case-right.

  21. Object Number: 746886  Size: SH
  22. Use the J 44753  (1) and a hydraulic press in order to install the bearing to the case-right.

  23. Object Number: 746889  Size: SH
  24. Use the J 44753  (1) to install the oil seal-transaxle side (2) to the case-left. Install until the seal bottoms in the case-left bore.

  25. Object Number: 746888  Size: SH
  26. Use the J 44753  (1) to install the oil seal-gear oil side (2) to the case-left. Install until the tool bottoms against the case-left.

  27. Object Number: 746890  Size: SH
  28. Use the J 44908  (1) and a hydraulic press in order to install the bearing races to the case-left.

  29. Object Number: 659151  Size: SH
  30. Use the J 44907  (1) and a hydraulic press in order to install the inner bearing (2) to the driveshaft.

  31. Object Number: 630595  Size: SH

    Important: The J 44757-7 shim is installed to create measurable end play and to assist in determining the proper size shim for bearing preload.

  32. Assemble the shaft (1), J 44757-7 shim (5), and bearing (7) to the case-left.

  33. Object Number: 746891  Size: SH
  34. Use the J 5590  (1) and a hydraulic press in order to install the shaft, J 44757-7 shim, and bearing to the case-left.

  35. Object Number: 746893  Size: SH
  36. Install the J 44757-2 (5) onto the driveshaft. Tighten until snug.
  37. Install the J 44757-6 (4), J 44757-8 (1), bolts (2), and nuts and washers (3) to the case-left.
  38. Tighten
    Tighten the bolts to 25 N·m (18 lb ft).

  39. Rotate the driveshaft, multiple times in both directions to ensure the bearing rollers are seated to the bearing races.

  40. Object Number: 746894  Size: SH
  41. Install J 8001  (3) onto the J 44757-6. Position the tip (2) of the indicator onto the end of the J 44757-2.
  42. Tighten the nut (4) of the J 44757-2 to preload to the bearings and position the shaft at the bottom of travel. Use a second wrench to hold the J 44757-2 shaft. Observe the needle on the dial. When the needle movement stops, the shaft is at bottom of travel.
  43. Zero the dial indicator.
  44. Loosen and back-off the nut (4).
  45. Tighten the nut (1) to preload the bearings and position the shaft at the top of travel. Use a second wrench to hold the J 44757-2 shaft.
  46. Record the measured value on the dial indicator. Subtract the measured value from 6.0 mm (0.236 in) in order to determine the driveshaft shim required for proper bearing installation and preload.

  47. Object Number: 630595  Size: SH
  48. Disassemble the shaft (1), bearing (7), and J 44757-7 shim (5) from the case-left.
  49. Install the proper size shim (5), shaft (1), bearing (7), and gear (8) to the case-left.

  50. Object Number: 659155  Size: SH
  51. Lightly lubricate the splines of the driveshaft with grease.
  52. Use the J 5590  (1) and a hydraulic press in order to install the bearing, proper size shim, and gear (2) onto the shaft.

  53. Object Number: 746840  Size: SH
  54. Install the case-left (2) onto the J 44755  (1). Align the notched area of the tool with the flat areas of the driveshaft.

  55. Object Number: 630593  Size: SH
  56. Install a new nut (1) onto the driveshaft.
  57. Tighten
    Tighten the nut to 505 N·m (372 lb ft).

  58. Measure the rotating torque of the driveshaft. A properly assembled shaft and bearings should have a rotating torque of 1.5 N·m (13 lb in).

  59. Object Number: 746895  Size: SH
  60. Use the J 44752  (1) and a hydraulic press in order to install the carrier bearing race-inner to the case-right.

  61. Object Number: 746896  Size: SH
  62. Use the J 44752  (1) and a hydraulic press in order to install the carrier bearing race-outer to the case-right.

  63. Object Number: 746897  Size: SH
  64. Use the J 44752  (1) and a hydraulic press in order to install the bearing-inner to the differential carrier.

  65. Object Number: 630599  Size: SH

    Important: The J 44757-4 shim is installed to create measurable end play and assist in determining the proper size shim for bearing preload.

  66. Install the carrier (8), J 44757-4 shim (6), and bearing (2) to the case-right.

  67. Object Number: 659133  Size: SH
  68. Use the J 44752  (1) and a hydraulic press in order to install the carrier, J 44757-4 shim, and bearing to the case-right.

  69. Object Number: 746847  Size: SH
  70. Install the case-right (1) onto the J 44755  (2). Position the carrier onto the post of the fixture.

  71. Object Number: 746892  Size: SH
  72. Install the J 44757-5 (5) onto the carrier. Tighten until snug.
  73. Install the J 44757-6 (4), J 44757-8 (1), bolts (2), nuts and washers (3), and nuts (6) to the case-right.
  74. Tighten
    Tighten the bolts to 25 N·m (18 lb ft).

  75. Rotate the differential carrier multiple times in both directions to ensure the bearing rollers are seated to the bearing races.

  76. Object Number: 746894  Size: SH
  77. Install J 8001  (3) onto the J 44757-6. Position the tip (2) of the indicator onto the end of the J 44757-5.
  78. Tighten the nut (4) of the J 44757-5 to preload to the bearings and position the differential carrier at the bottom of travel. Use a second wrench to hold the J 44757-5 shaft. Observe the needle on the dial. When the needle movement stops, the carrier is at bottom of travel.
  79. Zero the dial indicator.
  80. Loosen and back-off the nut (4).
  81. Tighten the nut (1) to preload the bearings and position the carrier at the top of travel. Use a second wrench to hold the J 44757-5 shaft.
  82. Record the measured value on the dial indicator. Subtract the measured value from 10 mm (0.394 in) in order to determine the carrier shim required for proper bearing installation and preload.

  83. Object Number: 630599  Size: SH
  84. Disassemble the carrier (8), bearing (2), and J 44757-4 shim (6) from the case-right.
  85. Install the proper size shim (6), carrier (8), and bearing (2) to the case-right.

  86. Object Number: 659133  Size: SH
  87. Use the J 44752  (1) and a hydraulic press in order to install the shaft, proper size shim, and bearing to the case-right.

  88. Object Number: 630597  Size: SH
  89. Install the nut (1) to the differential carrier.
  90. Tighten
    Tighten the nut to 500 N·m (369 lb ft).

  91. Measure the rotating torque of the carrier. A properly assembled carrier and bearings should have a rotating torque of 1.5 N·m (13 lb in).
  92. Using a punch, stake the flange of the nut to the groove in the carrier shaft.

  93. Object Number: 747660  Size: SH
  94. Use the J 44752  (1) in order to install the seal (2) to the case-right.

  95. Object Number: 746847  Size: SH
  96. Remove the case-right (1) and carrier from the J 44755  (2).

  97. Object Number: 754869  Size: SH
  98. Install a random size shim (3), housing (2), and bolts (1 and 4) to the case-left.
  99. Tighten

        • Tighten the M8 bolts to 32 N·m (23 lb ft).
        • Tighten the M10 bolts to 60 N·m (44 lb ft).

    Object Number: 630584  Size: SH
  100. Apply sealant GM P/N 12346004 (Canadian P/N 10953480) or equivalent to both sides of the shim (2).
  101. Install the housing (1), selected shim (2), and bolts (3) to the housing.
  102. Tighten
    Tighten the bolts to 32 N·m (23 lb ft).


    Object Number: 659148  Size: SH
  103. Install an M8 x 1.25 bolt (1) into a threaded hole in the flange.
  104. Position the top of J 8001  (2) against the flat area of the bolt.

  105. Object Number: 754871  Size: SH
  106. Install a wrench or socket onto the nut (1) of the driveshaft. Do not allow the shaft to rotate or move when measuring backlash.
  107. Rotate the flange (2) left and right in order to measure the drive and driven shafts gear backlash. Measure the backlash in multiple locations. The correct gear backlash is 0.2-0.3 mm (0.0078-0.0118 in).

  108. Object Number: 659147  Size: SH
  109. Select and install the correct shim (4) to obtain the proper backlash. A change in shim thickness has a one-to-one ratio and change in gear backlash.
  110. • A thicker shim will increase backlash.
    • A thinner shim will decrease backlash.
  111. Install a new O-ring (5) during final assembly.

  112. Object Number: 630596  Size: SH
  113. Apply sealant GM P/N 12346004 (Canadian P/N 10953480) or equivalent to the sealing surfaces of the case-right.
  114. Install the idler gear (1) to the case-right.

  115. Object Number: 659130  Size: SH
  116. Install the idler gear into the case-right. The side of the gear with the long flange area (1) should be installed to the case-right.

  117. Object Number: 630592  Size: SH
  118. Rotate the J 44755 90 degrees.
  119. Install the case-right (2) to the case-left (1).

  120. Object Number: 630591  Size: SH
  121. Install the bolts (1) to the case.
  122. Tighten
    Tighten the bolts to 60 N·m (44 lb ft).


    Object Number: 630579  Size: SH
  123. Install the speed sensor (1) and O-ring.

  124. Object Number: 630581  Size: SH
  125. Install the hose and clamp (1), vent hose (2), and bolt (3).
  126. Tighten
    Tighten the vent hose/speed sensor bolt to 30 N·m (22 lb ft).


    Object Number: 630590  Size: SH
  127. Install the transmission oil drain plug (1) and gasket.
  128. Tighten
    Tighten the drain plug to 32 N·m (24 lb ft).


    Object Number: 630583  Size: SH
  129. Install the gear oil drain plug (1) and gasket.
  130. Tighten
    Tighten the drain plug to 32 N·m (24 lb ft).

    Important: The end play clearance between the transmission and transfer case internal components is adjusted by selection of the proper size selective washer located behind the transmission sun gear. The transmission-to-transfer case washer selection procedure must be performed each time a transmission and/or transfer case assembly or the internal components, excluding gaskets and seals, are replaced.

  131. Perform the transfer case selective washer measurement procedure as required. Refer to Transmission to Transfer Case End Play Check in Transmission Unit Repair 4T65-E.