GM Service Manual Online
For 1990-2009 cars only

    Caution: The compressed natural gas (CNG) fuel tank internal pressure must be completely vented before attempting to remove the external pressure relief device (PRD). Refer to Fuel Tank Venting Procedure. Failure to perform the venting procedure could result in CNG fuel tank damage and personal injury.

    Important: This procedure only relieves compressed natural gas (CNG) fuel line pressure. The tank will remain pressurized. Perform the Fuel Tank Venting after this procedure has been completed if any of the following components require service:

       • High pressure lock-off (HPL) solenoid
       • CNG fuel tank
       • Type 4 CNG fuel tank external pressure relief device (PRD)

  1. With a scan tool communicate with the powertrain control module (PCM).
  2. If communication cannot be established and the Diagnostic System Check - Alternative Fuels (Engine Controls) has already been performed proceed to Step 9.

  3. Store the DTC Information with a scan tool.
  4. Clear the DTC Information with a scan tool.
  5. Turn OFF the ignition.
  6. Important: If the engine fails to operate on CNG or start at all, proceed to Step 9.

  7. Start and idle the engine.
  8. Ensure that the engine is operating on CNG by observing the following:
  9. • The fuel indicator lamp (FIL) is OFF (KL6).
    • The AFO Enable scan tool display indicates the engine is operating on alternative fuel.
  10. With a scan tool, select the high pressure lock-off (HPL) solenoid special function.
  11. While the engine is operating on CNG command the HPL solenoid OFF and observe the fuel tank pressure sensor data parameter. The fuel tank pressure should slowly decrease.
  12. If the fuel pressure fails to decrease proceed to Step 9.

    When the engine stalls or a switch-over to gasoline is observed, perform the following:

    8.1. Turn OFF the ignition.

            Important: Turning the ignition ON with the AF lock-off relay disconnected may set a DTC. Clear DTC Information after repairs are complete.

    8.2. Disconnect the alt. fuels lock-off relay connector in order to disable the CNG fuel system.
    8.3. A small amount of CNG will remain in the fuel lines and components. Slowly open the fittings in order to release any remaining pressure when disconnecting a fuel line.
    8.4. Fuel pressure relief for the CNG system is now complete. Proceed to Step 16.

    Object Number: 296441  Size: SH
  13. Close the manual lock-down screw located on the end of the HPL solenoid. The manual shut-off fitting is closed by rotating the allen screw clockwise until fully seated.
  14. Turn OFF the ignition.
  15. Disconnect the negative battery cable. Refer to Battery Negative Cable Disconnection and Connection in Engine Electrical in the C/K Truck service manual.
  16. Caution: When relieving the Compressed Natural Gas (CNG) fuel system pressure, take the following precautions in order to prevent fire and personal injury:

       • Vent the CNG fuel system in a well ventilated work area.
       • Keep sparks, flames, and smoking material away from the area.
       • Wear the appropriate hearing protection during the venting procedure. A sudden pressure loss from an uncontrolled gas leak can cause hearing damage.


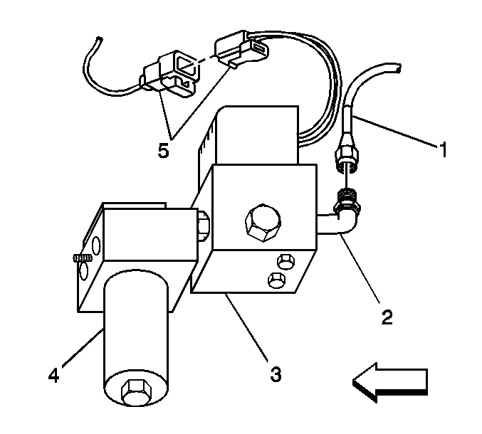
    Object Number: 756969  Size: SH
  17. Slowly loosen the fuel line fitting (1) at the low pressure lock-off solenoid elbow (2) several turns.
  18. Fuel Pressure Relief for the CNG system is complete when the fuel line can be pulled away from the O-ring face seal and fuel does not vent.
  19. Caution: Natural gas is stored under high pressure. If a leak occurs, the high pressure could cause a personal injury. In order to prevent Compressed Natural Gas (CNG) fuel leaks, always replace the CNG fuel system O-rings during service.

  20. Replace the O-ring face seals at all fittings that were disconnected or loosened.
  21. After all necessary repairs are complete perform the following:
  22. 15.1. Tighten any loosened fittings to the correct torque. Refer to Fastener Tightening Specifications

            Important: Leave the manual lock-down screw closed on any vehicle that will require CNG fuel tank venting.

    15.2. Open the manual lock-down screw located on the HPL manual shut-off fitting by rotating the allen screw counter-clockwise until fully seated on any vehicle that does not require venting of the CNG fuel tanks.

    Important: If the service necessary for the vehicle requires that the ignition be turned ON with CNG components or lines disconnected, keep the alt. fuels lock-off relay disconnected in order to prevent CNG fuel venting during an ignition ON prime pulse. Turning the ignition ON with the AF lock-off relay disconnected may set a DTC. Clear DTC Information after repairs are complete.

  23. If the service necessary for the vehicle requires the CNG fuel tanks to be relieved of all internal pressure, refer to Fuel Tank Venting