GM Service Manual Online
For 1990-2009 cars only

Fuel System Overview

The fuel system is controlled by the control module located in the engine compartment. The control module is the control center of the system.

The basic function of the fuel system is to control fuel delivery to the engine under all operating conditions. The following two types of fuel injection systems deliver the fuel to the engine:

    • The Central Sequential Fuel Injection (Central SFI) (4.3L, 5.0L, 5.7L)
    • The Sequential Fuel Injection (SFI) (7.4L only)

The main control sensor is the heated oxygen sensor (HO2S). The HO2S is located in the exhaust manifold. The HO2S tells the control module the amount of oxygen in the exhaust gas. The control module changes the air to fuel ratio to the engine by controlling the fuel injector. Efficient catalytic converter operation requires a 14.7:1 air to fuel ratio. Because the constant measuring and adjusting of the air to fuel ratio, the fuel injection system is called a Closed Loop system.

Several other important engine operation parameters include the following items:

    • The engine speed
    • The manifold pressure
    • The engine coolant temperature
    • The throttle position

These parameters determine the mode of engine operation.

The following are the 3 separate classifications of fuel systems:

    • The Central Sequential Fuel Injection (Central SFI) (4.3L, 5.0L, 5.7L)
    • The Sequential Fuel Injection (MFI) (7.4L)
    • The fuel supply system

Modes of Operation

The control module monitors the voltages from several sensors in order to determine how much fuel to give the engine. The fuel is delivered under one of several conditions called modes. The control module controls all of the modes.

Starting Mode

When the ignition switch is turned to the ON position, before engaging the starter, the control module energizes the fuel pump relay for 2 seconds allowing the fuel pump to build up pressure. The control module then checks the engine coolant temperature (ECT) sensor and the throttle position (TP) sensor in order to determine the proper air and fuel ratio for starting. The control module controls the amount of fuel delivered in the starting mode by changing how long the injectors are energized. This is done by pulsing the injectors for very short times.

Clear Flood Mode

If the engine floods, clear the engine by depressing the accelerator pedal down to the floor. The control module then pulses the injector at a 16.5:1 air to fuel ratio. The control module holds this injector rate as long as the throttle stays wide open and the engine is below 600 RPM. If the throttle position becomes less than 65 percent, the control module returns to the starting mode.

Run Mode

The Run Mode is the mode under which the engine operates most of the time. In this mode, the engine operates in either Open Loop or Closed Loop.

Open Loop

When the engine is first started and it is above 400 RPM, the system goes into the open loop operation. In the open loop, the control module ignores the signal from the HO2S, and the control module calculates the air to fuel ratio based on the inputs from the engine coolant temperature (ECT) sensor and manifold absolute pressure (MAP) sensor.

The system stays in open loop until the following conditions are met:

  1. The HO2S has varying voltage output, showing that it is hot enough to operate properly. This depends on engine temperature.
  2. The engine coolant temperature (ECT) sensor is above a specified temperature.
  3. A specific amount of time has elapsed after starting the engine.

A normal functioning system may go into an open loop at idle if the heated oxygen sensor (HO2S) temperature drops below the minimum requirement to produce the voltage fluctuation.

Closed Loop

The specific values for the above conditions vary with different engines. When these conditions are met, the systems goes into a closed loop operation. In a closed loop, the control module calculates the air to fuel ratio (injector on-time) based on the signal from the HO2S. This allows the air to fuel ratio to stay very close to 14.7:1.

Acceleration Mode

When the control module senses rapid changes in the throttle position and the manifold pressure, the system enters the acceleration mode. The system provides the extra fuel needed for smooth acceleration.

Deceleration Mode

When the driver releases the accelerator pedal, the air flow into the engine is reduced. The corresponding changes in the throttle position and the manifold air pressure are relayed to the control module, which reduces the injector pulse width, in order to reduce the fuel flow. If the decel is very rapid, or for long periods (such as long closed throttle coast-down), the control module shuts OFF the fuel completely in order to protect the catalytic converter.

Fuel Cutoff Mode

In order to prevent possible engine damage from over-speed, the control module cuts off fuel from the fuel injectors when the engine speed is above approximately 5,500 RPM with the vehicle in any forward gear or reverse. In order to prevent tire damage, the control module also has a fuel cutoff in excess of 108 mph (173 km/h) based on the speed rating of the tires.

Fuel is also cutoff during rapid deceleration. See Deceleration Mode.

Converter Protection Mode

The control module constantly monitors engine operation and estimates the conditions that could result in high converter temperatures. If the control module determines the converter may overheat, this causes the system to return to the Open Loop operation and enriches the fuel mixture.

Battery Voltage Correction Mode

When battery voltage is low, the control module can compensate for a weak spark delivered to the distributor by increasing the following items:

    • The injector ON time
    • The idle RPM
    • The ignition dwell time

Controlled Idle Speed

Engine

Transmission

Gear (Drive/Neutral) (1)

Idle Speed (RPM)

IAC Counts (2)

Open/Closed Loop (3)

4.3L

Automatic

Manual

Drive

Neutral

600±25

700±25

Varies

Varies

Closed Loop

Closed Loop

5.0L

Automatic

Manual

Drive

Manual

700±25

700±25

Varies

Varies

Closed Loop

Closed Loop

5.7L (Under 8500 GVW)

Automatic

Manual

Drive

Manual

550±25

675±25

Varies

Varies

Closed Loop

Closed Loop

5.7L (Over 8500 GVW)

Automatic

Manual

Drive

Manual

550±25

675±25

Varies

Varies

Closed Loop

Closed Loop

7.4L

Automatic

Manual

Drive

Manual

600±25

725±25

Varies

Varies

Closed Loop

Closed Loop

Important: The engine should be at operating temperature 92°C to 104°C (196°F to 222°F).

(1) On manual transmission vehicles, the scan tool will display RDL in neutral

(2) Add 2 counts for engines with less than 500 miles. Add 2 counts for every 1000 ft. above sea level (4.3L and V8).

(3) Let the engine idle until the engine reaches proper fuel control status (Open/Closed Loop).

Fuel System Central SFI

Purpose

The function of the fuel metering system is to deliver the correct amount of fuel to the engine under all operating conditions.

Fuel is delivered to the engine by individual fuel injectors and poppet nozzles mounted in the intake manifold near each cylinder.

Fuel Metering System Components

The fuel metering system consists of the following parts:

    • The fuel supply components (fuel tank, pump, lines)
    • The fuel pump electrical circuit
    • The fuel meter body assembly which includes the following components:
       - The fuel injectors and poppet nozzles
       - The fuel pressure regulator
       - The electrical wiring harness
    • The upper manifold assembly which includes the following items:
       - The throttle body
       - The Idle Air Control (IAC) valve
       - The Throttle Position (TP) sensor
       - The Manifold Absolute Pressure (MAP) sensor

Fuel Supply Components

The fuel supply is stored in the fuel tank. An electric fuel pump, located in the fuel tank with the gauge sending unit, pumps fuel through an in-line fuel filter to the fuel meter body assembly.

The pump provides fuel at a pressure greater than is needed by the injectors. The fuel pressure regulator, part of the fuel meter body assembly, keeps the fuel to the injectors at a regulated pressure. The unused fuel is returned to the fuel tank via a separate line.

Fuel Pump Electrical Circuit

When the ignition switch is turned to the ON position (before engaging the starter), the VCM energizes the fuel pump relay for 2 seconds causing the fuel pump to pressurize the fuel system. If the VCM does not receive the ignition reference pulses (engine cranking or running) within 2 seconds, the control module shuts off the fuel pump relay, causing the fuel pump to stop.

As a backup system to the fuel pump relay, the fuel pump oil pressure switch can energize the fuel pump. The switch has 2 internal circuits. One circuit operates the oil pressure indicator or gage in the instrument cluster. The other circuit is a normally open switch which closes when the oil pressure reaches about 28 kPa (4 psi). If the fuel pump relay fails, the fuel pump oil pressure switch runs the fuel pump.

An inoperative fuel pump relay can result in long cranking times, particularly if the engine is cold. The fuel pump oil pressure switch energizes the fuel pump as soon as oil pressure reaches about 28 kPa (4 psi).

Fuel Meter Body Assembly


Object Number: 13120  Size: MF
(1)Fuel Pressure Regulator Assembly
(2)Fuel Meter Body
(3)Fuel Line
(4)Fuel Injector Assembly
(5)Poppet Nozzle
(6)Fuel Pressure Regulator Assembly Retainer

The fuel meter body assembly is mounted to the lower portion of the intake manifold. The assembly performs the following functions:

    • Allows for an even distribution of fuel to the injectors
    • Integrates the fuel pressure regulator into the fuel metering system

Injectors and Poppet Nozzles


Object Number: 13104  Size: SH

Each fuel injector assembly is a solenoid-operated device, controlled by the VCM. The fuel injector assembly meters the pressurized fuel through a poppet nozzle (5) to a single engine cylinder.

The VCM energizes the injector solenoid, which opens an armature valve (3), allowing fuel to flow past the ball valve and through a fuel tube (1) to the poppet nozzle.

An increase in fuel pressure causes the poppet nozzle ball to open from its seat against the extension spring force. This allows the fuel to flow from the nozzle (at approximately 280 kPa (40 psi)).

De-energizing the injector solenoid (4) closes the armature. De-energizing also reduces the fuel pressure acting on the poppet nozzle ball. The extension spring closes the ball to the seat (2). The extension spring also checks the pressure between the ball and seat and the injector armature and fuel tube shutoff.

An injector poppet nozzle that is stuck partly open would cause a loss of pressure after the engine shut down. Consequently, the driver would notice long cranking times on some engines. Dieseling could also occur because the fuel injector could deliver some fuel to the engine after the driver turns the ignition to OFF. These components are diagnosed in The Injector Balance Test and The Injector Coil Test. Refer to Fuel Injector Balance Test for V6. Refer to Fuel Injector Balance Test for V8. Refer to Fuel Injector Coil Test .

Fuel Pressure Regulator Assembly


Object Number: 12850  Size: SH

The fuel pressure regulator (1) is a diaphragm-operated cartridge relief valve with the fuel pump pressure on one side and the regulator spring pressure and intake manifold vacuum on the other. A retainer (2) holds the fuel pressure regulator.

The regulator's function is to maintain a constant pressure differential across the injectors at all times. The pressure regulator compensates for engine load by increasing the fuel pressure as engine vacuum drops.

With the ignition ON leaving the engine off (zero vacuum), the fuel pressure at the pressure test connection should be 415-455 kPa (60-66 psi). If the pressure is too low, poor performance could result. If the pressure is too high, excessive odor may result. The Fuel System Diagnosis has information on diagnosing fuel pressure conditions. Refer to Fuel System Diagnosis (Diagnosis) for V6. Refer to Fuel System Diagnosis for V8.

Throttle Body Assembly


Object Number: 12887  Size: SH

The throttle body assembly is a downdraft design. The throttle body is mounted on the intake manifold plenum. The VCM uses the throttle body in order to control the air flow into the engine, thereby, controlling the engine output.

The throttle valve within the throttle body is opened by the driver through the accelerator controls. During the engine idle, the throttle valve is almost closed, and the iIdle air control (IAC) valve handles the air flow control.

The throttle body also provides the location for mounting the throttle position (TP) sensor. The throttle body also senses changes in the engine vacuum due to the throttle valve position. The vacuum ports are located at, above, or below the throttle valve in order to generate the vacuum signals that are needed by the various components.

Idle Air Control (IAC) Valve Assembly

The purpose of the IAC valve assembly is to control the engine idle speed while preventing engine stalls due to changes in the engine load.

The IAC valve, mounted in the throttle body assembly, controls the bypass air around the throttle valve. By moving a conical valve known as a pintle IN toward the seat (in order to decrease the air flow), or OUT away from the seat (in order to increase the air flow), a controlled amount of air moves around the throttle valve.

If the engine speed is too low, more air is bypassed around the throttle valve in order to increase the RPM. If the engine speed is too high, less air is bypassed around the throttle valve in order to decrease the RPM.

The VCM moves the IAC valve in small steps, called counts which can be measured by using a scan tool connected to the Data Link Connector (DLC).

During idle, the proper position of the IAC valve is calculated by the VCM. This position is based on the battery voltage, the engine coolant temperature, the engine load, and the engine RPM. If the RPM drops below specification and the throttle valve is closed, the VCM senses a near stall condition, and then the VCM calculates a new valve position in order to prevent stalling.

If the IAC valve is disconnected and reconnected while the engine is running, the resulting idle RPM may be wrong. This will require the resetting of the IAC valve.

After running the engine, the IAC valve will reset when the ignition is turned OFF. The IAC valve should only be disconnected or connected with the ignition OFF.

If the VCM is without battery power for any reason, the programmed position of the IAC valve pintle is lost. The control module replaces the lost position with a default value. In order to return the IAC valve pintle to the correct position, see the Idle Learn Procedure.

The IAC valve affects the idle characteristics of the vehicle. A fully retracted valve allows too much air into the manifold causing a high idle speed. A valve which is stuck closed allows too little air in the manifold, causing a low idle speed. If the valve is stuck part way open, the idle may be rough, and the idle will not respond to the engine load changes.

Throttle Position (TP) Sensor

The non-adjustable TP sensor is mounted on the throttle body assembly opposite the throttle lever. The TP sensor senses the throttle valve angle and relays that information to the VCM. Knowledge of throttle angle is one of the inputs needed by the VCM to generate the required injector control signals (pulses). For further information on replacement, refer to TP Sensor Replacement .

Fuel System SFI

Purpose

The function of the fuel metering system is to deliver the correct amount of fuel to the engine under all operating conditions.

Fuel is delivered to the engine by individual fuel injectors mounted in the intake manifold near each cylinder.

Fuel Metering System Components

The fuel metering system consists of the following parts:

    • The fuel pump electrical circuit
    • The fuel supply components (fuel tank, pump, lines)
    • The fuel rail assembly which includes the following components:
       - The fuel injectors
       - The fuel pressure regulator
       - The electrical wiring harness
    • The lower manifold assembly which includes MAP sensor.
    • The throttle body assembly including the following items:
       - The Idle Air Control (IAC) valve assembly
       - The Throttle Position (TP) sensor

Fuel Supply Components

The fuel supply is stored in the fuel tank. An electric fuel pump, located in the fuel tank with the gauge sending unit, pumps fuel through an in-line fuel filter to the fuel meter body assembly.

The pump provides fuel at a pressure greater than is needed by the injectors. The fuel pressure regulator, part of the fuel meter body assembly, keeps the fuel to the injectors at a regulated pressure. The unused fuel is returned to the fuel tank via a separate line.

Fuel Pump Electrical Circuit

When the ignition switch is turned to the ON position (before engaging the starter), the VCM energizes the fuel pump relay for 2 seconds causing the fuel pump to pressurize the fuel system. If the VCM does not receive the ignition reference pulses (engine cranking or running) within 2 seconds, the control module shuts off the fuel pump relay, causing the fuel pump to stop.

As a backup system to the fuel pump relay, the fuel pump oil pressure switch can energize the fuel pump. The switch has 2 internal circuits. One circuit operates the oil pressure indicator or gage in the instrument cluster. The other circuit is a normally open switch which closes when the oil pressure reaches about 28 kPa (4 psi). If the fuel pump relay fails, the fuel pump oil pressure switch runs the fuel pump.

An inoperative fuel pump relay can result in long cranking times, particularly if the engine is cold. The fuel pump oil pressure switch energizes the fuel pump as soon as oil pressure reaches about 28 kPa (4 psi).

Fuel Rail Assembly


Object Number: 13123  Size: MH
(1)Fuel Rail Assembly
(2)Regulator Retainer Clip
(3)Fuel Pressure Regulator Assembly
(4)Back-up Ring
(5)Regulator Seal O-ring
(6)Regulator Filter
(7)Regulator Seal O-ring
(8)Fuel Injector Wiring Harness
(9)Wiring Harness Retainer Clip
(10)SFI Fuel Injector Retainer Clip
(11)SFI Fuel Injector Upper O-ring
(12)SFI Fuel Injector Assembly
(13)Back-up O-ring
(14)SFI Fuel Injector Lower O-ring
(15)Fuel Pressure Connection Cap
(16)Fuel Pressure Connection Core Assembly

The fuel rail assembly is made up of a single in-line composite rail which delivers fuel to the fuel injectors. Unused fuel returns to the fuel tank via the fuel pressure regulator assembly. The fuel rail is mounted to the lower section of the intake manifold and distributes fuel to the cylinders through the individual fuel injectors. Fuel is delivered from the fuel pump through the fuel feed line to the inlet fitting on the limited recirculation deadheaded fuel rail. From there it is directed to the main plastic supply conduit via an inlet tube. Fuel flows through the main conduit supplying fuel at the same pressure to each of the fuel injectors. Fuel in excess of injector needs, flows immediately back through the pressure regulator assembly via a bypass tube immediately located just pass the inlet fitting on the fuel rail. The pressure regulator assembly maintains correct system pressure. Fuel then flows from the pressure regulator through the fuel return line back to the fuel tank.

Fuel Injector Assembly


Object Number: 13106  Size: SH
(1)SFI Fuel Injector Retainer Clip
(2)SFI Fuel Injector Upper O-ring
(3)SFI Fuel Injector Assembly
(4)Back-up O-ring
(5)SFI Fuel Injector Lower O-ring

Caution: This composite fuel rail design utilizes a unique injector clip design. This clip design does not permit the rail and injector assembly to be pressurized with fuel pump pressure when the rail assembly is not secured in the engine manifold. Pressurizing the rail assembly without the injector secured in the engine manifold may cause high pressure fuel to bypass the upper injector O-ring seal resulting in a fuel leak.

Do Not apply fuel pressure to the fuel rail assembly unless the fuel rail assembly is properly secured in the engine manifold.

The fuel injector assembly is a solenoid-operated device, controlled by the VCM, that meters pressurized fuel to a single engine cylinder. The VCM energizes the injector solenoid, which opens a ball valve, allowing fuel to flow past the ball valve and through a recessed flow director plate. The director plate has machined holes that control the fuel flow, generating a conical spray pattern of finely atomized fuel at the injector tip. Fuel is directed at the intake valve, causing it to become further atomized and vaporized before entering the combustion chamber.

An injector that is stuck partly open would cause loss of pressure after engine shut down, so long cranking times would be noticed on some engines. Dieseling could also occur because some fuel could be delivered to the engine after the ignition is turned OFF.

Fuel Pressure Regulator Assembly


Object Number: 13105  Size: SH
(1)Regulator Retainer Clip
(2)Fuel Pressure Regulator Assembly
(3)Back-up Ring
(4)Regulator Seal O-ring
(5)Regulator Filter
(6)Regulator Seal O-ring

The fuel pressure regulator is a diaphragm-operated cartridge relief valve with the fuel pump pressure on one side and the regulator spring pressure and intake manifold vacuum on the other. A retainer holds the fuel pressure regulator.

The regulator's function is to maintain a constant pressure differential across the injectors at all times. The pressure regulator compensates for engine load by increasing the fuel pressure as engine vacuum drops.

With the ignition ON leaving the engine off (zero vacuum), the fuel pressure at the pressure test connection should be 385-430 kPa (56-62 psi). If the pressure is too low, poor performance could result. If the pressure is too high, excessive odor may result. The Fuel System Diagnosis has information on diagnosing fuel pressure conditions. Refer to Fuel System Diagnosis .

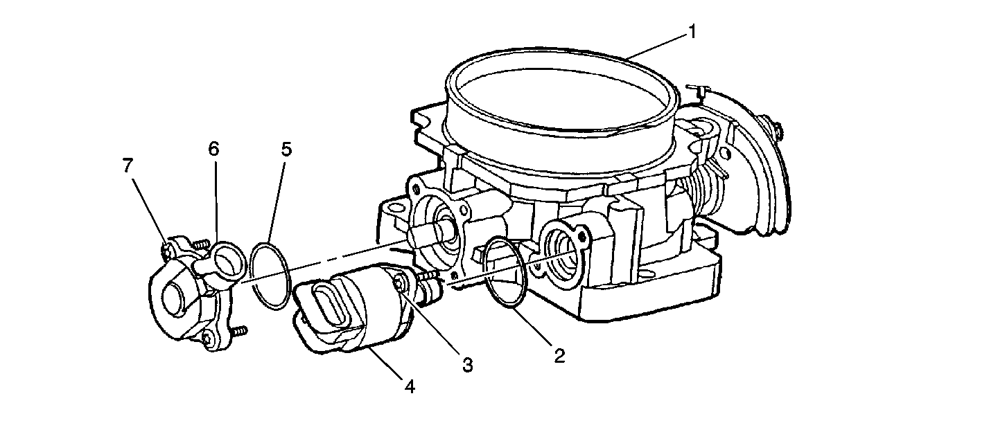
Throttle Body Assembly


Object Number: 13111  Size: SF
(1)Throttle Body Assembly
(2)IAC Valve Assembly O-ring
(3)IAC Valve Assembly Attaching Screw
(4)Idle Air Control (IAC) Valve Assembly
(5)TP Sensor O-ring
(6)Throttle Position (TP) Sensor
(7)TP Sensor Attaching Screw

The throttle body assembly is mounted on the intake manifold plenum, and is used to control air flow into the engine, thereby controlling engine output. The throttle valve within the throttle body is opened by the driver through the accelerator controls. During engine idle, the throttle valve is almost closed, and air flow control is handled by the Idle Air Control (IAC) valve.

The throttle body also provides the location for mounting the Throttle Position (TP) sensor and for sensing changes in engine vacuum due to throttle valve position. Vacuum ports are located at, above, or below the throttle valve to generate vacuum signals needed by various components.

Idle Air Control (IAC) Valve Assembly

The purpose of the IAC valve assembly is to control the engine idle speed while preventing engine stalls due to changes in the engine load.

The IAC valve, mounted in the throttle body assembly, controls the bypass air around the throttle valve. By moving a conical valve known as a pintle IN toward the seat (in order to decrease the air flow), or OUT away from the seat (in order to increase the air flow), a controlled amount of air moves around the throttle valve.

If the engine speed is too low, more air is bypassed around the throttle valve in order to increase the RPM. If the engine speed is too high, less air is bypassed around the throttle valve in order to decrease the RPM.

The VCM moves the IAC valve in small steps, called counts which can be measured by using a scan tool connected to the Data Link Connector (DLC).

During idle, the proper position of the IAC valve is calculated by the VCM. This position is based on the battery voltage, the engine coolant temperature, the engine load, and the engine RPM. If the RPM drops below specification and the throttle valve is closed, the VCM senses a near stall condition, and then the VCM calculates a new valve position in order to prevent stalling.

If the IAC valve is disconnected and reconnected while the engine is running, the resulting idle RPM may be wrong. This will require the resetting of the IAC valve.

After running the engine, the IAC valve will reset when the ignition is turned OFF. The IAC valve should only be disconnected or connected with the ignition OFF.

If the VCM is without battery power for any reason, the programmed position of the IAC valve pintle is lost. The control module replaces the lost position with a default value. In order to return the IAC valve pintle to the correct position, see the Idle Learn Procedure.

The IAC valve affects the idle characteristics of the vehicle. A fully retracted valve allows too much air into the manifold causing a high idle speed. A valve which is stuck closed allows too little air in the manifold, causing a low idle speed. If the valve is stuck part way open, the idle may be rough, and the idle will not respond to the engine load changes.

Throttle Position (TP) Sensor

The non-adjustable TP sensor is mounted on the throttle body assembly opposite the throttle lever. The TP sensor senses the throttle valve angle and relays that information to the VCM. Knowledge of throttle angle is one of the inputs needed by the VCM to generate the required injector control signals (pulses). For further information on replacement, refer to TP Sensor Replacement .

Fuel System Fuel Supply System

Central SFI Fuel System with Fuel Pressure Gauge


Object Number: 13109  Size: SF
(1)Fuel Inlet
(2)Bleed Hose
(3)J 34730-1A Fuel Pressure Gage Assembly
(4)Fuel Pressure Connection
(5)In-Line Fuel Filter
(6)Fuel Line Pressure Side
(7)Fuel Pump Feed Hose
(8)In-Tank Fuel Pump
(9)Fuel Pump Strainer
(10)Return Line
(11)Flexible Hose
(12)Fuel Return Line

The fuel supply system consists of the following components:

    • The fuel tank(s) (fuel balance control system when equipped with dual tanks.
    • The fuel sender assembly (fuel sender, fuel pump and fuel pump strainer).
    • The fuel filter
    • The fuel feed and return pipes
    • The fuel pump electrical circuit
    • The accelerator control components

Fuel Tank(s)

The fuel tank, at the rear of the underbody, is held in place by 2 metal straps. Anti-squeak pieces are used on top of the tank to reduce rattles.

Filler Neck

In order to help prevent refueling with leaded gasoline, the fuel filler neck on a gasoline engine vehicles has a built-in restrictor and deflector. The opening in the restrictor will only admit the smaller unleaded gas nozzle spout, which must be fully inserted to bypass the deflector.

Attempted refueling with a leaded gas nozzle or failure to fully insert the unleaded gas nozzle results in gasoline splashing back out of the filler neck.

Fuel Filler Cap

The fuel tank filler neck is equipped with a tethered fuel tank filler cap. Turn the cap counterclockwise in order to remove. A built-in torque-limiting device prevents overtightening. In order to install the cap, turn the cap clockwise until a clicking noise is heard. The clicking is a signal to the operator that the correct torque has been reached and the cap is fully seated.

Fuel Balance Control System (Dual Tanks)

The fuel balance control system consists of the following components:

    • Front (main) fuel tank sender
    • Rear (auxiliary) fuel tank sender
    • Balance fuel pump
    • Balance fuel pump relay
    • Fuel sender and balance module

On vehicles with dual tanks, the front tank is the main and the rear tank is the auxiliary. The main fuel balance pump supplies fuel to the fuel injection unit. The low pressure (about 32 kPa or 7 psi) fuel balance pump is used only to transfer fuel from the auxiliary tank to the main tank in order to balance the fuel levels in both tanks. As the main tank level drops to about 25% below the level in the auxiliary tank, the fuel sender and balance module energizes the fuel pump relay. This pumps the fuel from the auxiliary tank to the main tank. When the level in the main tank reaches a level slightly higher than the level in the auxiliary tank, or the auxiliary tank is empty, the module de-energizes the balance pump relay and fuel pump. Any malfunction in either of the fuel gage circuits will disable the system and the fuel will not be transferred from the auxiliary fuel tank to the main fuel tank.

Fuel Sender Assembly

The fuel sender assembly is located inside the fuel tank and attaches to the top of the fuel tank.

The fuel sender assembly consists of the following major components:

    • The fuel sender
    • The fuel pump
    • The fuel pump strainer

Fuel Pump

The fuel pump is a high pressure rollervane type, electric pump, which mounts in the fuel tank. Fuel is pumped, at a specified flow and pressure from the fuel pump, through the in-line filter to the pressure regulator in the fuel injection unit. Excess fuel is returned to the fuel tank through the fuel return line.

The fuel pump attaches to the fuel sender assembly. A fuel strainer attaches to the fuel pump inlet line. The strainer prevents dirt particles from entering the fuel line and tends to separate water from the fuel. A ceramic resistor card for the fuel level sensor is also attached to the outside of the sender assembly. The function of the ceramic resistor card is to vary the resistance, depending on the position of the float and to send a signal to the fuel gage via the BCM. The modular fuel sender assembly is serviced as a complete assembly. The only serviceable components on the modular unit are the strainer, fuel level sensor, and the OBD II fuel tank pressure sensor.

Fuel Pump Strainer

A woven plastic filter attaches to the lower end of the fuel pump in the fuel tank. The functions of the strainer are to filter contaminants and to wick fuel.

The life of the fuel pump strainer is generally considered to be that of the fuel pump. The fuel pump strainer is self-cleaning and normally requires no maintenance. Fuel stoppage at this point indicates that the fuel tank contains an abnormal amount of sediment or water. In which case the fuel tank should have a thorough cleaning. Refer to Fuel System Cleaning (Purge the Fuel Tank) for V6. Refer to Fuel System Cleaning (Purge the Fuel Tank) for V8. If the fuel strainer is plugged, replace the strainer with a new fuel pump strainer.

In-Line Fuel Filter

A steel in-line fuel filter is used in the fuel feed pipe ahead of the fuel injection system. The filter element is made of paper and is designed to trap particles in the fuel that may cause damage to the injection system. The filter housing is constructed to withstand maximum fuel system pressure, exposure to fuel additives and changes in temperature.

Nylon Fuel Pipes

Caution: In order to Reduce the Risk of Fire and Personal Injury:

   • If nylon fuel pipes are nicked, scratched or damaged during installation, Do Not attempt to repair the sections of the nylon fuel pipes. Replace them.
   • When installing new fuel pipes, Do Not hammer directly on the fuel harness body clips as it may damage the nylon pipes resulting in a possible fuel leak.
   • Always cover nylon vapor pipes with a wet towel before using a torch near them. Also, never expose the vehicle to temperatures higher than 115°C (239°F) for more than one hour, or more than 90°C (194°F) for any extended period.
   • Before connecting fuel pipe fittings, always apply a few drops of clean engine oil to the male pipe ends. This will ensure proper reconnection and prevent a possible fuel leak. (During normal operation, the O-rings located in the female connector will swell and may prevent proper reconnection if not lubricated.)

Nylon fuel pipes are designed to perform the same job as the steel or rubber fuel tubes they replace. Nylon pipes are constructed to withstand maximum fuel system pressure, exposure to fuel additives and changes in temperature. There are two sizes used: 3/8 in. ID for the fuel feed and 5/16 in. ID for the fuel return.

The fuel feed and return pipes are assembled as a harness. Retaining clips hold the pipes together and provide a means for attaching the pipes to the vehicle. Quick-connect type fittings are used at the fuel tank ends of the fuel feed/return pipes and at the in-line fuel filter. They are described below. Sections of the pipes that are exposed to chafing, high temperature or vibration are protected with a heat resistant rubber hose and/or corrugated plastic conduit.

Nylon fuel pipes are somewhat flexible and can be formed around gradual turns under the vehicle. However, if forced into sharp bends, nylon pipes will kink and restrict fuel flow. Once exposed to fuel, nylon pipes may become stiffer and are more likely to kink if bent too far. Special care should be taken when working on a vehicle with nylon fuel pipes.

Quick-Connect Fittings

Quick-connect type fittings provide a simplified means of installing and connecting the fuel system components. The quick-connect fittings consists of a female socket and a compatible male connector. O-rings, located inside the female socket, provide the fuel seal. Integral locking tabs or fingers hold the fittings together. The metal collar quick-connect fittings have locking tabs that require a special tool to release. Refer to Fuel Hose and Pipes (Quick Connect Fittings) .

Vapor Pipes and Hoses

Caution: In order to Reduce the Risk of Fire and Personal Injury:

   • If nylon fuel pipes are nicked, scratched or damaged during installation, Do Not attempt to repair the sections of the nylon fuel pipes. Replace them.
   • When installing new fuel pipes, Do Not hammer directly on the fuel harness body clips as it may damage the nylon pipes resulting in a possible fuel leak.
   • Always cover nylon vapor pipes with a wet towel before using a torch near them. Also, never expose the vehicle to temperatures higher than 115°C (239°F) for more than one hour, or more than 90°C (194°F) for any extended period.
   • Before connecting fuel pipe fittings, always apply a few drops of clean engine oil to the male pipe ends. This will ensure proper reconnection and prevent a possible fuel leak. (During normal operation, the O-rings located in the female connector will swell and may prevent proper reconnection if not lubricated.)

The vapor pipe extends from the fuel sender assembly to the charcoal canister. It is made up of nylon pipe and is connected to the fuel sender assembly and the EVAP canister with the fuel resistant rubber hoses.

Fuel Pipe O-Rings

The fuel feed and return pipe threaded connections at the fuel injection unit are sealed with replaceable O-ring seals. These O-ring seals are made of special material and should only be serviced with the correct service part.

Fuel Pump Electrical Circuit

When the key is turned ON with out the engine running, the control module turns a fuel pump relay ON for two seconds. This builds up fuel pressure quickly. If the engine is not started within two seconds, the control module shuts the fuel pump OFF and waits until the engine starts. As soon as the engine is cranked, the control module turns the relay ON and runs the fuel pump. When the engine is cranking or running, the control module receives the crankshaft position (CKP) sensor reference pulses which in turn energize the fuel injectors. As a backup system to the fuel pump relay, the fuel pump can also be turned ON by a fuel pump oil pressure switch. When the engine reaches about 28 kPa (4 psi), and the fuel pump relay does not complete the circuit, the fuel pump oil pressure switch will close to complete the circuit to run the fuel pump. An inoperative fuel pump relay can result in long cranking times, particularly if the engine is cold. The fuel pump oil pressure switch will turn ON the fuel pump as soon as oil pressure reaches about 28 kPa (4 psi).

Accelerator Control

The accelerator control system is a control cable type attached at one end to an accelerator pedal assembly. On the other end is the throttle valve.