GM Service Manual Online
For 1990-2009 cars only
Makes
🢒
Chevrolet
🢒
1996
🢒
Chevy G Van
🢒
Engine
🢒
Engine Controls - 5.0L, 5.7L, and 7.4L
🢒 Emission Hose Routing Diagram
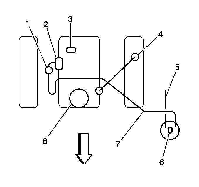
Emission Hose Routing Diagram 5.0L
(1)
EVAP Purge Vacuum Switch
(2)
EVAP Canister Purge Solenoid Valve
(3)
Manifold Absolute Pressure (MAP) Sensor
(4)
Positive Crankcase Ventilation Valve
(5)
To Fuel Tank
(6)
EVAP Canister Vent
(7)
EVAP Canister Purge Hose
(8)
Throttle Body
Emission Hose Routing Diagram 5.7L
(1)
EVAP Purge Vacuum Switch
(2)
EVAP Canister Purge Solenoid Valve
(3)
Manifold Absolute Pressure (MAP) Sensor
(4)
Positive Crankcase Ventilation Valve
(5)
To Fuel Tank
(6)
EVAP Canister Vent
(7)
EVAP Canister Purge Hose
(8)
Throttle Body
Emission Hose Routing Diagram 7.4L
(1)
Crankcase Vent
(2)
Fuel Pressure Regulator Valve
(3)
EVAP Canister Purge Solenoid Valve
(4)
Positive Crankcase Ventilation Valve
(5)
To Fuel Tank
(6)
EVAP Canister Vent
(7)
EVAP Canister Purge Hose
(8)
Manifold Absolute Pressure (MAP) Sensor
(9)
Throttle Body