GM Service Manual Online
For 1990-2009 cars only

    Object Number: 334551  Size: SH

    Important: The engine front cover has 2 alignment tabs and the crankshaft balancer has 2 alignment marks (spaced 90 degrees apart) which are used for positioning number 1 piston at top dead center (TDC). With the piston on the compression stroke and at top dead center, the crankshaft balancer alignment mark (1) must align with the engine front cover tab (2) and the crankshaft balancer alignment mark (4) must align with the engine front cover tab (3).

  1. Rotate the crankshaft balancer clockwise until the alignment marks on the crankshaft balancer are aligned with the tabs on the engine front cover and the number 1 piston is at top dead center of the compression stroke.

  2. Object Number: 301393  Size: SH
  3. Remove the distributor cap bolts and discard.
  4. Remove the distributor cap.

  5. Object Number: 523516  Size: SH
  6. Install a NEW distributor gasket onto the distributor.

  7. Object Number: 492137  Size: SH
  8. Align the indent hole on the driven gear with the paint mark on the distributor housing.
  9. Ensure that the distributor rotor segment points to the cap hold area.

  10. Object Number: 523746  Size: SH
  11. Align the slotted tang in the oil pump driveshaft with the distributor driveshaft.
  12. Rotate the oil pump driveshaft with a screwdriver if necessary.

  13. Align the flat (1) in the distributor housing toward the front of the engine.

  14. Object Number: 310298  Size: SH
  15. Install the distributor and distributor clamp.
  16. The flat in the distributor housing must point toward the front of the engine.


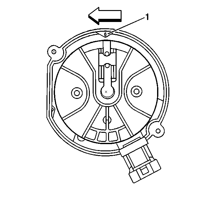
    Object Number: 334555  Size: SH
  17. Once the distributor is fully seated, align the distributor rotor segment with the number 6 pointer (1) that is cast into the distributor base.
  18. If the distributor rotor segment does not come within a few degrees of the number 6 pointer (1), the gear mesh between the distributor and camshaft may be off a tooth or more. Repeat the procedure again in order to achieve proper alignment.


    Object Number: 34403  Size: SH

    Notice: Use the correct fastener in the correct location. Replacement fasteners must be the correct part number for that application. Fasteners requiring replacement or fasteners requiring the use of thread locking compound or sealant are identified in the service procedure. Do not use paints, lubricants, or corrosion inhibitors on fasteners or fastener joint surfaces unless specified. These coatings affect fastener torque and joint clamping force and may damage the fastener. Use the correct tightening sequence and specifications when installing fasteners in order to avoid damage to parts and systems.

  19. Install the distributor clamp bolt.
  20. Tighten
    Tighten the distributor clamp bolt to 25 N·m (18 lb ft).


    Object Number: 301393  Size: SH
  21. Install the distributor cap and NEW distributor cap bolts.
  22. Tighten
    Tighten the distributor cap bolts to 2.4 N·m (21 lb in).


    Object Number: 387772  Size: SH
  23. Install the ignition coil wire harness.