GM Service Manual Online
For 1990-2009 cars only

Info - 4L65-E, 4L60-E, 4L60 and 200-4R Automatic Transmission Oil Pump Spring First and Second Design Identification

Subject:4L65-E, 4L60-E, 4L60 and 200-4R Automatic Transmission Oil Pump Spring First and Second Design Identification

Models:2004 and Prior Passenger Cars and Light Duty Trucks
2003-2004 HUMMER H2
with 4L65-E, 4L60-E, 4L60 or 200-4R Automatic Transmission



The purpose of this bulletin is to identify the oil pump spring usage for the two different pump designs.

Manufacturing of the first design oil pump springs ended December 15, 2003. Manufacturing of the second design oil pump spring began December 16, 2003


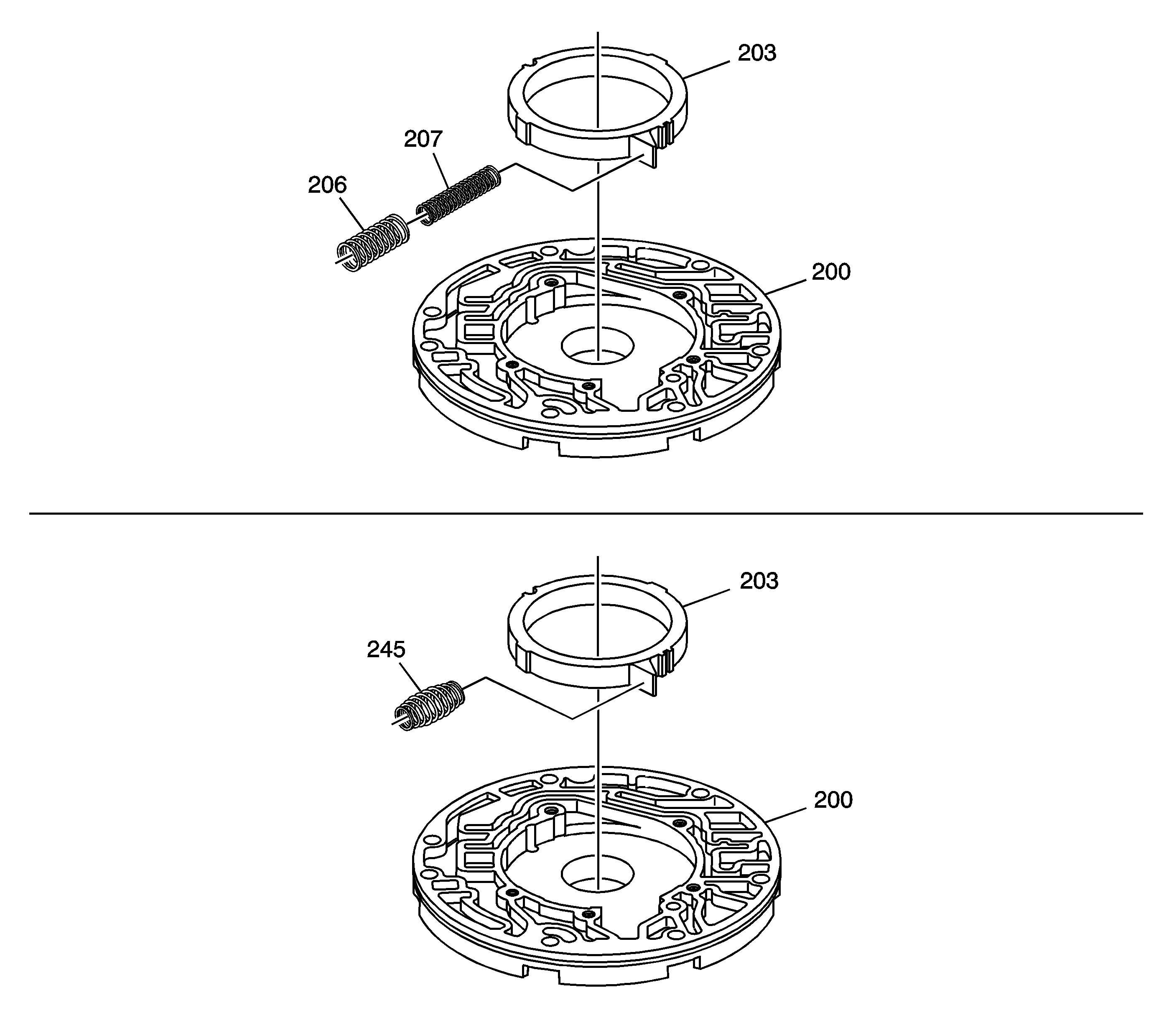
Object Number: 1409585  Size: LF

The first design oil pump springs (206) and (207) DO NOT have any identification markings. The first design springs (206) and (207) use an inner and outer spring, two springs.

The second design oil pump spring (245) is identified with tapered ends on the spring (245) as shown above. The second design spring (245) is a single spring.

When servicing either (first design or second design) oil pump body, use the new single oil pump spring (245) with tapered ends.