GM Service Manual Online
For 1990-2009 cars only

SMU - SECTION 6A4B, 6A5B - ENGINE MECHANICAL - VALVE STEM

SUBJECT: SERVICE MANUAL UPDATE - SECTION 6A4B, 6A5B - ENGINE MECHANICAL - VALVE STEM OIL SEAL INSTALLATION

MODELS: 1996 CHEVROLET AND GMC S/T, M/L, C/K, P AND G TRUCKS 1996 OLDSMOBILE BRAVADA WITH 4.3L, 5.0L, 5.7L ENGINE (VINS W, X, M, R - RPOS L35, LF6, L30, L31)

SERVICE MANUAL INFORMATION FOR INSTALLING VALVE STEM OIL SEALS IS INCORRECT IN 1996 MODEL YEAR S/T, M/L, C/K, G, AND P PLATFORM SERVICE INFORMATION MANUALS.

THE PROCEDURE BELOW DETAILS THE CORRECT INSTALLATION FOR THE ENGINES AND MODEL YEARS LISTED. PLEASE UPDATE YOUR SERVICE MANUALS WITH THIS INFORMATION. THE VALVE STEM OIL SEALS MUST BE INSTALLED WITH KENT-MOORE TOOL J 42073.

PROCEDURE:

1. INSTALL VALVE SPRING COMPRESSOR J 8062 ONTO THE VALVE SPRING AND COMPRESS THE VALVE SPRING.

2. REMOVE THE VALVE KEYS.

3. REMOVE THE VALVE SPRING AND CAP.

4. REMOVE THE OLD VALVE STEM OIL SEAL.

5. CLEAN THE VALVE SPRING SEAT AREA. IT MUST BE FREE OF ANY FOREIGN MATERIAL.

6. LUBRICATE THE VALVE STEM OIL SEAL AND GUIDE WITH CLEAN ENGINE OIL.

7. INSTALL THE VALVE STEM OIL SEAL ONTO THE VALVE STEM. PUSH SEAL DOWN UNTIL THE SEAL CONTACTS VALVE GUIDE.

IMPORTANT: THE VALVE MUST BE INSTALLED INTO THE CYLINDER HEAD TO PROPERLY ALIGN TOOL J 42073 OVER THE VALVE GUIDE.

8. PLACE J 42073 OVER THE VALVE STEM AND OIL SEAL. TAP ON TOOL J 42073 UNTIL THE TOOL BOTTOMS OUT AGAINST THE VALVE SPRING SEAT (FIGURE 1).

IMPORTANT: VALVE STEM OIL SEAL ALIGNMENT ONTO THE VALVE GUIDE IS CRITICAL.

(INSERT TPOL3508 HERE)

FIGURE 1 - INSTALLING VALVE STEM OIL SEAL

1. VALVE STEM OIL SEAL INSTALLER J 42073 2. VALVE GUIDE 3. VALVE STEM

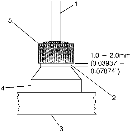
IMPORTANT: A CORRECTLY INSTALLED SEAL SHOULD NOT BOTTOM AGAINST THE VALVE GUIDE. THERE SHOULD BE A 1-2 MM (0.03937-0.07874") GAP BETWEEN THE BOTTOM EDGE OF THE SEAL AND THE VALVE GUIDE (FIGURE 2).

(INSERT TPOL3509 HERE)

FIGURE 2 - PROPER VALVE STEM OIL SEAL INSTALLED HEIGHT POSITION

1. VALVE STEM 2. 1 - 2 MM (0.03937 - 0.07874")GAP 3. CYLINDER HEAD 4. VALVE GUIDE 5. VALVE STEM OIL SEAL

9. INSTALL THE VALVE SPRING AND CAP.

10. INSTALL VALVE SPRING COMPRESSOR J 8062 ONTO THE VALVE SPRING AND COMPRESS SPRING.

11. INSTALL THE VALVE KEYS.

FIGURES: 2 ATTACHMENTS: 0


Object Number: 93547  Size: MF


Object Number: 95031  Size: SH

GENERAL MOTORS BULLETINS ARE INTENDED FOR USE BY PROFESSIONAL TECHNICIANS, NOT A "DO-IT-YOURSELFER". THEY ARE WRITTEN TO INFORM THOSE TECHNICIANS OF CONDITIONS THAT MAY OCCUR ON SOME VEHICLES, OR TO PROVIDE INFORMATION THAT COULD ASSIST IN THE PROPER SERVICE OF A VEHICLE. PROPERLY TRAINED TECHNICIANS HAVE THE EQUIPMENT, TOOLS, SAFETY INSTRUCTIONS AND KNOW-HOW TO DO A JOB PROPERLY AND SAFELY. IF A CONDITION IS DESCRIBED, DO NOT ASSUME THAT THE BULLETIN APPLIES TO YOUR VEHICLE, OR THAT YOUR VEHICLE WILL HAVE THAT CONDITION. SEE A GENERAL MOTORS DEALER SERVICING YOUR BRAND OF GENERAL MOTORS VEHICLE FOR INFORMATION ON WHETHER YOUR VEHICLE MAY BENEFIT FROM THE INFORMATION.

COPYRIGHT 1996 GENERAL MOTORS CORPORATION. ALL RIGHTS RESERVED.