GM Service Manual Online
For 1990-2009 cars only

TRANS. HARD TO SHIFT, STUCK IN GEAR, OR SHIFT LEVER BLOCKED

SUBJECT: TRANSMISSION HARD TO SHIFT, STUCK IN GEAR OR SHIFT LEVER BLOCKED (INSTALL REVISED SHIFT SHAFT LEVER)

MODELS: 1993 CHEVROLET AND GMC TRUCK C/K 1,2 TRUCKS 1993 CHEVROLET AND GMC TRUCK S/T TRUCKS EQUIPPED WITH NV3500 (RPO'S MG5 AND MY2) 5-SPEED MANUAL TRANSMISSION

CONDITION:

THE TRANSMISSION MAY BE HARD TO SHIFT, STUCK IN ANY GEAR OR THE SHIFT LEVER MAY BE BLOCKED IN ANY GEAR.

CAUSE:

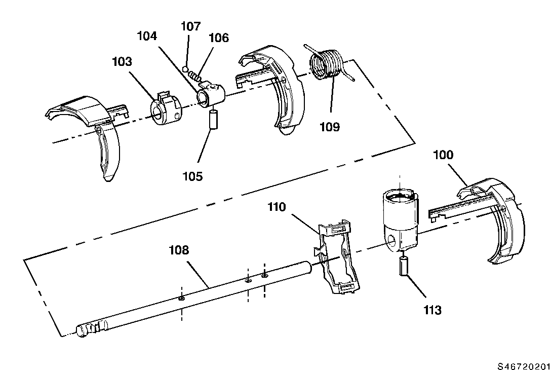
ONE POSSIBLE CAUSE IS A DAMAGED SHIFT SHAFT LEVER (FIGURE 1, #104). THE DETENT BALL (#107) MAY MOVE TOO MUCH IN THE LEVER CAUSING THE SIDE OF THE LEVER TO CRACK OR BREAK-OUT.

CORRECTION:

1. INSTALL A REVISED SHIFT SHAFT LEVER (#104). THIS REVISED LEVER HAS A DEEPER HOLE TO ALLOW THE USE OF A DETENT PLUNGER (#107) RATHER THAN A BALL. THE SHIFT SHAFT LEVER DETENT SPRING (#106) HAS NOT CHANGED BUT SHOULD BE REPLACED IF DAMAGED. BEGINNING MARCH 31, 1993 ALL UNITS WERE BUILT WITH THIS REVISED LEVER AND PLUNGER. 2. INSTALL A NEW SHIFT SHAFT (#108) WITH REVISED DETENT NOTCHES. ALL UNITS WERE BUILT WITH THIS REVISED SHAFT BEGINNING DECEMBER 10, 1993. 3. INSTALL A NEW "SELF-BIASING" SHIFT TOWER (FIGURE 2, #136), A REVISED DETENT PLUNGER SPRING (FIGURE 2, #244), A REVISED 5TH / REVERSE SHIFT FORK (FIGURE 1, #100) AND REVISED SHIFT SHAFT BUSHING (FIGURE 1, #103). WHEN THIS SHIFT TOWER IS INSTALLED THE BIAS SPRING (FIGURE 1, #109) AND ANTI-ROTATION BRACKET (#110) MUST BE REMOVED FROM THE TRANSMISSION. THE REVISED 5TH/REVERSE SHIFT FORK WILL PREVENT POTENTIAL REVERSE BLOCK-OUT WITH THE NEW SHIFT TOWER, THE REVISED SHIFT SHAFT BUSHING WILL REDUCE SHIFT LEVER SIDE-TO-SIDE MOVEMENT IN 5TH GEAR AND THE REVISED DETENT PLUNGER SPRING WILL PROVIDE IMPROVED SHIFT FEEL.

SERVICE PROCEDURE:

REMOVE THE TRANSMISSION FROM THE VEHICLE FOLLOWING DIRECTIONS IN THE APPROPRIATE SERVICE MANUAL, SECTION 7B, MANUAL TRANSMISSION, TRANSMISSION REPLACEMENT. REFER TO THE 1994 LIGHT DUTY TRUCK UNIT REPAIR MANUAL (SECTION 7B1, NEW VENTURE GEAR 3500 MANUAL TRANSMISSION) FOR UNIT DISASSEMBLY AND ASSEMBLY. FOLLOW THE PROCEDURES LISTED TO:

1. REMOVE THE FRONT AND REAR HOUSINGS. 2. REMOVE AND DO NOT REUSE THE FOLLOWING PARTS: - 5TH / REVERSE SHIFT FORK (#100) - SHIFT SHAFT BUSHING (#103) - SHIFT SHAFT LEVER (#104) - SHIFT SHAFT (#108) - BIAS SPRING (#109) - ANTI-ROTATION BRACKET (#111) - DETENT PLUNGER SPRING (#244) 3. INSTALL THE FOLLOWING REVISED PARTS: - 5TH / REVERSE SHIFT FORK (#100) - SHIFT SHAFT BUSHING (#103) - SHIFT SHAFT (#108) - SHIFT SHAFT LEVER (#104) - DETENT SPRING (#106) - DETENT PLUNGER (#107). - DETENT PLUNGER SPRING (#244) 4. INSTALL THE FRONT AND REAR HOUSINGS. 5. INSTALL A REVISED SHIFT LEVER INSULATOR UNDER THE SHIFT BOOT (S/T ONLY).

IMPORTANT: WHEN INSTALLING A "SELF-BIASING" SHIFT TOWER THE BIAS SPRING (#109) AND ANTI-ROTATION BRACKET (#110) MUST BE REMOVED FROM THE TRANSMISSION. A REVISED 5TH/REVERSE SHIFT FORK (#100), REVISED SHIFT SHAFT BUSHING (#103) AND DETENT PLUNGER SPRING (#244) MUST ALSO BE INSTALLED.

THE FOLLOWING PARTS ARE NOT REUSABLE AND MUST BE REPLACED EVERY TIME THEY ARE REMOVED:

1. INPUT SHAFT SNAP RING (#210) 2. MAIN SHAFT SNAP RING (K ONLY) (#43) 3. RETAINING PINS (#105, #113)

THE FOLLOWING FASTENER TIGHTENING SPECIFICATIONS SHOULD BE USED:

1. FRONT-TO-REAR HOUSING BOLTS 35 N.M (26 LBS. FT.) 2. INPUT BEARING RETAINER BOLTS 8.5 N.M (75 LBS. IN.) 3. SHIFT TOWER BOLTS 10 N.M (89 LBS. IN.) 4. SHIFT SHAFT BUSHING ANCHOR BOLT 25 N.M (18 LBS. FT.) 5. OIL FILL/DRAIN PLUGS 60 N.M (44 LBS. FT.) 6. IDLER SHAFT SUPPORT BOLTS 22 N.M (16 LBS. FT.) 7. OUTPUT BEARING RETAINER BOLTS (C ONLY) 22 N.M (16 LBS. FT.) 8. BACKUP LAMP SWITCH 9 N.M (80 LBS. IN.)

THE FOLLOWING SEALANTS SHOULD BE USED FOR REASSEMBLY:

1. P/N 1052942 ANAEROBIC SEALANT - SHIFT COVER-TO-CASE - FRONT-TO-REAR HOUSING - INPUT BEARING RETAINER 2. P/N 12346004 PIPE SEALANT WITH TEFLON: - DRAIN AND FILL PLUGS - SHIFT SHAFT DETENT PLUG

SERVICE PARTS INFORMATION:

P/N DESCRIPTION QTY 12546196 LEVER, SHIFT SHAFT DETENT 1 12545959 PLUNGER, SHIFT SHAFT DETENT 1 14082096 SPRING, DETENT PLUNGER 1 11513407 PIN, DETENT LEVER 1 12548414 SHIFT SHAFT 1 12548232 BUSHING, SHIFT SHAFT 1 12548126 FORK, 5TH / REV SHIFT (C/K) 1 12548233 FORK, 5TH / REV SHIFT (S/T) 1 8672316 PIN, SHIFT SOCKET 1 12549330 SPRING, SHIFT SHAFT DETENT 1 23049936 RETAINING RING, INPUT 1 23049936 RETAINING RING, OUTPUT (K) 1 23049636 SEAL, MAINSHAFT (K) 1 12548125 LEVER, SHIFT (SELF-BIAS) (C/K) 1 12549141 LEVER, SHIFT (SELF-BIAS) (S/T) 1 15955750 INSULATOR, CONTROL LEVER (S, T W/NP1) 1 15988939 INSULATOR, CONTROL LEVER (T W/O NP1) 1 1052942 SEALANT, LOCTITE(R) 518 A/R 12346004 SEALANT, LOCTITE(R) PIPE W/TEFLON A/R 12345349 FLUID, MANUAL TRANS, 1 QT 2

RPO DEFINITIONS:

NP1 - ELECTRIC SHIFT TRANSFER CASE

PARTS ARE EXPECTED TO BE AVAILABLE FROM GMSPO ON 5/16/94.

WARRANTY INFORMATION:

FOR VEHICLES REPAIRED UNDER WARRANTY, USE:

LABOR OP DESCRIPTION LABOR TIME K2767 5TH FORK, AND/OR SHAFT, REPLACE USE PUBLISHED LABOR OPERATION TIME

FIGURES: 3

CAPTIONS: FIGURE 1 - SHIFT SHAFT ASSEMBLY COMPONENTS FIGURE 2 - FRONT HOUSING AND SHIFT TOWER FIGURE 3 - NV3500 TRANSMISSION IDENTIFICATION INFORMATION


Object Number: 82951  Size: FS


Object Number: 85838  Size: LF


Object Number: 82950  Size: FS

GENERAL MOTORS BULLETINS ARE INTENDED FOR USE BY PROFESSIONAL TECHNICIANS, NOT A "DO-IT-YOURSELFER". THEY ARE WRITTEN TO INFORM THOSE TECHNICIANS OF CONDITIONS THAT MAY OCCUR ON SOME VEHICLES, OR TO PROVIDE INFORMATION THAT COULD ASSIST IN THE PROPER SERVICE OF A VEHICLE. PROPERLY TRAINED TECHNICIANS HAVE THE EQUIPMENT, TOOLS, SAFETY INSTRUCTIONS AND KNOW-HOW TO DO A JOB PROPERLY AND SAFELY. IF A CONDITION IS DESCRIBED, DO NOT ASSUME THAT THE BULLETIN APPLIES TO YOUR VEHICLE, OR THAT YOUR VEHICLE WILL HAVE THAT CONDITION. SEE A GENERAL MOTORS DEALER SERVICING YOUR BRAND OF GENERAL MOTORS VEHICLE FOR INFORMATION ON WHETHER YOUR VEHICLE MAY BENEFIT FROM THE INFORMATION.

COPYRIGHT 1994 GENERAL MOTORS CORPORATION. ALL RIGHTS RESERVED.