GM Service Manual Online
For 1990-2009 cars only
Figure 1:

Instrument Cluster, Instrument Panel, and the DLC - 4.3L


Object Number: 31832  Size: FS
Engine Controls Components
Vehicle Control Module Overview
CMP, CKP, ICM, and the Ignition Coil - 4.3L
A/C System - 4.3L
OBD II Symbol Description Notice
Handling ESD Sensitive Parts Notice
Handling ESD Sensitive Parts Notice
Handling ESD Sensitive Parts Notice
Figure 2:

CMP, CKP, ICM, and the Ignition Coil - 4.3L


Object Number: 31837  Size: FS
Engine Controls Components
Enhanced Ignition System Description/Operation
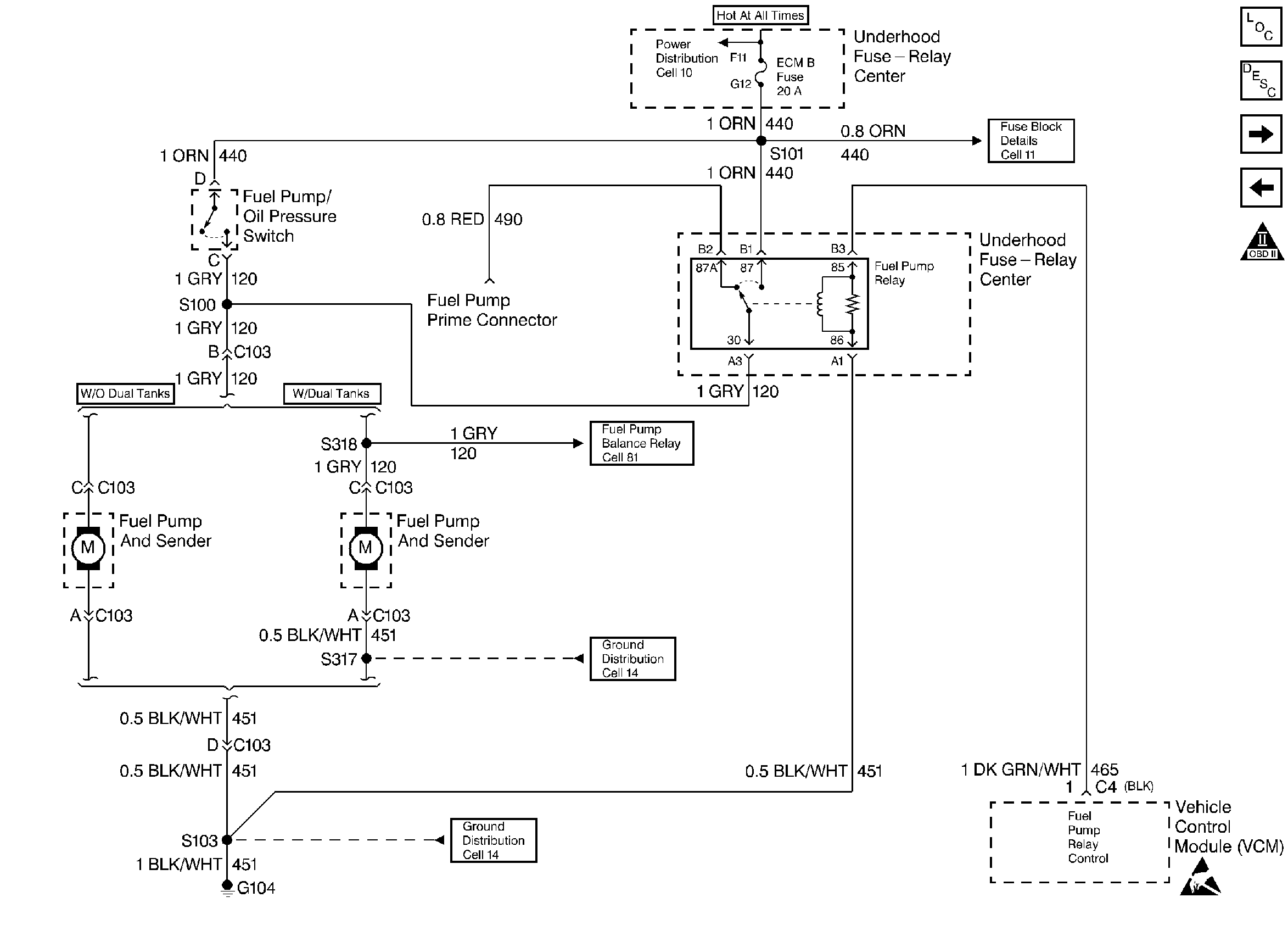
Fuel Pump - 4.3L
Instrument Cluster, Instrument Panel, and the DLC -4.3L
OBD II Symbol Description Notice
Handling ESD Sensitive Parts Notice
Handling ESD Sensitive Parts Notice
Figure 3:

Fuel Pump - 4.3L


Object Number: 31841  Size: FS
Engine Controls Components
Fuel System Central SFI
Fuel Injectors - 4.3L
CMP, CKP, ICM, and the Ignition Coil - 4.3L
OBD II Symbol Description Notice
Handling ESD Sensitive Parts Notice
Figure 4:

Fuel Injectors - 4.3L


Object Number: 31847  Size: FS
Engine Controls Components
Fuel System Central SFI
MAP, IAT, TP, and ECT Sensors - 4.3L
Fuel Pump - 4.3L
OBD II Symbol Description Notice
Handling ESD Sensitive Parts Notice
Figure 5:

MAP, IAT, TP, and ECT Sensors - 4.3L


Object Number: 31859  Size: FS
Engine Controls Components
Information Sensors 4.3L, 5.0L
MAF, EVAP, and EGR Systems - 4.3L
Fuel Injectors - 4.3L
OBD II Symbol Description Notice
Handling ESD Sensitive Parts Notice
Handling ESD Sensitive Parts Notice
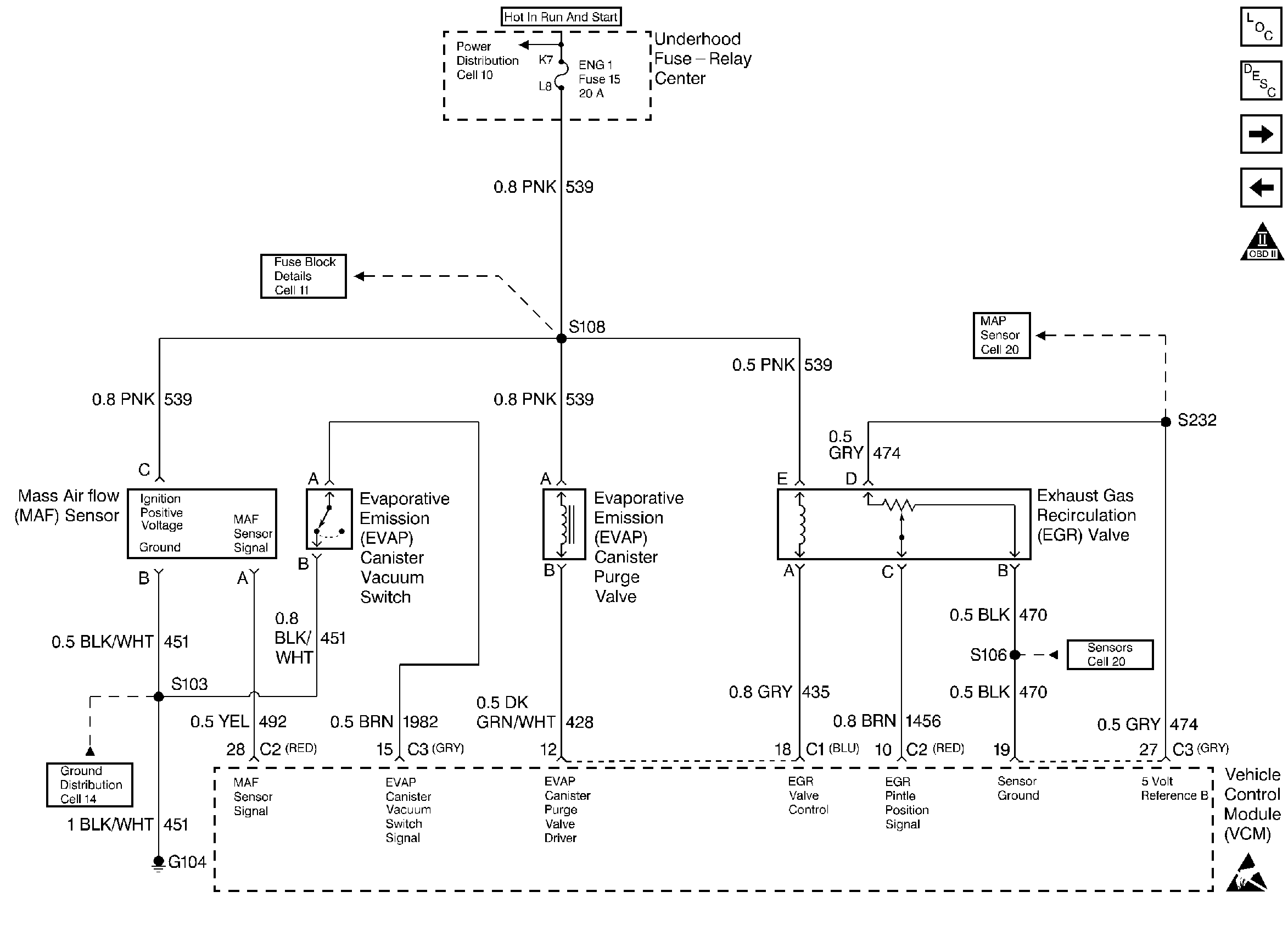
Figure 6:

MAF, EVAP, and EGR Systems - 4.3L


Object Number: 31861  Size: FS
Engine Controls Components
Information Sensors 4.3L, 5.0L
Heated Oxygen Sensors - 4.3L
MAP, IAT, TP, and ECT Sensors - 4.3L
OBD II Symbol Description Notice
Handling ESD Sensitive Parts Notice
Figure 7:

Heated Oxygen Sensors - 4.3L


Object Number: 31867  Size: FS
Engine Controls Components
Information Sensors 4.3L, 5.0L
Idle Air Control - 4.3L
MAF, EVAP, and EGR Systems - 4.3L
OBD II Symbol Description Notice
Handling ESD Sensitive Parts Notice
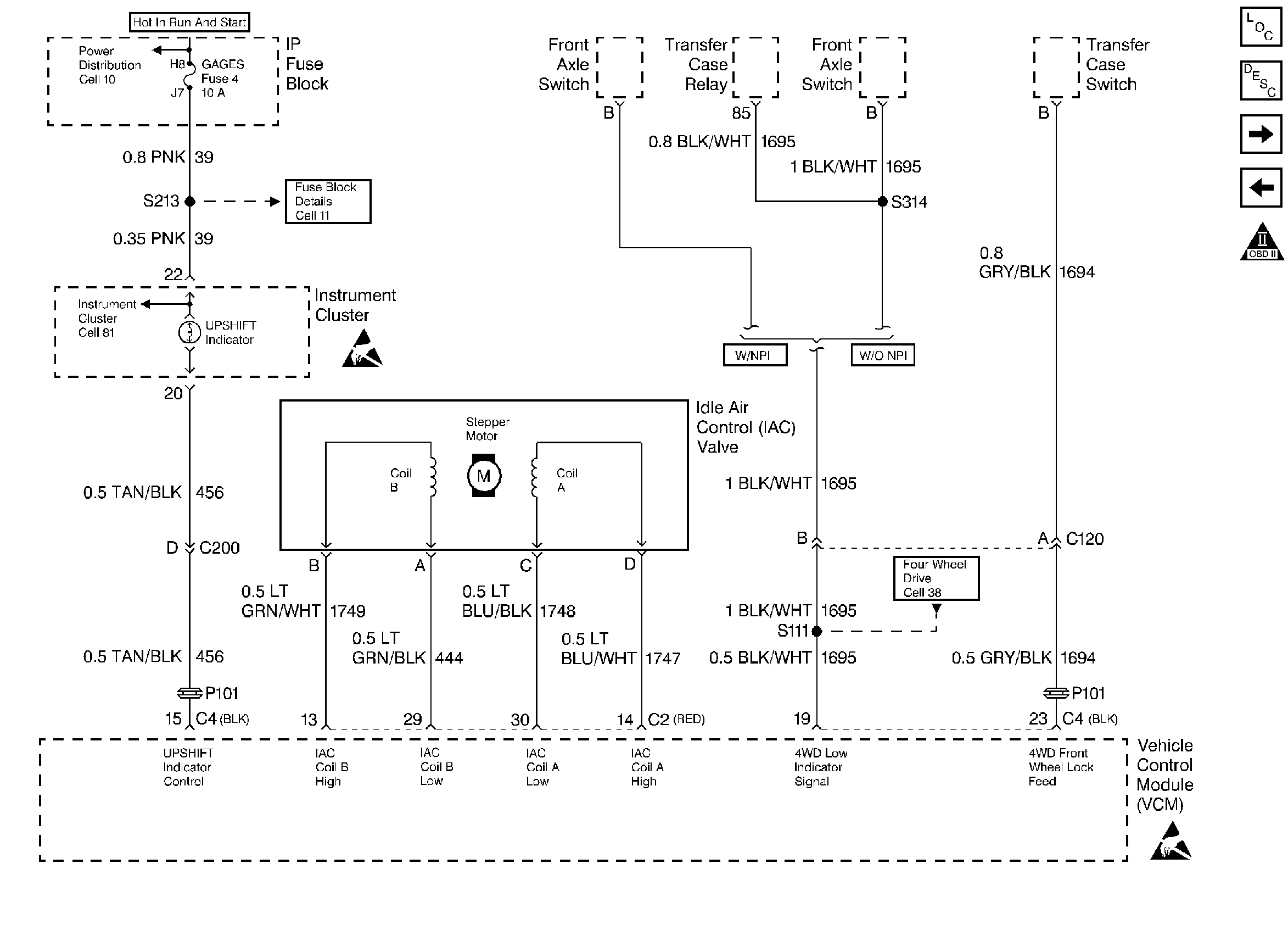
Figure 8:

Idle Air Control - 4.3L


Object Number: 31870  Size: FS
Engine Controls Components
Fuel System Diagnosis Fuel Control
Vehicle Speed Sensor - 4.3L
Heated Oxygen Sensors - 4.3L
OBD II Symbol Description Notice
Handling ESD Sensitive Parts Notice
Handling ESD Sensitive Parts Notice
Figure 9:

Vehicle Speed Sensor - 4.3L


Object Number: 31872  Size: FS
Engine Controls Components
Fuel System Diagnosis Fuel Control
Transmission and the TCC - 4.3L
Idle Air Control - 4.3L
OBD II Symbol Description Notice
Handling ESD Sensitive Parts Notice
Handling ESD Sensitive Parts Notice
Handling ESD Sensitive Parts Notice
Handling ESD Sensitive Parts Notice
Handling ESD Sensitive Parts Notice
Figure 10:

Transmission and the TCC - 4.3L


Object Number: 38165  Size: FS
Engine Controls Components
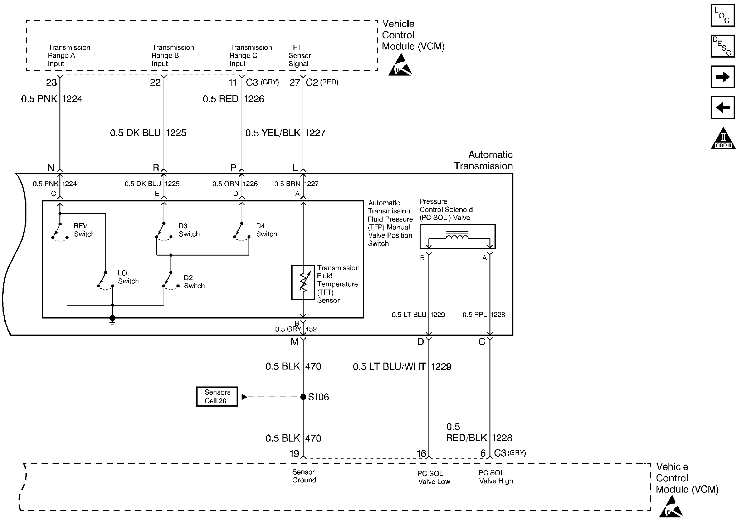
Information Sensors 4.3L, 5.0L
PC Solenoid and the TFP Sensor - 4.3L
Vehicle Speed Sensor - 4.3L
OBD II Symbol Description Notice
Handling ESD Sensitive Parts Notice
Figure 11:

PC Solenoid and the TFP Sensor - 4.3L


Object Number: 31874  Size: FS
Engine Controls Components
A/C System - 4.3L
Transmission and the TCC - 4.3L
OBD II Symbol Description Notice
Handling ESD Sensitive Parts Notice
Handling ESD Sensitive Parts Notice
Figure 12:

A/C System - 4.3L


Object Number: 31879  Size: FS
Engine Controls Components
Instrument Cluster, Instrument Panel, and the DLC -4.3L
PC Solenoid and the TFP Sensor - 4.3L
OBD II Symbol Description Notice
Handling ESD Sensitive Parts Notice