GM Service Manual Online
For 1990-2009 cars only
Makes
🢒
Chevrolet
🢒
1996
🢒
Chevy K Pickup - 4WD
🢒
Transmission/Transaxle
🢒
Automatic Transmission - 4L80-E
🢒 Output Shaft Seal Removal
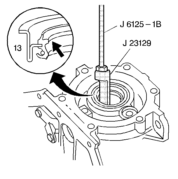
Tools Required
•
J 6125-1B
Slide Hammer
•
J 23129
Seal Remover
Remove the output shaft seal retaining ring (14).
Inspect the output shaft seal retainer ring for damage.
Remove the output shaft seal (13) using
J 23129
and
J 6125-1B
.