GM Service Manual Online
For 1990-2009 cars only

Object Number: 376322  Size: MF
Transfer Case Control Components
Transfer Case Control Schematics

Circuit Description

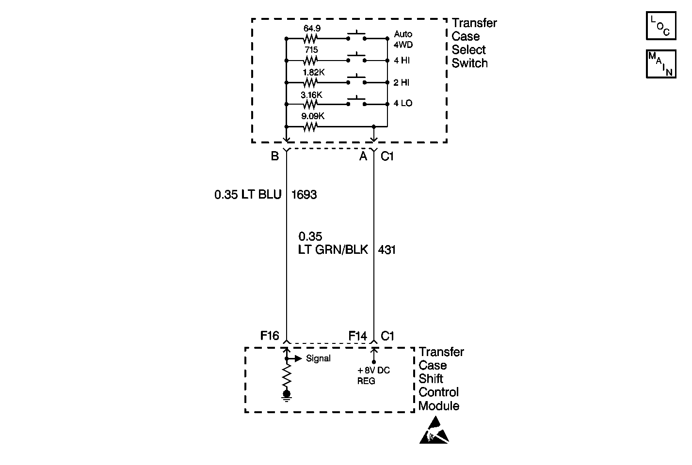
The range/mode switch circuit consists of 4 normally open switches. The transfer case shift control module supplies a regulated 8 volt DC to the switch through CKT 431. The switch has CKT 1693 to return current to the transfer case shift control module through a 9.09 K resistor located inside the switch.

The transfer case shift control module constantly monitors this signal voltage to determine the condition of the mode switch circuit. If no buttons are pressed, and the transfer case shift control module detects a voltage level outside the possible range (approximately 0.5-1.0 volts) for longer than 5 minutes, the transfer case shift control module will set this DTC or if a button is held down or sticks for a period longer than 5 minutes. When each of the switches is depressed they will complete a circuit through their own specific resistor. The transfer case shift control module continuously monitors the switch input to determine whether the 4HI, AUTO 4WD, 2HI, and 4LO button selectors are made by the driver. Neutral may be obtained if the following conditions are met:

    • The engine is running.
    • The automatic transmission is in neutral (or the clutch pedal is depressed on a manual transmission application).
    • The vehicle speed is below 3 MPH.
    • The transfer case is in the 2HI mode.

Once these conditions have been met, pressing and holding both the 2HI and 4LO buttons for 10 seconds will shift the transfer case into neutral, turning on the red neutral indicator lamp.

Test Description

The number(s) below refer to the step number(s) on the diagnostic table.

  1. This step determines if the transfer case shift control module is receiving an input from the Mode/Range Switch.

  2. This step determines if the inability to change ranges is due to a faulty switch or transfer case shift control module.

Range/Mode Switch Inoperative

Step

Action

Value(s)

Yes

No

1

Was the Transfer Case Diagnostic System Check performed?

--

Go to Step 2

Go to Transfer Case Diagnostic System Check

2

  1. Connect a Scan Tool .
  2. Turn the ignition to RUN, engine ON.
  3. Place transmission into neutral (or clutch pedal depressed on manual transmission applications).
  4. Set the Parking Brake.
  5. Important: Neutral Range will only be obtained by pressing and holding both the 2HI and 4LO buttons simultaneously for 10 seconds. Refer to Circuit Description.

  6. Observe Commanded Mode Indicator states on the Scan Tool while depressing each of the Mode/Range buttons.

Does the state change with the press of any of the Mode/Range buttons?

--

Go to Step 5

Go to Step 3

3

  1. Use a Scan Tool in order to command through the ranges of the Mode/Range Switch.
  2. Continue to observe Commanded Mode Indicator states on the Scan Tool while commanding through all ranges.

Does the Mode Indicator state change?

--

Go to Step 5

Go to Step 4

4

Replace the transfer case shift control module. Refer to Transfer Case Shift Control Module Replacement .

Is the action complete?

--

Go to Step 6

--

5

Replace the Mode/Range Switch. Refer to Transfer Case Shift Control Switch Replacement .

Is the action complete?

--

Go to Step 6

--

6

  1. Ensure the ignition is OFF.
  2. Properly mount and reconnect all previously disconnected ATC components.

Have all the ATC components been reconnected and properly mounted?

--

Go to Step 7

--

7

Clear all ATC DTCs.

Have all the ATC DTCs been cleared?

--

Go to Transfer Case Diagnostic System Check

--