GM Service Manual Online
For 1990-2009 cars only
Makes
🢒
Chevrolet
🢒
1999
🢒
Chevy K Pickup - 4WD
🢒
Body and Accessories
🢒
Data Link Communications
🢒 Entertainment Component Views
Figure
1:
Audio Amplifier
(1)
Shock Sensor
(2)
Shock Sensor Connector
(3)
Vehicle Communication Unit
(4)
Heated Seat Switch Rear Connector
(5)
Stereo Controller, Rear
(6)
Stereo Controller, Rear Connector
(7)
Auxiliary Power Connector, Rear Console
(8)
CD Changer
(9)
CD Changer Connector
(10)
Audio Amplifier
(11)
Audio Amplifier Connectors
(12)
Sub Woofer Connector C304
(14)
Sub Woofer
(15)
C305
(16)
Security LED
(17)
Console Trim Cover
(18)
Body Control Module
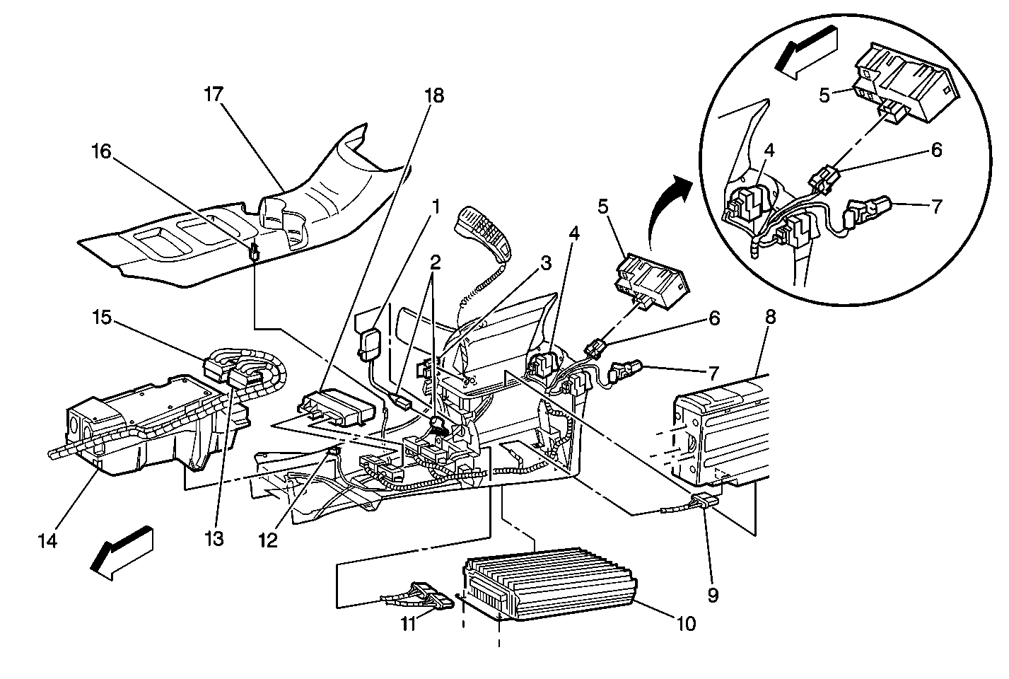
Figure
2:
Auxiliary Power and Stereo Controller
(1)
Shock Sensor
(2)
Shock Sensor Connector
(3)
Vehicle Communication Unit
(4)
Heated Seat Switch Rear Connector
(5)
Stereo Controller, Rear
(6)
Stereo Controller, Rear Connector
(7)
Auxiliary Power Connector, Rear Console
(8)
CD Changer
(9)
CD Changer Connector
(10)
Audio Amplifier
(11)
Audio Amplifier Connectors
(12)
Sub Woofer Connector
(13)
C304
(14)
Sub Woofer
(15)
C305
(16)
Security LED
(17)
Console Trim Cover
(18)
Body Control Module C1, C2, and C3
Figure
3:
CD Changer
(1)
Shock Sensor
(2)
Shock Sensor Connector
(3)
Vehicle Communication Unit
(4)
Heated Seat Switch Rear Connector
(5)
Stereo Controller, Rear
(6)
Stereo Controller, Rear Connector
(7)
Auxiliary Power Connector, Rear Console
(8)
CD Changer
(9)
CD Changer Connector
(10)
Audio Amplifier
(11)
Audio Amplifier Connectors
(12)
Sub Woofer Connector
(13)
C304
(14)
Sub Woofer
(15)
C305
(16)
Security LED
(17)
Console Trim Cover
(18)
Body Control Module C1, C2, and C3
Figure
4:
Radio Wiring
(1)
IP Harness
(2)
Radio Connector, C2
(3)
Radio Connector, C1
(4)
Radio Connector, C3
Figure
5:
Rear Speakers
(1)
Rear Speaker Connector, RR
(2)
Rear Speaker, RR
(3)
Front to Rear Body Harness
(4)
Rear Speaker, LR
(5)
Rear Speaker Connector, LR
Figure
6:
Radio Speaker Jumper Harness
(1)
Radio
(2)
Speaker Harness
(3)
Turn/Hazard Flasher Wiring
Figure
7:
Rear Speakers (Regular Cab)
(1)
Left and Right Rear Speakers
(1)
Left and Right Rear Speakers