GM Service Manual Online
For 1990-2009 cars only

Tools Required

    • J 5590 Installer
    • J 8092 Driver Handle
    • J 29169 Bearing Installer/ Remover
    • J 33832 Bearing Installer/Remover
    • J 37668 Seal Installer

    Object Number: 153455  Size: SH
  1. Install the needle bearings to the mainshaft.
  2. Install the retainer ring with the numbered side of the bearing facing the bearing driver.
  3. Install the oil pump pickup to the pickup tube.
  4. Install the following components to the oil pump body:
  5. • The pickup tube
    • The oil pump pickup
    • The retainer
  6. Lubricate the assembly with automatic transmission fluid.
  7. Use Dexron® III automatic transmission fluid or equivalent.

    Notice: Use the correct fastener in the correct location. Replacement fasteners must be the correct part number for that application. Fasteners requiring replacement or fasteners requiring the use of thread locking compound or sealant are identified in the service procedure. Do not use paints, lubricants, or corrosion inhibitors on fasteners or fastener joint surfaces unless specified. These coatings affect fastener torque and joint clamping force and may damage the fastener. Use the correct tightening sequence and specifications when installing fasteners in order to avoid damage to parts and systems.

  8. Install the oil pump drive gear and the oil pump driven gear into the oil pump body.
  9. Tighten
    Tighten the pump cover bolts to 10 N·m (89 lb in).

  10. Inspect the oil pump operation on the mainshaft.
  11. The mainshaft must turn freely within the oil pump.

    If binding occurs, adjust the mainshaft:

    7.1. Remove the cover.
    7.2. Rotate the gears.
    7.3. Reinstall the cover.

    Object Number: 153454  Size: SH
  12. Install the compression spring to the lockup collar.
  13. Install the lockup hub which compresses the compression spring.
  14. Install the synchronizer hub snap ring.
  15. Use the J 37668 in order to install the rear output shaft seal to the rear bearing retainer.

  16. Object Number: 153458  Size: SH
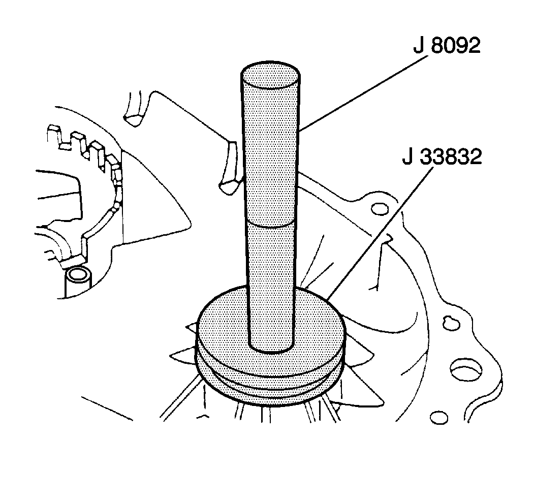
  17. Use the J 8092 and the J 33832 in order to install the front output bearing to the front case.

  18. Object Number: 153449  Size: SH
  19. Install the front output bearing snap ring to the front case.
  20. Use the J 37668 in order to install the front output shaft seal to the front case.
  21. Use the J 8092 and the J 33832 in order to install the rear output bearing to the rear case.

  22. Object Number: 153460  Size: SH
  23. Use the J 8092 and the J 29169 in order to install the front input bearing to the front case.

  24. Object Number: 153442  Size: SH
  25. Install the front input bearing snap ring to the front case.

  26. Object Number: 153438  Size: SH
  27. Install the following components to the front case:
  28. • The selector
    • The detent spring
    • The detent roller
  29. Install the selector shaft through the case.
  30. Align the selector shaft with the spline on the selector.

  31. Connect the retainer clip to the selector shaft.

  32. Object Number: 153435  Size: SH
  33. Install the power take off drive gear facing the planetary gears and the input assembly to the front case.

  34. Object Number: 153432  Size: SH
  35. Install the input carrier snap ring to the input carrier.
  36. Use the J 37668 in order to install the input shaft front oil seal to the front case.

  37. Object Number: 153430  Size: SH
  38. Install the annulus gear to the front case.

  39. Object Number: 153427  Size: SH
  40. Install the annulus gear snap ring to the front case. The open end of the snap ring should be facing the shift shaft.

  41. Object Number: 153425  Size: SH
  42. Install the range fork and the shift shaft hub.
  43. Align the shift hub to the carrier assembly.

    Align the shift fork pin to the slot in the selector.

  44. Install the shift rail through the range fork and into the boss in the front case.

  45. Object Number: 153424  Size: SH
  46. Install the mainshaft and the oil pump assembly into the carrier assembly.
  47. The hub fits in one orientation with the mainshaft. Line up the wide spline of the shaft to the wide slot in the hub.


    Object Number: 153423  Size: SH
  48. Install the drive chain, the driven gear, and the drive gear to the front output shaft bearing. Note the orientation of the master link. Install in the same position it was disassembled.

  49. Object Number: 153421  Size: SH
  50. Install the front output shaft ring and the washer to the one piece sprocket and the shaft.

  51. Object Number: 153419  Size: SH
  52. Assemble the synchronizer assembly and the mode shift fork.
  53. Align the synchronizer assembly to the mainshaft drive gear.

    Align the mode fork to the shift rail.

  54. Install the synchronizer hub to the synchronizer hub assembly.

  55. Object Number: 153418  Size: SH
  56. Install the clutch coil housing and the clutch coil housing snap ring to the mainshaft. The flat side of the snap ring must face the rear of the assembly.
  57. Connect the shift rail spring to the shift rail.
  58. Install the clutch coil to the rear case.
  59. Install the clutch coil nuts to the clutch coil.
  60. Tighten
    Tighten the clutch coil nuts to 10 N·m (84 lb in).


    Object Number: 153417  Size: SH
  61. Install the clutch coil wire through the rear case.
  62. Connect the clutch coil wire connector to the clutch coil wire.

  63. Apply RTV sealer GM P/N 12345739 or equivalent to the following areas:
  64. • The pump body sealing surfaces
    • The front case half
    • The rear case half

    Important: If equipped with bracket, the bracket bolt is to be installed at 12 o'clock.

  65. Install the case bolts to the case halves.
  66. Tighten
    Tighten the case bolts to 41 N·m (30 lb ft).


    Object Number: 153415  Size: SH
  67. Install the rear output bearing snap ring to the mainshaft. The flat side of the snap ring must face the rear of the assembly.
  68. Important: The speedometer tone wheel is important to the proper operation of the following components:

       • The anti-lock braking system
       • The speedometer/odometer
       • The cruise control
       • The PCM
    If it is removed, it must be replaced with a new part. Discard the old part.

    Do not damage the new speedometer tone wheel during installation.

  69. Use the J 5590 in order to install the new speedometer tone wheel to the mainshaft.