GM Service Manual Online
For 1990-2009 cars only

    Object Number: 405026  Size: SH
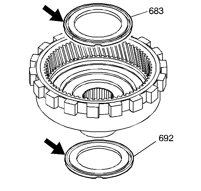
  1. Inspect the reaction carrier/support thrust bearing assembly (683) for damage.
  2. Inspect the reaction gear support to case bearing (692) for damage.

  3. Object Number: 5501  Size: SH
  4. Inspect the internal reaction gear (684) and the internal reaction gear support (685) for proper assembly, stripped splines, cracks, teeth, and lug damage.

  5. Object Number: 5504  Size: SH
  6. Check the reaction carrier pinion end play. The end play must not exceed 0.61 mm (0.024 in).
  7. Inspect the reaction carrier for the following conditions:

    • Pinion gear damage
    • Proper pinion staking
    • Excessive pinion washer wear
    • Keystoned pinion gears
  8. Ensure that the pinions turn freely.

  9. Object Number: 13243  Size: SH
  10. Inspect the reaction carrier captive thrust bearing for wear or damage.
  11. 6.1. Without touching the pinion gears, place a bushing or an output shaft sleeve (690) onto the bearing race, and turn it with the palm of your hand.
    6.2. Any imperfections will be felt through the bushing.