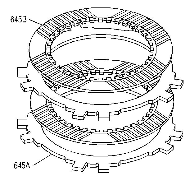
- Inspect the fiber plate
assemblies (645B) and the steel plates (645A) for the following defects:
- Install the overrun clutch
plates into the input housing starting with a steel plate (645B) and alternating
with fiber plate assemblies (645A).
- Index the plates in the input housing with the wide notches remaining
open.
- Install the input sun
gear bearing assembly (637) into the input housing.