GM Service Manual Online
For 1990-2009 cars only

Removal Procedure

Tools Required

    • J 7004-A Universal Remover
    • J 8092 Universal Driver Handle - 3/4 in - 10
    • J 21465-01 Bushing Service Set
    • J 34196-B Transmission Bushing Service Set

    Object Number: 55075  Size: SH
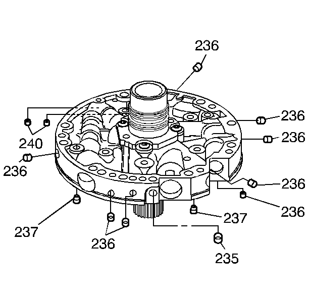
  1. Inspect the pump cover, all check valve retainer and ball assemblies (237), cup plugs (235, 236) and orificed cup plugs (238, 240).

  2. Object Number: 7449  Size: SH
  3. Inspect the pump cover for the following:
  4. • Worn or damaged bushings
    • Foreign material or debris
    • Porosity
    • Scored or irregular mating faces
    • Cross channel leaks
    • Ring groove damage

    Object Number: 7450  Size: SH
  5. Using the J 21465-15 with the J 7004-A , remove the stator shaft front bushing (234).

  6. Object Number: 7452  Size: SH
  7. Using the J 25019-14 with the J 7004-A , remove the stator shaft rear bushing (241).

Installation Procedure


    Object Number: 7451  Size: SH
  1. Using the J 21465-2 and the J 8092 , install a new stator shaft front bushing (234).

  2. Object Number: 7510  Size: SH
  3. Using the J 34196-2 which is part of kit J 34196-B and the J 8092 , install the stator shaft rear bushing (241).