 
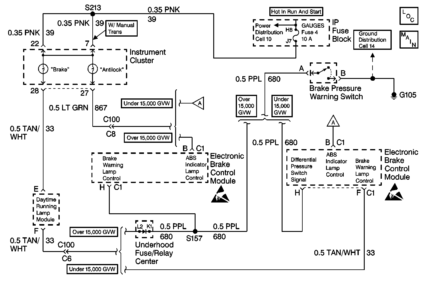
The red BRAKE warning lamp is supplied ignition voltage through the GAUGES fuse. The BRAKE warning lamp can be illuminated by the EBCM, Daytime Running Lights Module (DRL) or Brake Pressure Warning Switch. If a DTC C0288 sets, the EBCM will store in memory but will not disable the ABS. If a DTC C0288 is in memory, the EBCM will not attempt to perform a BRAKE warning lamp bulb check at startup. Also the EBCM will not attempt to use the BRAKE indicator lamp as a backup if the ABS indicator lamp operation is inhibited by a DTC C0286.
| • | High voltage is present on the BRAKE warning lamp circuit when the circuit is expected to be low (lamp commanded on by the EBCM) | 
| • | Anything that keeps the Brake warning lamp circuit high when the lamp is supposed to be illuminated (such as a short to voltage on CKT 33) | 
No action taken, the ABS is not disabled.
| • | Repair the conditions responsible for setting the DTC | 
| • | Use the Scan Tool Clear DTCs function | 
DTC C0288 is usually set by a short to voltage in the wiring between the brake warning lamp and the EBCM.
The numbers below refer to the steps in the diagnostic table.
Determines if the BRAKE warning lamp circuit is operating properly when controlled by the EBCM (with diesel engines).
This step determines which variation of circuitry the vehicle is equipped.
This step determines if the BRAKE warning lamp circuit is operating properly without the EBCM (with diesel engines).
This step decides between a constant or intermittent short to voltage condition.
This step determines if the BRAKE warning lamp circuit is operating properly without the EBCM (with gas engines).
This step decides between a constant or intermittent short to voltage condition.
| Step | Action | Value(s) | Yes | No | ||||||
|---|---|---|---|---|---|---|---|---|---|---|
| 1 | Was the ABS Diagnostic System Check performed? | -- | Go to Step 2 | |||||||
| 
 Did the BRAKE warning lamp turn on and then off after 2 seconds? | -- | Go to Step 6 | Go to Step 3 | |||||||
| Take note of the GVW rating of the vehicle. Is the vehicle rated at over 15,000 GVW? | -- | Go to Step 4 | Go to Step 9 | |||||||
| 
 Does the BRAKE warning lamp turn on? | -- | Go to Step 7 | Go to Step 5 | |||||||
| Inspect the jumper wire fuse Is the fuse open? | -- | Go to Step 8 | Go to Step 6 | |||||||
| 6 | The malfunction is intermittent. Perform the following: 
 
 
 Is repair complete? | -- | -- | |||||||
| 7 | Replace the EBCM. Refer to Electronic Brake Control Module Replacement . Is repair complete? | -- | -- | |||||||
| 8 | Repair a short to voltage in CKT 680. Is repair complete? | -- | -- | |||||||
| 
 Does the BRAKE warning lamp turn on? | -- | Go to Step 7 | Go to Step 10 | |||||||
| Inspect the jumper wire fuse Is the fuse open? | -- | Go to Step 11 | Go to Step 6 | |||||||
| 11 | Repair a short to voltage in CKT 33. Is repair complete? | -- | -- |