GM Service Manual Online
For 1990-2009 cars only

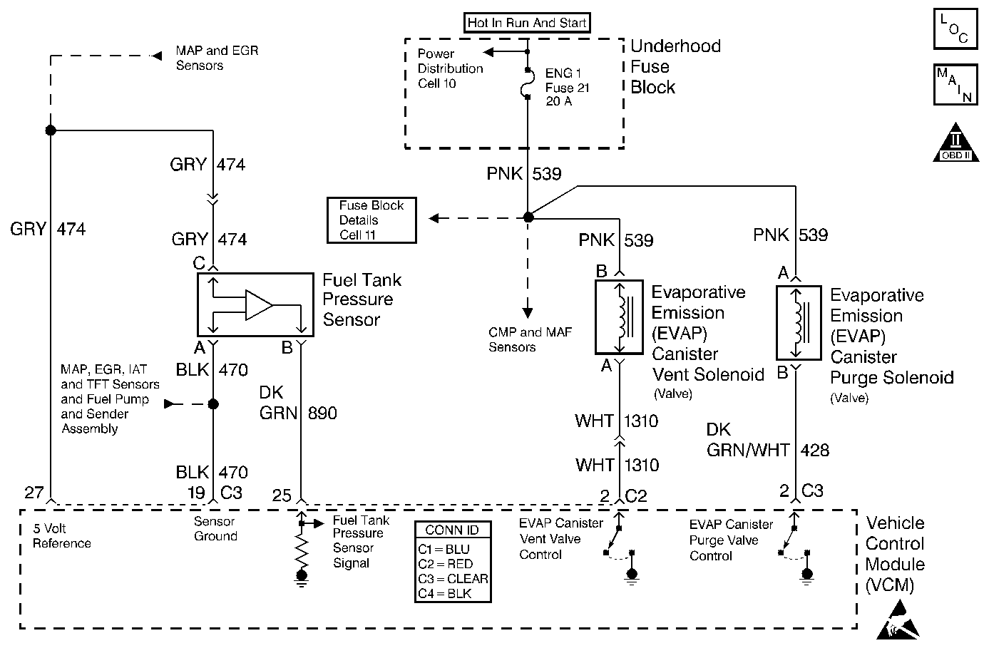
Object Number: 394344  Size: MF
Engine Controls Components
Evaporative and EGR Controls
OBD II Symbol Description Notice
Handling ESD Sensitive Parts Notice

Circuit Description

The evaporative system includes the following components:

    • The fuel tank
    • The EVAP vent solenoid
    • The fuel tank pressure sensor
    • The fuel pipes and hoses
    • The vapor lines
    • The fuel cap
    • The evaporative emission canister
    • The purge lines
    • The EVAP purge solenoid

The evaporative leak detection diagnostic strategy is based on applying a vacuum to the EVAP system and monitoring the vacuum decay rate. The VCM monitors vacuum level via the fuel tank prssure sensor input. At an appropriate time, the EVAP purge solenoid and the EVAP vent solenoid are turned ON, allowing the engine vacuum to draw a small vacuum on the entire evaporative emission system. After the desired vacuum level has been achieved, the EVAP purge solenoid turns OFF, sealing the system. A leak is detected by monitoring for a decrease in the vacuum level over a given time period. A small leak in the system will cause DTC P0442 to be set.

Conditions for Running the DTC

    • No active MAP sensor DTCs
    • No active TP sensor DTCs
    • No active VS sensor DTCs
    • No active O2 sensor DTCs
    • No active ECT sensor DTCs
    • No active IAT sensor DTCs
    • DTC P0125 not active
    • The fuel level is between 12.5% and 87%
    • The ECT is between 4°C and 30°C (39°F to 86°F)
    • The IAT is between 4°C and 30°C (39°F to 86°F)
    • The cold start temperature difference (ECT minus IAT) is less than
        1.5°C when the IAT is greater than the ECT
        8°C when the ECT is greater than the IAT
    • The BARO is greater than 72 kPa
    • The change in fuel tank vacuum is less than 0.6 in. of H2O, or the change in fuel level is less than 8%
    • The throttle position is less than 75%
    • The vehicle speed is less than 65 MPH
    • The fuel tank vacuum level remains above a calibrated value for a specified number of seconds

Conditions for Setting the DTC

The EVAP system is unable to hold a specified vacuum level for a calibrated number of seconds.

Action Taken When the DTC Sets

    • This is a type A DTC that behaves like a B type, in which the VCM illuminates the MIL during the second key cycle.
    • The VCM stores the conditions that were present when the DTC sets as the Freeze Frame and the Fail Records data.

Conditions for Clearing the MIL or DTC

    • The control module turns OFF the MIL after 3 consecutive drive trips when the test has run and passed.
    • A history DTC will clear if no fault conditions have been detected for 40 warm-up cycles. A warm-up cycle occurs when the coolant temperature has risen 22°C (40°F) from the startup coolant temperature and the engine coolant reaches a temperature that is more than 70°C (158°F) during the same ignition cycle.
    • Use a scan tool in order to clear the DTCs.

Diagnostic Aids

Important: An accurate indication of fuel level is required for the VCM to properly Pass or Fail this DTC. Always diagnose fuel level sensor DTCs before performing this DTCs diagnostic table. Always check for fuel level sensor DTCs stored in History.

Physically check for the following conditions:

    • A loose, missing, damaged, incorrect or improperly installed fuel cap
    • Missing or damaged O-rings at EVAP canister fuel vapor and purge line fittings
    • A cracked or punctured EVAP canister
    • A damaged or disconnected EVAP purge line, vent hose or fuel tank vapor line
    • Incorrectly routed or damaged EVAP system purge and vapor lines
    • A poor connection at the VCM: Inspect the harness connectors for the following conditions:
       - Backed out terminals
       - Improper mating
       - Broken locks
       - Improperly formed or damaged terminals
       - poor terminal to wire connection
    • A damaged harness: Inspect the wiring harness to the EVAP vent solenoid, EVAP purge solenoid and the fuel tank pressure sensor for an intermittent, open or short circuit
    • A kinked, pinched or plugged vacuum source, EVAP purge, or fuel tank vapor line. Verify that the lines are not restricted

Refer to Evaporative Emission System Cleaning before starting repairs.

Reviewing the Fail Records vehicle mileage since the diagnostic test last failed may help determine how often the condition that caused the DTC to be set occurs. This may assist in diagnosing the condition.

Test Description

Number(s) below refer to the step number(s) on the Diagnostic Table.

  1. Inspect the service port. Make sure that the valve core is not damaged. If the service port is suspect of leakage use the following procedure:

    Disconnect the purge line from the EVAP Purge solenoid valve.

    Connect a hand vacuum pump to the service port by placing the hose/adaptor over the unthreaded end portion of the service port.

    Apply vacuum to 5 in. Hg. If the vacuum does not hold replace the entire purge line which contains the service port.

  2. If the vehicle passes the Service Bay Test then an intermittent leak had occurred. Check the fuel tank cap for a possible loose or leaking condition that may have caused this DTC to set.

    If the Service Bay Test can not be run, proceed to Step 5. If a fault is not currently present the diagnostic table steps will return you to Step 3.

  3. Refer to the information supplied with the EVAP pressure/purge diagnostic cart on proper setup and adjustment procedures.

  4. An EVAP Pressure sensor that does not correctly respond to pressure or vacuum will cause this DTC to set.

    The EVAP Pressure Sensor monitors a range from 7.5 in. H2O of pressure to -17.5 in. H2O of pressure (vacuum).

Step

Action

Value(s)

Yes

No

1

Important: : Before clearing the DTCs, use the scan tool Capture Info to save the Freeze Frame and Failure Records for reference. The control module's data is deleted once the Clear Info function is used.

Did you perform the Powertrain On-Board Diagnostic (OBD) System Check?

--

Go to Step 2

Go to Powertrain On Board Diagnostic (OBD) System Check

2

Check for DTCs P0440, P0446, P0452, P0453, P0461, P0462, P0463, and P1441.

Are any other EVAP system DTCs stored in HISTORY?

--

Go to the DTCs that are set.

Go to Step 3

3

Inspect the EVAP system for the following conditions:

    • A loose, incorrect, defective or missing fuel tank cap.
    • Improperly routed, kinked or damaged EVAP system purge lines.
    • A damaged EVAP system component.
    • A loose, missing or damaged service port dust cap and/or schrader valve. Refer to Test Descriptions.

Repair the EVAP system if needed.

Was a repair made to the EVAP system?

--

Go to Step 15

Go to Step 4

4

Important: Before proceeding with the Service Bay Test the vehicle must meet the following operating criteria:

   • Clear DTC Information.
   • Battery voltage between 10.5 and 17.5 volts.
   • Fuel level between 15% and 85%.
   • Key ON engine temperature is less than 80°C (176°F).

If any of the above conditions are not met the scan tool will display Test Aborted upon activating the Service Bay Test.

  1. Record the data stored when the DTC set and clear codes.
  2. Using the scan tool, perform the Service Bay Test for the EVAP system.

Does the vehicle pass the Service Bay Test?

--

Fault not present. Go to Test Description

Go to Step 5

5

  1. Turn the ignition OFF.
  2. Remove the EVAP Purge line from the EVAP Purge Solenoid Valve.
  3. Connect a hand vacuum pump to the purge connection of the EVAP Purge Solenoid Valve.
  4. Using the hand vacuum pump apply vacuum up to the specified value.

Can the specified value of vacuum be obtained and held?

12 in Hg

Go to Step 6

Go to Step 10

6

  1. Reconnect the EVAP Purge Solenoid Valve line.
  2. Disconnect the fuel tank vapor and the EVAP purge line from the EVAP vapor canister.
  3. Plug the canister fitting for the fuel tank vapor line.
  4. Connect a hand vacuum pump to the EVAP Purge line canister fitting.
  5. Turn the key ON.
  6. Using a scan tool command the EVAP Vent Valve ON (CLOSED).
  7. Using the hand vacuum pump apply vacuum up to the specified value.

Can the specified value of vacuum be obtained and held?

5 in Hg

Go to Step 9

Go to Step 7

7

  1. Leave system connected as in Step 6.
  2. Disconnect the vent line at the EVAP Vent Valve.
  3. Plug the vent line.
  4. Using the hand vacuum pump apply vacuum up to the specified value.

Can the specified value of vacuum be obtained and held?

5 in Hg

Go to Step 11

Go to Step 8

8

  1. Inspect the EVAP Vent line from the canister to the EVAP Vent Valve for leaks.
  2. Replace if needed.

Was the EVAP Vent line replaced?

--

Go to Step 15

Go to Step 12

9

Important: The following steps require the EVAP pressure/purge diagnostic station J 41413 and the ultrasonic leak detector J 41416.

Always zero the EVAP Pressure and Vacuum (in H2O) gauges on the EVAP pressure/purge diagnostic station before proceeding with diagnosis.

  1. Turn the ignition OFF.
  2. Remove the plug and the hand vacuum pump.
  3. Reconnect the EVAP vapor canister purge and tank vent lines.
  4. Connect the EVAP pressure/purge diagnostic station J 41413 to the EVAP system service port.
  5. Using a scan tool command the EVAP Vent Valve Closed.
  6. Important: Do Not apply more than 15 in H2O of pressure to the EVAP system.

  7. Continuously attempt to pressurize the EVAP system by leaving the EVAP pressure/purge diagnostic station control knob in the pressurize position.
  8. Using the ultrasonic leak detector J 41416 locate and repair EVAP system leak.

Was a leak found and repaired?

--

Go to Step 15

Go to Step 13

10

Important: Inspect the EVAP Purge Solenoid Valve and the purge line for carbon contamination. Refer to diagnostic aids.

Replace the EVAP Purge Solenoid Valve. Refer to Evaporative Emission Canister Purge Solenoid Valve Replacement .

Is the replacement complete?

--

Go to Step 15

--

11

Replace the EVAP Vent Valve. Refer to Evaporative Emission Vent Valve Replacement .

Is the replacement complete?

--

Go to Step 15

--

12

Replace the EVAP Vapor Canister. Refer to Evaporative Emission Canister Replacement .

Is the replacement complete?

--

Go to Step 15

--

13

  1. Relieve all system pressure.
  2. Using the scan tool, use the Purge/Seal function to turn the EVAP Purge Solenoid Valve ON to varying vacuum levels with the engine running and quickly SEAL the system with the scan tool. Leaving the EVAP Purge Solenoid Valve ON for higher percents or longer times will allow a higher amount of vacuum to develop. A maximum of 8.5 in H2O of vacuum can be applied to the EVAP system using the scan tool.
  3. While the system is sealed compare the EVAP pressure/purge diagnostic stations vacuum gauge (in H2O) to the vacuum shown on the scan tool from the EVAP Fuel Tank Pressure sensor. Allow a few seconds for the system to stabilize.

Do both values indicate the same amount of vacuum in the EVAP system to within the range specified?

+ or - 2 in H2O

Go to Step 3

Go to Step 14

14

Replace the EVAP Fuel Tank Pressure Sensor. Refer to Fuel Tank Pressure Sensor Replacement .

Is the replacement complete?

--

Go to Step 15

--

15

  1. Using the Scan tool, clear the DTCs.
  2. Start the engine.
  3. Allow the engine to idle until the engine reaches normal operating temperature.
  4. Select DTC and the Specific DTC function.
  5. Enter the DTC number which was set.
  6. Operate the vehicle, with the Conditions for Setting this DTC, until the Scan Tool indicates the diagnostic Ran.

Does the Scan Tool indicate the diagnostic Passed?

--

Go to Step 16

--

16

Does the Scan Tool display any additional undiagnosed DTCs?

--

Go to applicable DTC table

System OK