GM Service Manual Online
For 1990-2009 cars only

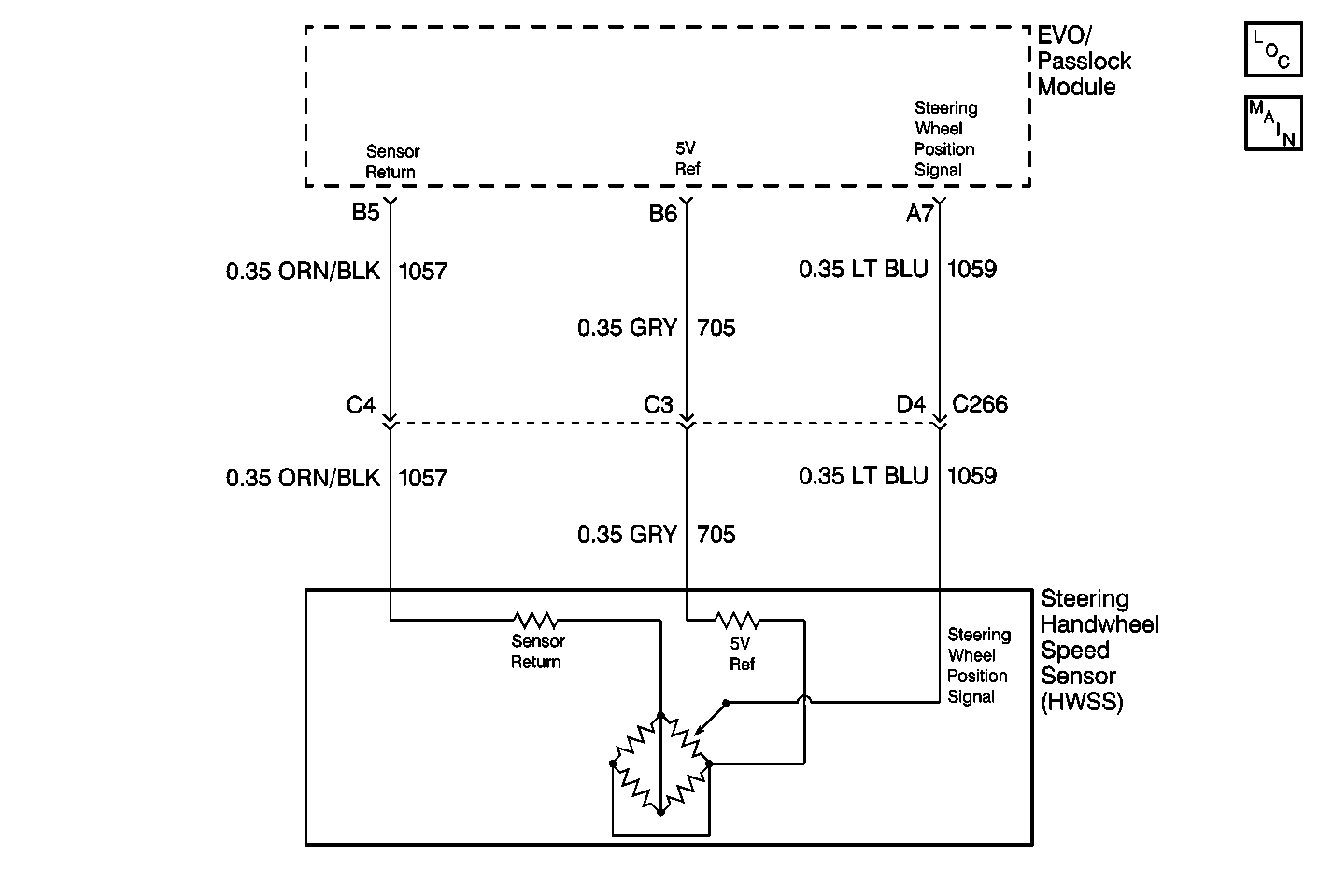
Object Number: 363971  Size: MF
Steering Controls Components
Variable Effort Steering

Circuit Description

The EVO/Passlock™ module receives the vehicle speed information through the vehicle control module (VCM) of the gasoline engines, or the powertrain control module (PCM) of the diesel engines, and the class 2 data line. With the vehicle speed information, the EVO/Passlock™ module compares the vehicle speed signal received from the VSS with the vehicle speed data received from the class 2 data line. The VSS is a permanent magnet sensor producing an AC signal with varying frequency. The VSS is mounted in the transmission, or the transfer case in selectable four wheel drive models, and is driven off the output shaft. The VSS produces a pulsing AC voltage and the number of pulses increase with the vehicle speed. The VCM/PCM supplies the vehicle speed signal to the instrument cluster and to the EVO/Passlock™ module.

Conditions for Setting the DTC

  1. The steering wheel rotation sensor signal circuit voltage is less than 0.2 volts.
  2. The above condition is met for 1 second.

Action Taken When the DTC Sets

The EVO/Passlock™ module does not send any current to the PS solenoid actuator. This causes retraction of the PS solenoid actuator. This provides the maximum fluid flow and the full power steering assist at all times.

Conditions For Clearing The DTC

    • A history DTC will clear after 100 consecutive ignition cycles have occurred without a fault.
    • The history and the current DTC can be cleared by using the scan tool.

Diagnostic Aids

the scan tool will read the steering wheel position in volts. With the ignition switch in the ON position, and as the steering handwheel speed sensor is rotated, the voltage reading should be 0.2-4.9 volts. The voltage should increase at a steady rate up to 4.9 volts when the wheel is turned, one quarter revolution (90 degrees) in either direction.

    • Above 0.2 volts.
    • Below 4.9 volts when the steering wheel is rotated one quarter revolution (90 degrees).

Using the scan tool, scan the handwheel speed sensor.

    • Above 0.2 volts.
    • Turn the steering wheel.
    • The scan tool display should increase from above 0.2 volts and below 4.9 volts as the steering wheel is turned one quarter revolution (90 degrees).

Test Description

The numbers below refer to the step numbers on the diagnostic table.

  1. This step prompts the technician to complete some basic checks and to store the Snapshot data. This creates an electronic copy of the data taken when the fault occurred. Refer to the stored information in the scan tool as necessary. Step 2 also verifies when the voltage is between 0.2-4.9 volts. The electronic variable orifice (EVO)/Passlock™ module uses this voltage in order to detect changes in the rate of steering. The system voltage should increase and decrease proportionately to the steering wheel rotational speed. If the voltage is not within the specifications, an appropriate DTC sets. In addition to the DTC diagnosis, check for binding, grinding or damaged steering wheel rotation sensor. Refer to Supplemental Inflatable Restraint Steering Column Unit Repair.

  2. This step simulates a high voltage signal, which identifies an open in the signal circuit.

  3. This step checks for voltage with a digital multimeter (DMM) while probing the signal circuit of the steering wheel rotation sensor. The signal circuit of the steering wheel rotation sensor shorts to ground, if voltage is present.

  4. This step checks the terminals for any improper mating, broken locks and physical damage of the wiring harness prior to the replacement of the EVO/Passlock™ module.

Step

Action

Value(s)

Yes

No

1

Was the Variable Effort Steering System Check performed?

--

Go to Step 2

Go to Variable Effort Steering System Check

2

  1. Turn the ignition switch to the ON position with the engine off.
  2. Connect a scan tool.
  3. Select from the Chassis Menu, Electronic Variable Orifice Data Display.
  4. Check the scan tool while turning the steering wheel one quarter revolution (90 degrees).
  5. Return the steering wheel to the center position.

  6. Repeat the previous step twice.
  7. Review the Snapshot data.

Does the value of the steering wheel rotation sensor increase and decrease steadily to the specified value when the steering wheel rotates?

0.2-4.9 V

Go to Variable Effort Steering System Check

Go to Step 3

3

  1. Rotate the steering wheel one quarter revolution (90 degrees).
  2. Return the wheel to the center position.

  3. Record and reviews the Snapshot data from the scan tool.

Is the voltage of the steering wheel rotation sensor less than the specified value?

0.2 V

Go to Step 4

Go to Step 13

4

  1. Turn the ignition switch to the OFF position.
  2. Disconnect the electrical connector of the steering wheel rotation sensor.
  3. from the 5.0 volts reference GRY (704) wire to the signal LT BLU (1059) wire at the electrical connector of the steering wheel rotation sensor.
  4. Monitor the scan tool values.

Is the steering wheel rotation sensor voltage within the specified range?

0.2-4.9 V

Go to Step 12

Go to Step 5

5

  1. Connect the steering wheel rotation sensor connector.
  2. Using a DMM, connect the negative lead to ground and probe the signal LT BLU (1059) wire at the harness connector of the rotation sensor.

Is the steering wheel rotation sensor voltage within the specified range?

--

Go to Step 6

Go to Step 10

6

Using a DMM, connect the negative lead to ground and probe the sensor return at the ORN/BLK (1057) wire at the harness connector of the sensor.

Is the steering wheel rotation sensor voltage within the specified range?

0.2-4.9 V

Go to Step 8

Go to Step 7

7

Check the sensor return circuit ORN/BLK (1057) wire for an open or a short to ground.

Did you find and correct a problem?

--

Go to Variable Effort Steering System Check

Go to Step 8

8

Check the 5.0 volt reference circuit for an open or a short to ground in the signal GRY (705) wire of the rotation sensor.

Did you find and correct a problem?

--

Go to Step 14

Go to Step 9

9

  1. Check the 5.0 volt reference GRY (705) wire for a poor connection at the EVO/Passlock™ module.
  2. Repair or replace the terminal(s) as necessary.

Did you find and correct a problem?

--

Go to Step 14

Go to Step 13

10

Check the signal LT BLU (1059) wire of the steering wheel rotation sensor for an open or a short to ground.

Did you find and correct a problem?

--

Go to Step 14

Go to Step 11

11

Check the signal LT BLU (1059) wire for a poor connection at the EVO/Passlock™ module.

Did you find and correct a problem?

--

Go to Step 14

Go to Step 12

12

Replace the steering wheel rotation sensor. Refer to Steering Wheel Position Sensor or Steering Shaft Lower Bearing Replacement .

Was the repair completed?

--

Go to Step 14

Go to Variable Effort Steering System Check

13

Replace the EVO/Passlock™ module. Refer to Theft Deterrent Module Replacement in Theft Deterrent.

Was the repair completed?

--

Go to Step 14

Go to Variable Effort Steering System Check

14

  1. Using the scan tool, clear the DTCs.
  2. Start the vehicle.
  3. Drive the vehicle until normal operating temperature is reached.

  4. Operate the vehicle for conditions for setting this DTC. Refer to Conditions for Setting the DTC.

Does the scan tool display DTC C0472?

--

Go to Step 2

Go to Step 15

15

Does the scan tool display any DTCs that have not been diagnosed?

--

Go to the appropriate DTC table

System OK