 
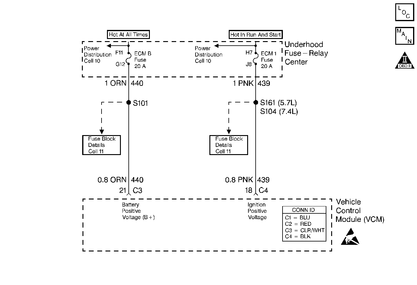
Circuit 439 is the ignition voltage feed for the vehicle control module (VCM). Circuit 440 is the battery voltage feed for the VCM.
If the VCM detects a low voltage, a high voltage for a long time, or a high voltage, for a short amount of time, then DTC P0560 sets. DTC P0560 is a type D DTC.
| • | The engine speed is greater than 1500 RPM. | 
| • | The ignition is ON. | 
| • | No engine speed needed. | 
| • | The ignition is ON. | 
One of the following conditions exists for greater than 15 seconds.
| • | The system voltage is less than 10.5 volts at a maximum transmission temperature of 152°C (305°F) or: | 
| • | The system voltage is less than 6.7 volts at a minimum transmission temperature of -40°C (-40°F). | 
The system voltage is greater than 19 volts for 10 seconds.
| • | The VCM does not illuminate the malfunction indicator lamp (MIL). | 
| • | The VCM causes an immediate landing to second gear. | 
| • | The VCM turns off the PC solenoid valve. | 
| • | The VCM inhibits the TCC engagement. | 
| • | The VCM freezes the shift adapts. | 
| • | The VCM stores DTC P0560 in VCM history. | 
| • | A scan tool clears the DTC from VCM history. | 
| • | The VCM clears the DTC from VCM history if the vehicle completes 40 warm-up cycles without a non-emission-related diagnostic fault occurring. | 
| • | The VCM cancels the DTC default actions when the fault no longer exists and the ignition switch is OFF long enough in order to power down the VCM. | 
| • | Charging the battery with a battery charger and jumpstarting an engine may set this DTC. | 
| • | If this DTC is set when an accessory is operated, inspect for faulty connections or an excessive current draw. | 
| • | Inspect for faulty electrical connections at the starter solenoid. | 
| • | Inspect for faulty electrical connections at the fusible link. | 
| • | Inspect for loose or damaged terminals at the generator. | 
| • | Inspect the generator belt condition and tension. | 
| • | First diagnose and clear any engine DTCs or TP sensor codes that are present. Then inspect for any transmission DTCs that may have reset. | 
This step tests the charging system voltage.
This step tests the battery voltage input at the VCM.
This step tests the ignition voltage and battery voltage inputs at the VCM.
| Step | Action | Value(s) | Yes | No | ||||||
|---|---|---|---|---|---|---|---|---|---|---|
| 1 | Was the Powertrain On-Board Diagnostic (OBD) System Check performed? | -- | Go to Powertrain On Board Diagnostic (OBD) System Check (5.7L) or Powertrain On Board Diagnostic (OBD) System Check (7.4L) | |||||||
| 2 | 
 Important: Before clearing the DTCs, use the Scan Tool in order to record Failure Records. Using the Clear Info function erases the Failure Records from the VCM. Is the voltage higher than the specified value? | 10 volts | ||||||||
| 3 | 
 Is the generator/check engine light ON? | -- | Go to Charging System Check | |||||||
| 
 Is the J 39200 DMM voltage within the specified range? | 13-15 volts | Go to Charging System Check | ||||||||
| 
 Is the Scan Tool Ignition Voltage within the specified range. | 13-15 volts | System OK Go to Diagnostic Aids | ||||||||
| 
 Is there a voltage variance between the voltage measured at the battery (taken in Step 4) and at terminals C4-18 and C3-21 that is greater than the specified value? | 0.5 volts | |||||||||
| 7 | Does terminal C4-18 have the voltage variance? | -- | ||||||||
| 8 | Repair the high resistance condition in circuit 439 (PNK). Refer to Wiring Repairs in Wiring Systems. Is the repair complete? | -- | -- | |||||||
| 9 | Repair the high resistance condition in circuit 440 (ORN). Refer to Wiring Repairs in Wiring Systems. Is the repair complete? | -- | -- | |||||||
| 10 | Replace the VCM. Refer to VCM Replacement/Programming (5.7L) or VCM Replacement/Programming (7.4L) in Engine Controls. Is the replacement complete? | -- | -- | |||||||
| 11 | Perform the following procedure in order to verify the repair: 
 
 
 
 Has the test run and passed? | -- | System OK | 
 
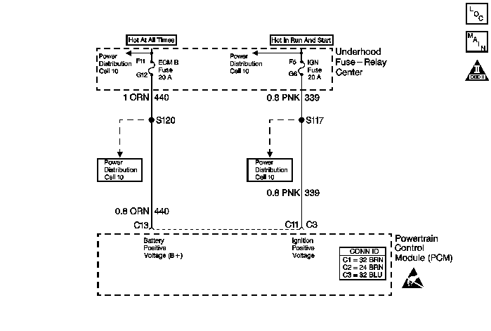
Circuit 339 is the ignition voltage feed for the powertrain control module (PCM). Circuit 440 is the battery voltage feed for the PCM.
If the PCM detects a low voltage, a high voltage for a long time, or a high voltage, for a short amount of time, then DTC P0560 sets. DTC P0560 is a type D DTC.
| • | The engine speed is greater than 1500 RPM. | 
| • | The ignition is ON. | 
| • | No engine speed needed. | 
| • | The ignition is ON. | 
One of the following conditions exists for greater than 15 seconds.
| • | The system voltage is less than 10.5 volts at a maximum transmission temperature of 152°C (305°F) or: | 
| • | The system voltage is less than 6.7 volts at a minimum transmission temperature of -40°C (-40°F). | 
The system voltage is greater than 19 volts for 10 seconds.
| • | The PCM does not illuminate the malfunction indicator lamp (MIL). | 
| • | The PCM causes an immediate landing to second gear. | 
| • | The PCM turns off the PC solenoid valve. | 
| • | The PCM inhibits the TCC engagement. | 
| • | The PCM freezes the shift adapts. | 
| • | The PCM stores DTC P0560 in PCM history. | 
| • | A scan tool clears the DTC from PCM history. | 
| • | The PCM clears the DTC from PCM history if the vehicle completes 40 consecutive warm-up cycles without a non-emission-related diagnostic fault occurring. | 
| • | The PCM cancels the DTC default actions when the fault no longer exists and the ignition switch is OFF long enough in order to power down the PCM. | 
| • | Charging the battery with a battery charger and jumpstarting an engine may set this DTC. | 
| • | If this DTC is set when an accessory is operated, inspect for faulty connections or an excessive current draw. | 
| • | Inspect for faulty electrical connections at the starter solenoid. | 
| • | Inspect for faulty electrical connections at the fusible link. | 
| • | Inspect for loose or damaged terminals at the generator. | 
| • | Inspect the generator belt condition and tension. | 
| • | First diagnose and clear any engine DTCs or APP sensor codes that are present. Then inspect for any transmission DTCs that may have reset. | 
The numbers below refer to the step numbers on the diagnostic table.
This step tests the charging system voltage.
This step tests the battery voltage input at the PCM.
This step tests the ignition voltage and battery voltage inputs at the PCM.
| Step | Action | Value(s) | Yes | No | ||||||
|---|---|---|---|---|---|---|---|---|---|---|
| 1 | Was the Powertrain On-Board Diagnostic (OBD) System Check performed? | -- | ||||||||
| 2 | 
 Important: Before clearing the DTCs, use the Scan Tool in order to record Failure Records. Using the Clear Info function erases the Failure Records from the PCM. Is the voltage higher than the specified value? | 10 volts | ||||||||
| 3 | 
 Is the generator/check engine light ON? | -- | Go to Charging System Check | |||||||
| 
 Is the J 39200 DMM voltage within the specified range? | 13-15 volts | Go to Charging System Check | ||||||||
| 
 Is the Scan Tool Ignition Voltage within the specified range? | 13-15 volts | System OK Go to Diagnostic Aids | ||||||||
| 
 Is there a voltage variance between the voltage measured at the battery (taken in Step 4) and at terminals C3-C11 and C3-C13 that is greater than the specified value? | 0.5 volts | |||||||||
| 7 | Does terminal C3-C11 have the voltage variance? | -- | ||||||||
| 8 | Repair the high resistance condition in circuit 339 (PNK). Refer to Wiring Repairs in Wiring Systems. Is the repair complete? | -- | -- | |||||||
| 9 | Repair the high resistance condition in circuit 440 (ORN). Refer to Wiring Repairs in Wiring Systems. Is the repair complete? | -- | -- | |||||||
| 10 | Replace the PCM. Refer to Powertrain Control Module Replacement/Programming in Engine Controls. Is the replacement complete? | -- | -- | |||||||
| 11 | Perform the following procedure in order to verify the repair: 
 
 
 
 Has the test run and passed? | -- | System OK |