GM Service Manual Online
For 1990-2009 cars only

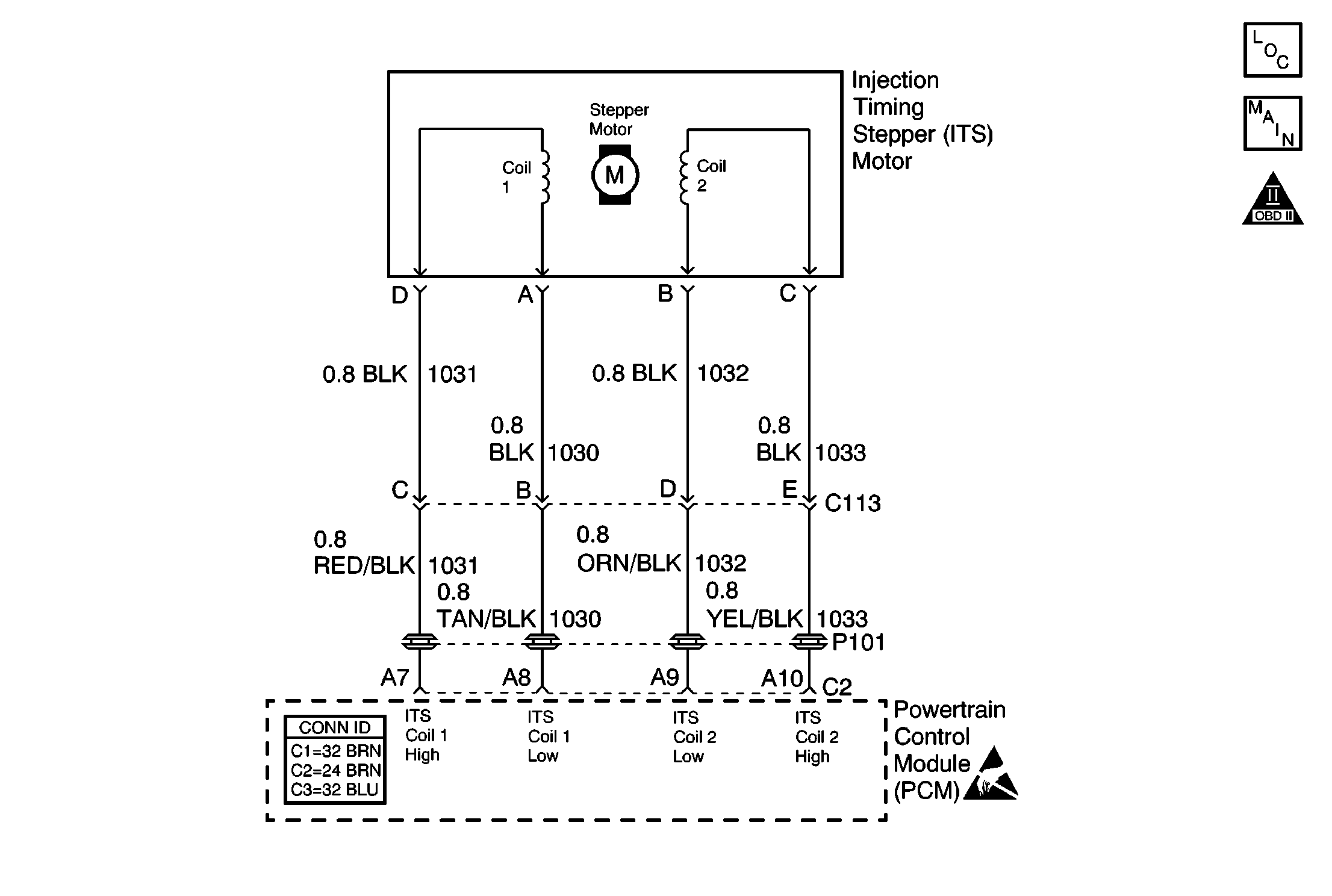
Object Number: 592184  Size: MF
Engine Controls Components
CKP and Injector Timer/Stepper Motor
OBD II Symbol Description Notice
Handling ESD Sensitive Parts Notice

Circuit Description

Timing of the combustion event is accomplished by delivering a pulse of fuel into the combustion chamber at a desired degree of piston travel. This desired degree (desired timing), defines the current position of the piston in relationship of Top Dead Center. This test compares desired timing to measured timing when certain conditions have been met. To retard injection timing the PCM extends the stepper motor. To advance injection timing the PCM retracts the stepper motor. This is a type B DTC.

Conditions for Running the DTC

    • The PCM performs this DTC diagnostic continuously.
    • DTCs P0251, P0335 and P0370 not set.
    • The engine speed has not changed more than 56 RPM for 5 seconds.

Conditions for Setting the DTC

    • A 5 degree difference between Act. Inj. Time and Des. Inj. Time
    • All of the diagnostic set conditions met for 2 seconds.

Action Taken When the DTC Sets

    • The PCM illuminates the malfunction indicator lamp (MIL) on the second consecutive drive trip that the diagnostic runs and fails.
    • The PCM records the operating conditions at the time the diagnostic fails. The first time the diagnostic fails, the Failure Records will store this information. If the diagnostic reports a failure on the second consecutive drive trip, the Freeze Frame records the operating conditions at the time of failure and updates the Failure Records.

Conditions for Clearing the MIL/DTC

    • The PCM will turn the MIL off after three consecutive trips without a fault condition.
    • A History DTC clears after forty consecutive warm-up cycles, if this or any other emission related diagnostic does not report any failures.
    • The use of a scan tool.

Diagnostic Aids

An intermittent may be caused by the following:

    • Poor connections
    • Rubbed through wire insulation
    • Broken wire inside the insulation

A hard start and possible poor performance condition might exist. Act. Inj. Time will freeze at the point of the fault. Its possible DTC P0216 will set if injection timing is not set correctly. Refer to Fuel Injection Pump Timing Adjustment for correct procedure.

Test Description

The numbers below refer to the step numbers on the diagnostic table.

  1. This step determines if DTC P0216 is a hard failure or an intermittent.

  2. This step checks for an open or short in the injection timing coil circuit 1.

  3. This step checks for an open or short in the injection timing coil circuit 2.

  4. The important thing in this step is that the PCM is sending a varying voltage (voltage may vary between 1 and 12 (usually you will see voltage vary between 5 and 6 when engine is idling), this will indicate that the PCM is OK and that there is a problem with the injection timing Stepper motor. If there is a steady voltage present on any circuit, this will indicate a problem with the PCM or a circuit shorted to voltage.

Step

Action

Values

Yes

No

1

Important: Before clearing the DTCs, use the scan tool Capture Info to save the Freeze Frame and failure records for reference. The control modules data is deleted once the Clear Info function is used.

Did you perform the Powertrain On-Board Diagnostic (OBD) System Check?

--

Go to Step 2

Go to Powertrain On Board Diagnostic (OBD) System Check

2

  1. Run the engine to operating temperature.
  2. Using a scan tool, compare the injection timing at idle and at 1500 RPM.

Does the scan tool display a difference more than or equal to the specified value between Actual Inj Time and Desired Inj Time at idle or at 2700 RPM?

Go to Step 4

Go to Step 3

3

The DTC is intermittent. If no additional DTCs are stored, refer to Diagnostic Aids. If additional DTCs were stored refer to those tables first.

Are any additional DTCs stored?

--

Go to applicable DTC

Go to Diagnostic Aids

4

  1. Turn the ignition OFF.
  2. Disconnect the PCM.
  3. Measure the resistance between coil 1 low and coil 1 high at the PCM harness.

Is the resistance within the specified value?

10 - 60 ohms

Go to Step 5

Go to Step 9

5

Measure the resistance between coil 2 low and coil 2 high at the PCM harness.

Is the resistance within the specified value?

10 - 60  ohms

Go to Step 6

Go to Step 10

6

  1. Reconnect the PCM.
  2. Disconnect the injection timing stepper motor.
  3. Start and idle the engine.
  4. Using the scan tool, command the Time Set ON.
  5. With a DMM connected to ground, check for a varying voltage on all terminals at the injection timing stepper motor electrical harness.

Does the voltage vary on all circuits?

--

Go to Step 7

Go to Step 12

7

  1. Disconnect the crankshaft position (CKP) sensor.
  2. Measure the resistance between the crankshaft position sensor signal and the 5 volt reference circuit at the sensor pigtail.

Is the resistance within the specified value?

950 -1050 ohms

Go to Step 8

Go to Step 13

8

  1. Reconnect all the sensors.
  2. Check for one of the following:
  3. • Injection timing set correctly. Refer to Fuel Injection Pump Timing Adjustment .
    • Sheared camshaft driven key. Refer to Engine Mechanical.
  4. If a problem is found, repair the problem as necessary.

Did you perform a repair?

--

Go to Step 17

Go to Step 15

9

  1. Turn the ignition OFF.
  2. Disconnect the stepper motor and check for an open or short in one of the following:
  3. • Coil 1 low circuit
    • Coil 1 high circuit.
    • If a problem is found, repair the problem as necessary. Refer to Wiring Repairs in Wiring Systems.

Did you perform a repair?

--

Go to Step 17

Go to Step 11

10

  1. Turn the ignition OFF.
  2. Disconnect the stepper motor and check for an open or short in one of the following:
  3. • Coil 2 low circuit
    • Coil 2 high circuit
    • If a problem is found, repair the problem as necessary. Refer to Wiring Repairs in Wiring Systems.

Did you perform a repair?

--

Go to Step 17

Go to Step 11

11

  1. Check for a proper electrical connection at the injection timing stepper motor.
  2. If a problem is found, repair the problem as necessary. Refer to Wiring Repairs in Wiring Systems.

Did you perform a repair?

--

Go to Step 17

Go to Step 15

12

Check the non-varying circuit for a short to ground, short to voltage, or a proper connection at the PCM. Refer to Wiring Repairs in Wiring Systems.

Did you perform a repair?

--

Go to Step 17

Go to Step 16

13

  1. Check the crankshaft sensor pigtail for a short to ground.
  2. If the circuit is shorted to ground, repair the circuit as necessary. Refer to Wiring Repairs in Wiring Systems.

Did you perform a repair?

--

Go to Step 17

Go to Step 14

14

Replace the crankshaft position sensor. Refer to Crankshaft Position Sensor Replacement . After replacing the sensor, the PCM must be programmed with a new offset. Refer to Fuel Injection Pump Top Dead Center Offset Adjustment .

Is the action complete?

--

Go to Step 17

--

15

Important: The new injection pump must be timed. Refer to Fuel Injection Pump Timing Adjustment .

Replace the injection pump. Refer to Fuel Injection Pump Replacement .

Is the action complete?

--

Go to Step 17

--

16

Important: The new PCM must be programmed.

Replace the PCM. Refer to Powertrain Control Module Replacement/Programming .

Is the action complete?

--

Go to Step 17

--

17

  1. Using the scan tool, clear the DTCs.
  2. Start the engine.
  3. Allow the engine to idle at normal operating temperature.
  4. Select DTC and the Specific DTC function.
  5. Enter the DTC number which was set.
  6. Operate the vehicle, with the Condition for Setting this DTC, until the scan tool indicates the diagnostic Ran.

Does the scan tool indicate the diagnostic Passed?

--

Go to Step 18

Go to Step 2

18

Does the scan tool display any additional undiagnosed DTCs?

--

Go to applicable DTC

System OK