GM Service Manual Online
For 1990-2009 cars only

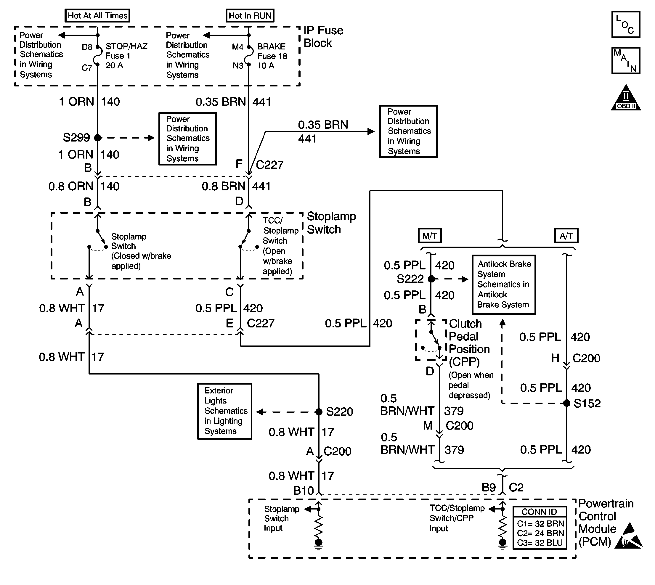
Object Number: 592279  Size: LF
Engine Controls Components
Transmission Solenoids, TCC/Stoplamps Switch
OBD II Symbol Description Notice
Handling ESD Sensitive Parts Notice

Circuit Description

The TCC normally closed cruise brake switch supplies a B+ signal on the Brake Switch Input circuit to the PCM. The circuit is opened when the brakes are applied. The stop lamp/cruise control normally open brake switch supplies a B+ signal on the Stoplamp Switch Input circuit to the PCM when the brake is applied.

Conditions for Running the DTC

    • Brake switches disagree for 10 consecutive minutes.
        or
    • TCC and cruise control brake switches are not toggling open and closed, during 6 brake applications on the same ignition cycle.

Conditions for Setting the DTC

    • Brake switches disagree for 10 consecutive minutes.
        or
    • TCC and cruise control brake switches are not toggling open and closed, during 6 brake applications on the same ignition cycle.

Action Taken When the DTC Sets

    • The PCM disallows all cruise control inputs.
    • TCC shift schedules may be affected.
    • The PCM will not illuminate the Malfunction Indicator Lamp (MIL).
    • The PCM records the operating conditions at the time the diagnostic fails. This information stores in the Failure Records.

Conditions for Clearing the MIL/DTC

    • A History DTC clears after forty consecutive warm-up cycles, if this or any other emission related diagnostic does not report any failures.
    • The use of a scan tool.

Diagnostic Aids

Check customer driving habits and/or unusual traffic conditions (i.e. stop and go, expressway traffic).

Test Description

The numbers below refer to the step numbers on the diagnostic table:

  1. This test checks the feed circuit.

  2. This test simulates brake switch closed or brakes ON.

Step

Action

Values

Yes

No

1

Important: Before clearing any DTCs, use the scan tool Capture Info to save freeze frame and failure records for reference, as the scan tool loses data when using the Clear Info function.

Was the Powertrain On-Board Diagnostic (OBD) System Check performed?

--

Go to Step 2

Go to Powertrain On Board Diagnostic (OBD) System Check

2

  1. Connect a scan tool.
  2. Turn the ignition ON leaving the engine OFF.
  3. Apply the brakes.

Does the scan tool display the cruise brake switch Closed and then Open when the brake is applied?

--

Go to Step 3

Go to Step 7

3

Apply the brakes again.

Does the scan tool display the brake switch Open and then Closed when the brake is applied?

--

Go to Step 9

Go to Step 4

4

  1. Turn the ignition ON leaving the engine OFF.
  2. Verify the stoplamp switch is disconnected.
  3. With a test lamp connected to ground, probe the normally open feed circuit (terminal B).

Is the test lamp ON?

--

Go to Step 5

Go to Step 10

5

  1. Turn the ignition ON leaving the engine OFF.
  2. Verify the stoplamp switch is disconnected.
  3. Turn the headlamp switch ON.
  4. With a test lamp connected to ground, probe the normally open stoplamp switch signal circuit (terminal A).

Is the test lamp ON?

--

Go to Step 11

Go to Step 6

6

  1. Disconnect the stoplamp switch.
  2. Jumper the normally open (terminal A) feed circuit and the normally open signal circuits (terminal B) together.

Does the scan tool display the brake switch Closed?

--

Go to Step 17

Go to Step 12

7

  1. Turn the ignition ON leaving the engine OFF.
  2. Verify the stoplamp switch is disconnected.
  3. With a test lamp connected to ground, probe the normally closed feed circuit (terminal F).

Is the test lamp ON?

--

Go to Step 8

Go to Step 14

8

  1. Verify the stoplamp switch is disconnected.
  2. Jumper the normally closed (terminal F) feed circuit and the normally closed signal circuits (terminal E) together.

Does the scan tool display the Cruise Brake switch Closed?

--

Go to Step 17

Go to Step 15

9

The DTC is intermittent. If no additional DTCs are stored, refer to Diagnostic Aids. If additional DTCs were stored refer to the applicable DTC tables first.

Are any additional DTCs stored?

--

Go to Applicable DTC Table

Go to Diagnostic Aids

10

Check the normally open feed circuit (terminal B) for and open or short to ground.

Is the action complete?

--

Go to Step 19

--

11

  1. Check the stoplamp switch signal circuit for a short to B+.
  2. If a short to B+ is present, repair it as necessary.

Is the action complete?

--

Go to Step 19

Go to Step 18

12

Check the normally open brake switch signal circuit for and open or short to ground.

Was a repair performed?

--

Go to Step 19

Go to Step 13

13

Check the normally open brake switch signal circuit for a proper connection at PCM?

Was a repair performed?

--

Go to Step 19

Go to Step 18

14

Check the normally closed feed circuit (terminal F) for and open or short to ground.

Is the action complete?

--

Go to Step 19

--

15

Check the normally closed cruise brake switch signal circuit for an open or short to ground.

Was a repair performed?

--

Go to Step 19

Go to Step 16

16

Check the normally closed cruise brake switch signal circuit for a proper connection at PCM?

Was a repair performed?

--

Go to Step 19

Go to Step 18

17

Replace the stoplamp switch.

Is the action complete?

--

Go to Step 19

--

18

Important: The new PCM must be programmed. Refer to Powertrain Control Module Replacement/Programming .

Replace the PCM.

Is the action complete?

--

Go to Step 19

--

19

  1. Using the scan tool, clear the DTCs.
  2. Start engine and idle at normal operating temperature.
  3. Select DTC, Specific, then enter the DTC number which was set.
  4. Operate the vehicle, with the Conditions for Setting this DTC, until the scan tool indicates the diagnostic Ran.

Does the scan tool indicate the diagnostic Passed?

--

Go to Step 20

Go to Step 2

20

Does the scan tool display any additional undiagnosed DTCs?

--

Go to Applicable DTC Table

System OK