GM Service Manual Online
For 1990-2009 cars only
Makes
🢒
Chevrolet
🢒
2000
🢒
Chevy K Pickup - 4WD
🢒
Transmission/Transaxle
🢒
Automatic Transmission - 4L60-E
🢒 Automatic Transmission Controls Schematics
Figure
1:
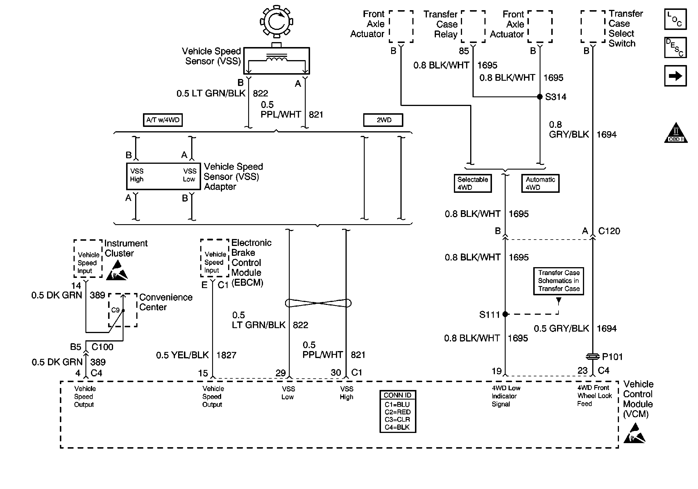
VSS, 4WD and Upshift Controls
Automatic Transmission Electronic Component Views Internal
Electronic Component Description
Shift Solenoids
OBDII Symbol Description Notice
Front Axle Actuator Circuits
Handling Electrostatic Discharge Sensitive Parts Notice
Figure
2:
Shift Solenoids
Automatic Transmission Electronic Component Views Internal
Electronic Component Description
Automatic Transmission, VCM
VSS, 4WD and Upshift Controls
OBDII Symbol Description Notice
AIR BAG, TURN B/U, CRANK, and TRANS Fuses
BRAKE and HTR-A/C Fuses
BRAKE and HTR-A/C Fuses
VSS, TCC Signal and Brake Indicator (Gas)
Heated Seats Schematics
Figure
3:
Automatic Transmission, VCM
Automatic Transmission Electronic Component Views Internal
Electronic Component Description
Shift Solenoids
OBDII Symbol Description Notice
A/T Internal Switches, TFT, PC Solenoid (Both Transmissions)