GM Service Manual Online
For 1990-2009 cars only

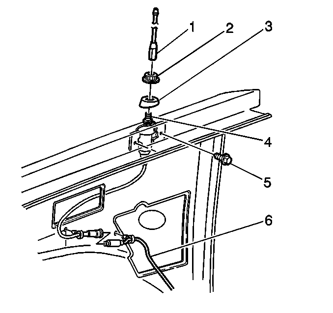
Removal Procedure


    Object Number: 264191  Size: SH
  1. Disconnect the antenna mast (1).
  2. Remove the nut (2).
  3. Remove the bezel (3).
  4. Disconnect the antenna cable from the extension cable (6).
  5. Remove the screw (5).
  6. Disconnect the cable assembly.

Installation Procedure


    Object Number: 264191  Size: SH
  1. Connect the antenna cable assembly.
  2. Notice: Use the correct fastener in the correct location. Replacement fasteners must be the correct part number for that application. Fasteners requiring replacement or fasteners requiring the use of thread locking compound or sealant are identified in the service procedure. Do not use paints, lubricants, or corrosion inhibitors on fasteners or fastener joint surfaces unless specified. These coatings affect fastener torque and joint clamping force and may damage the fastener. Use the correct tightening sequence and specifications when installing fasteners in order to avoid damage to parts and systems.

  3. Install the screw (5).
  4. Tighten
    Tighten the screw to 5 N·m (58 lb in).

  5. Connect the antenna cable to the extension cable (6).
  6. Install the bezel (3).
  7. Install the nut (2).
  8. Tighten
    Tighten the nut to 5 N·m (58 lb in).

  9. Install the antenna mast (1).