GM Service Manual Online
For 1990-2009 cars only

Endgate Rattle


    Object Number: 264350  Size: SH
  1. Open the endgate (3) to the full horizontal position.
  2. Continue to hold the endgate handle open to assure that the latch rods are completely recessed on both sides of the endgate.

  3. Object Number: 393627  Size: SH
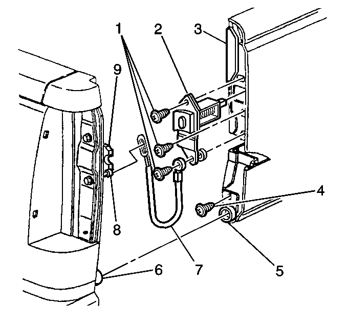
  4. Remove the rubber bumper (1) on the left hand side by sliding it back on the bracket. Make sure that the thicker surface of the rubber bumper is facing forward, this will be the opposite direction from the original position.
  5. Close the endgate and evaluate the rattle with the rubber bumper (1) rotated 180 degree on the left hand side only.
  6. If the endgate continues to rattle repeat these procedures for the right hand side.