GM Service Manual Online
For 1990-2009 cars only
Makes
🢒
Chevrolet
🢒
2000
🢒
Chevy K Pickup - 4WD
🢒
Body and Accessories
🢒
Body Rear End
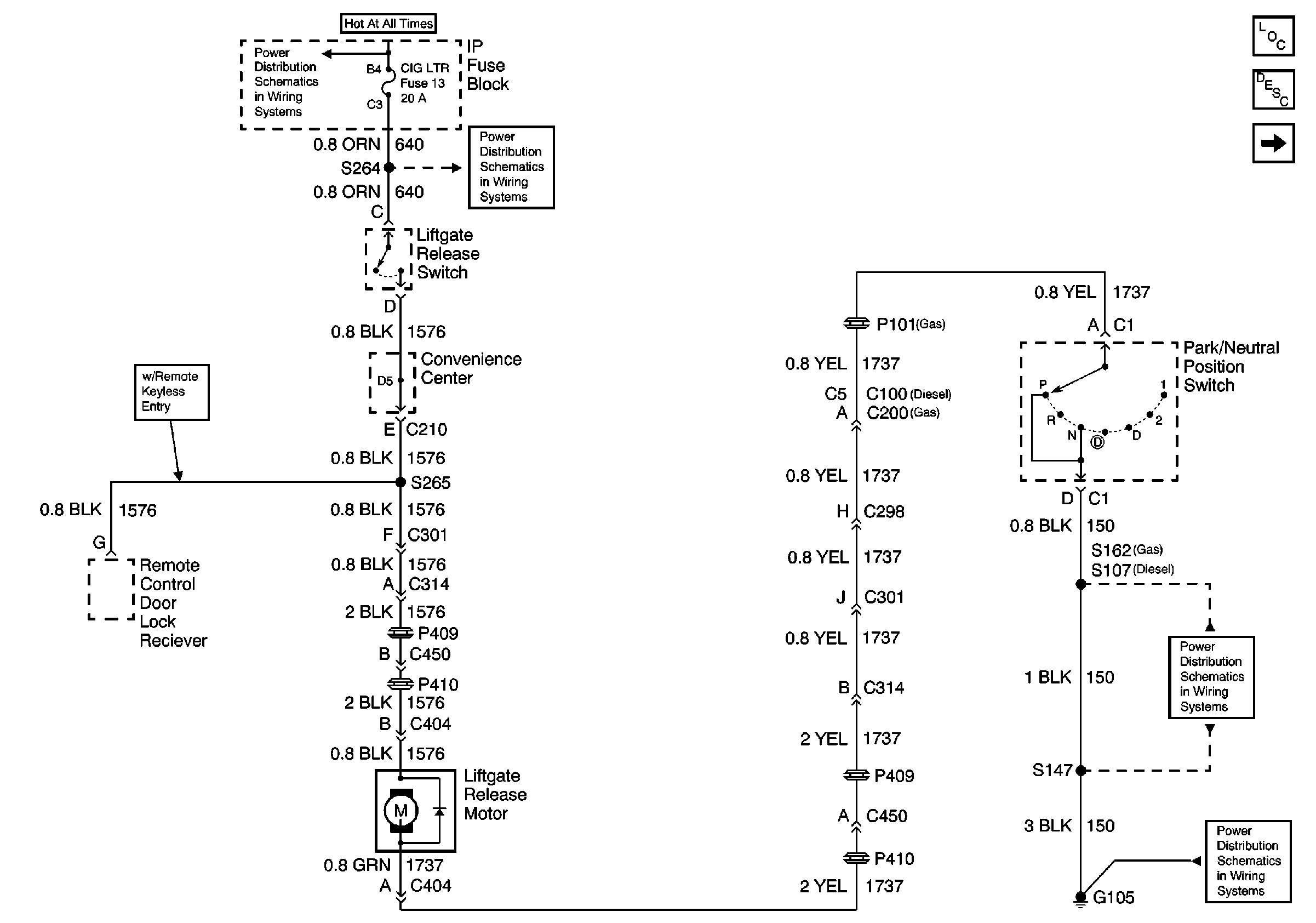
🢒 Release Systems Schematics
Figure
1:
Except Luxury
Figure
2:
Luxury