GM Service Manual Online
For 1990-2009 cars only
Makes
🢒
Chevrolet
🢒
2000
🢒
Chevy K Pickup - 4WD
🢒
Driveline/Axle
🢒
Transfer Case - BW 4470 (Two Speed Manual)
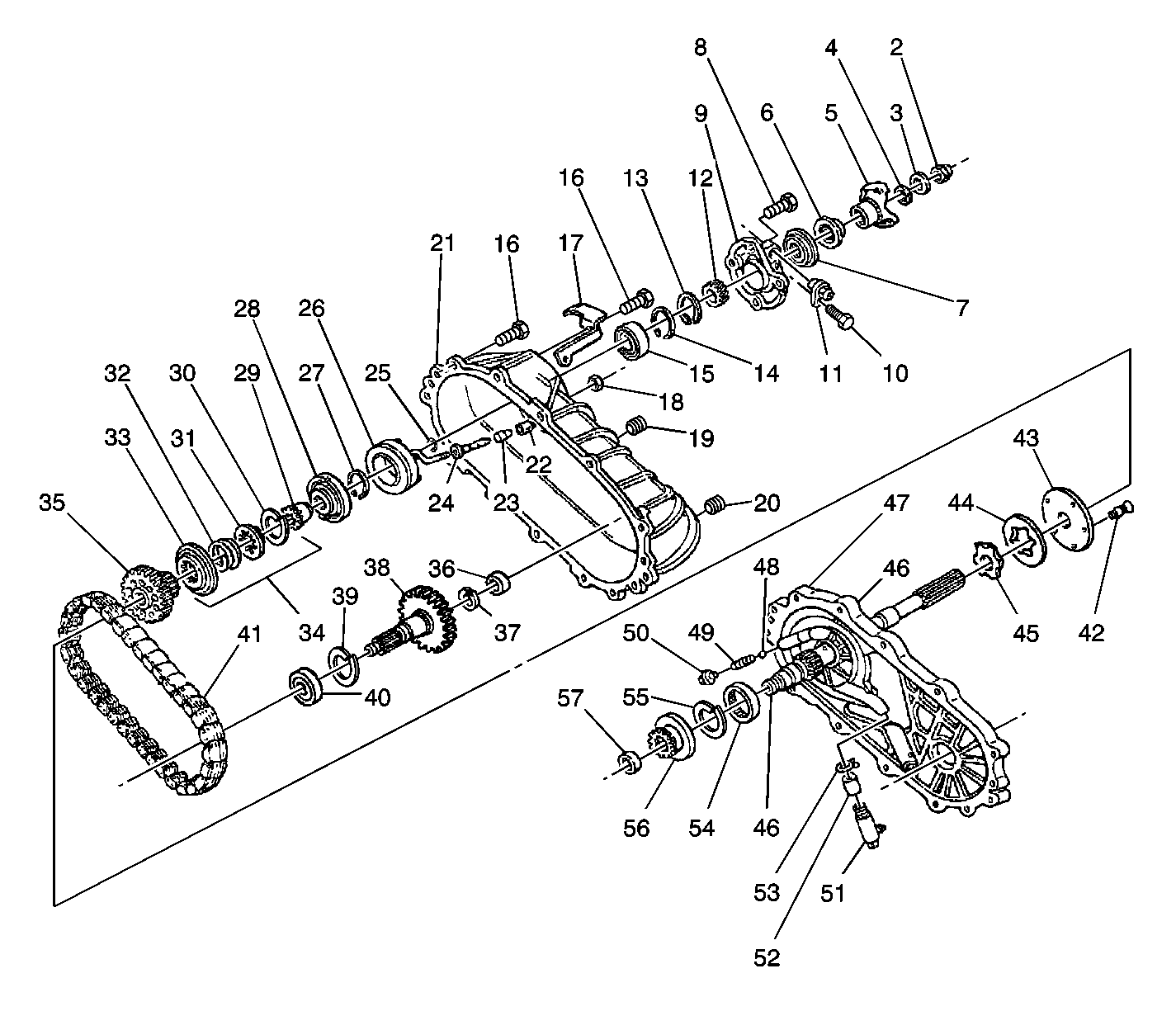
🢒 Transfer Case Disassembled View
Figure
1:
Rear Case and Drivetrain Components
(2)
Nut, Yoke
(3)
Washer, Yoke
(4)
Insulator,Yoke
(5)
Yoke
(6)
Seal, Deflector
(7)
Seal, Output Shaft
(8)
Bolt, Rear Extension
(9)
Housing, Rear Extension
(10)
Bolt, Speed Sensor
(11)
Sensor, Speed
(12)
Wheel, Reluctor
(13)
Retaining Ring, Reluctor Wheel
(14)
Retaining Ring, Rear Output Bearing
(15)
Bearing, Rear Output
(16)
Bolt, Case
(17)
Bracket, Wiring harness
(18)
Nut
(19)
Plug, Fill
(20)
Plug, Drain
(21)
Case, Rear
(22)
Connector
(23)
Seal, Terminal
(24)
Terminal, Coil
(25)
Seal
(26)
Coil, Clutch
(27)
Retaining Ring
(28)
Housing, Clutch Coil
(29)
Gear, Synchronizer
(30)
Retaining Ring, Synchronizer
(31)
Hub, Synchronizer
(32)
Spring, Synchronizer Hub
(33)
Collar, Synchronizer
(34)
Synchronizer
(35)
Sprocket, Driving
(36)
Bearing, Front Output Shaft Rear
(37)
Retaining Ring, Bearing
(38)
Shaft, Front Output
(39)
Retaining Ring, Front Output Shaft Bearing
(40)
Bearing, Front Output Shaft
(41)
Chain, Drive
(42)
Bolt, Oil Pump Cover
(43)
Cover, Oil Pump
(44)
Gear, Oil pump
(45)
Gear, Oil Pump
(46)
Shaft, Rear Output
(47)
Pump, Oil
(48)
Piston, Oil Pump
(49)
Spring, Oil Pump
(50)
Plug, Oil Pump
(51)
Strainer, Oil Pump
(52)
Hose, Oil Pump Strainer
(53)
Clamp, Hose
(54)
Bearing, Oil Pump
(55)
Retaining Ring, Bearing
(56)
Hub, Rear Output Shaft
(57)
Bushing, Hub
Figure
2:
Front Case and Related Components
(3)
Carrier, Plantary
(4)
Bearing, Carrier
(5)
Gear, Power Takeoff
(6)
Retaining Ring, Input Shaft
(7)
Bearing, Front Input
(8)
Retaining Ring, Bearing
(9)
Case, Front
(10)
Cover, Power Takeoff
(11)
Bolt, Power Takeoff Cover
(12)
Rail, Shift
(13)
Spring, Shift Fork
(14)
Fork, Mode Shift
(15)
Fork, Range Shift
(16)
Retaining Ring, Gear
(17)
Gear
(18)
Lever, Detent
(19)
Spring, Detent Lever
(20)
Retainer
(21)
Roller, Detent Lever
(22)
Nut, Shift Lever
(23)
Grommet, Shift Lever
(24)
Lever, Shift
(25)
Shaft, Shift Lever
(26)
Seal, Shift Lever Shaft
(27)
Dowel, Case
(28)
Magnet
(29)
Seal, Front Output Shaft
(30)
Defelector
(31)
Yoke
(32)
Insulator, Yoke
(33)
Washer, Yoke
(34)
Nut, Yoke
(35)
Switch, Shift
(36)
Vent
(37)
Seal, Front Input Shaft