GM Service Manual Online
For 1990-2009 cars only
Makes
🢒
Chevrolet
🢒
2000
🢒
Chevy K Pickup - 4WD
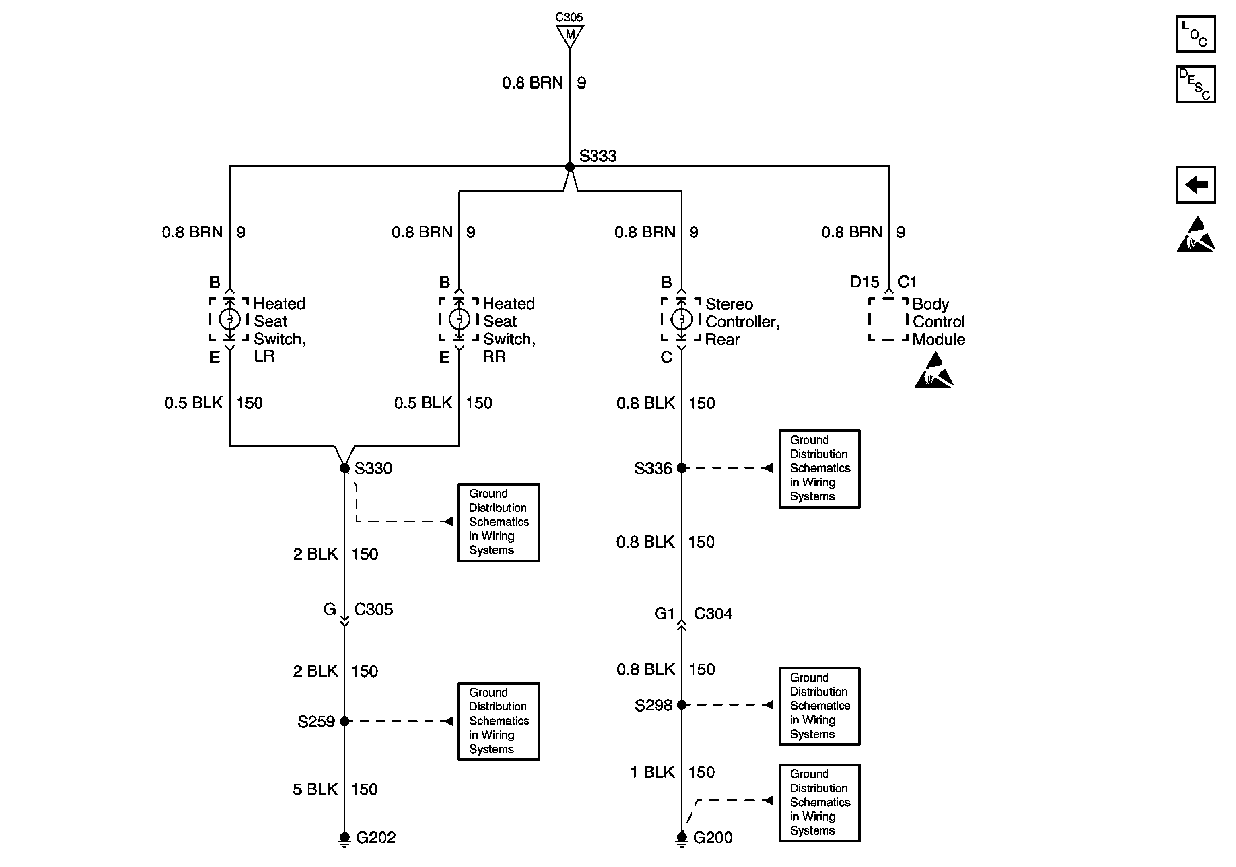
🢒 Heated Seat Switches and Body Control Module
Heated Seat Switches and Body Control Module
Heated Seat Switches and Body Control Module
Lighting Systems Components
Interior Lights Circuit Description Luxury
Fuses, Headlamp and Panel Dimmer Switch and Window Switches
Handling Electrostatic Discharge Sensitive Parts Notice
Handling Electrostatic Discharge Sensitive Parts Notice
G200 (3 of 4)
G200 (4 of 4)
G202 (2 of 4)
Fuses, Headlamp and Panel Dimmer Switch and Window Switches
G202 (2 of 4)
G202 (2 of 4)