GM Service Manual Online
For 1990-2009 cars only

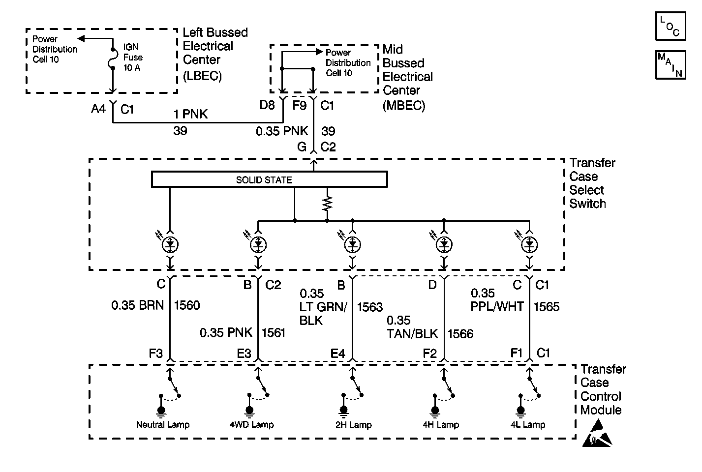
Object Number: 380647  Size: MF
Transfer Case Control Components
Transfer Case Control Schematics

Circuit Description

The indicator lamps circuits consist of five individual lamps contained inside the mode/range switch assembly. They are AUTO, 4WD, 2HI, 4HI, 4LO and Neutral. The AUTO, 4WD, 2HI, 4HI, and 4LO lamps are contain inside their respective range button. When the ignition in ON, the automatic transfer case control module illuminates the indicator lamp that corresponds to the current ATC gear position by providing a ground through a current limiting driver.

The automatic transfer case control module flashes each indicator lamp after a shift has been requested and will continue to flash until the automatic transfer case control module can complete the shift. After a shift to AUTO, 4WD, 4HI, or 4LO is made, the automatic transfer case control module will flash that indicator lamp until the automatic transfer case control module receives a high voltage signal on circuit 1695 from the front axle switch.

A solid state circuit located inside the switch supplies ignition voltage to the lamps. The solid state circuit also receives voltage whenever the headlamp switch is in park or headlamp position. When the solid state circuit receives voltage from the headlamp switch it will reduce the voltage that it supplies to the indicator lamps, dimming the lamps when the headlamps are ON.

Test Description

The number(s) below refer to the step number(s) on the diagnostic table.

  1. This step determines if the transfer case shift control module can electronically control the all indicator lamp circuits.

  2. This step determines which indicator lamp the transfer case shift control module is correctly commanding on.

  3. This step determines whether there is a short to ground in one of the indicator lamp control circuits.

Two or More Indicator Lamps Remains On

Step

Action

Value(s)

Yes

No

1

Was the Transfer Case Diagnostic System Check performed?

--

Go to Step 2

Go to Transfer Case Diagnostic System Check

2

  1. Connect a Scan Tool .
  2. Turn the ignition ON, engine OFF.
  3. Use the Scan Tool in order to command all the indicator lamps off.

Do all the lamps go off?

--

Go to Step 3

Go to Step 4

3

Replace the transfer case shift control module. Refer to Transfer Case Shift Control Module Replacement .

Is the repair complete?

--

Go to Step 9

--

4

  1. Use the Scan Tool in order to determine which mode the transfer case is in.
  2. Use this information to determine which lamp circuit(s) is at fault.
  3. Disconnect both connectors at the Range/Mode switch.
  4. Connect a J 39200 Digital Multimeter DMM and check for resistance from the Range/Mode switch harness connector terminal(s) of the suspected circuit(s) to ground.

Is the resistance reading within the specified value?

OL

Go to Step 7

Go to Step 5

5

  1. Disconnect both connectors at the transfer case shift control module.
  2. Connect a J 39200 Digital Multimeter DMM and check for resistance from the Range/Mode switch harness connector terminal(s) of the suspected circuit(s) to ground.

Is the resistance reading within the specified value?

OL

Go to Step 8

Go to Step 6

6

Repair a short to ground condition. Refer to Wiring Repairs in Wiring Systems.

Are the repairs complete?

--

Go to Step 9

--

7

Replace the range/mode switch. Refer to Transfer Case Shift Control Switch Replacement .

Is the action complete?

--

Go to Step 9

--

8

Replace the transfer case shift control module. Refer to Transfer Case Shift Control Module Replacement .

Is the action complete?

--

Go to Step 9

--

9

  1. Ensure the ignition is OFF.
  2. Properly mount and reconnect all previously disconnected ATC components.

Have all the ATC components been reconnected and properly mounted?

--

Go to Step 10

--

10

Clear all ATC DTCs.

Have all ATC DTCs been cleared?

--

Go to Transfer Case Diagnostic System Check

--