GM Service Manual Online
For 1990-2009 cars only

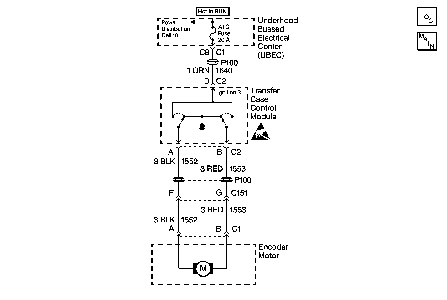
Object Number: 380628  Size: MF
Transfer Case Control Components
Transfer Case Control Schematics

Circuit Description

The Transfer Case Motor is a bi-directional, permanent magnet, D.C motor. When energized, (through circuits 1552, 1553 , and the ground circuit 2150, the module utilize for motor control), the motor, through a series of gears, rotates a shaft which moves the mode and range forks to shift the Transfer Case between 4H, Adapt, 2H, N, and 4L ranges.

This DTC detects a short to Voltage on circuits 1552 and 1553, or a shorted motor.

Conditions for Setting the DTC

    • The system will test the motor circuits by reading the voltage on each circuit.
    • If the system detects a problem with the circuits, the DTC is logged.
    • The Auto Transfer Case (ATC) Control Module senses a high voltage on circuits 1552 or 1553 when a low voltage is expected.

Action Taken When the DTC Sets

    • All shifting will be disabled.
    • The SERVICE indicator (4WD/AWD) lamp will be latched on for the remainder of the current ignition cycle.

Conditions for Clearing the DTC

    • The Auto Transfer Case (ATC) Control Module will clear the DTC if the condition for setting the DTC no longer exists.
    • A history DTC will clear after 100 consecutive ignition cycles without a fault present.
    • History DTCs can be cleared using a scan tool.

Test Description

The number(s) below refer to the step number(s) on the diagnostic table.

  1. This step determines if there is a short to voltage on circuit 1552.

DTC C0309 Motor A/B Circuit High

Step

Action

Value(s)

Yes

No

1

Was the Transfer Case Diagnostic System Check performed?

--

Go to Step 2

Go to Transfer Case Diagnostic System Check

2

  1. Turn the ignition OFF.
  2. Disconnect both transfer case shift control module harness connectors.
  3. Connect a J 39200 Digital Multimeter DMM between the transfer case shift control module harness connector C2 terminal A and ground.
  4. Turn the ignition to RUN.

Is the voltage reading greater than the specified value?

0 V

Go to Step 3

Go to Step 5

3

  1. Turn the ignition OFF.
  2. Disconnect the transfer case encoder motor.
  3. Connect the J 39200 DMM between the transfer case shift control module harness connector C2 terminals A and ground.
  4. Turn the ignition to RUN.

Is the voltage reading greater than the specified value?

0 V

Go to Step 4

Go to Step 6

4

Repair a short to voltage in CKT 1552. Refer to Wiring Repairs in Wiring Systems.

Is the repair complete?

--

Go to Step 7

--

5

Replace the transfer case shift control module. Refer to Transfer Case Shift Control Module Replacement .

Is the repair complete?

--

Go to Step 7

--

6

Repair a short to voltage in CKT 1553. Refer to Wiring Repairs in Wiring Systems.

Is the repair complete?

--

Go to Step 7

--

7

  1. Ensure the ignition is OFF.
  2. Reconnect all previously disconnected components.

Are all the ATC components connected and properly mounted?

--

Go to Step 8

--

8

Clear all ATC DTCs.

Are all the ATC DTCs cleared?

--

Go to Transfer Case Diagnostic System Check

--