GM Service Manual Online
For 1990-2009 cars only

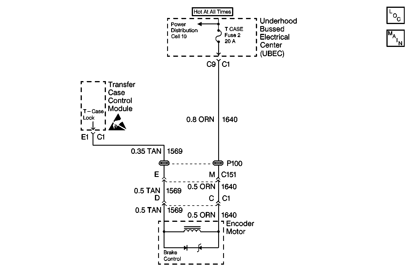
Object Number: 380636  Size: MF
Transfer Case Control Components
Transfer Case Control Schematics

Circuit Description

The Auto Transfer Case (ATC) Control Module controls the Transfer Case Lock Solenoid.

The lock is energized (locking action released, grounding circuit 1569) during gear shifts and in AUTO (Adapt) mode of operation. When power or ground is removed from the lock solenoid, (locking action applied), the Transfer Case Motor is prevented from moving. In this manner, the system is capable of providing a 4H and 4L lock-up without the need of additional vehicle power to hold the Transfer Case in these positions.

This DTC detects an open lock solenoid coil, circuit 1569 open, open feed (circuit 1640) to the solenoid.

Conditions for Setting the DTC

    • The system will try to turn the lock solenoid off by opening the ground circuit.
    • If the module is unable to de-energize the solenoid, the system will not attempt to de-energize the solenoid again during that ignition cycle.
    •  Auto Transfer Case Lock output reads back as a low voltage when a high voltage is expected.

Action Taken When the DTC Sets

    • All shifting will be disabled.
    • The SERVICE indicator (4WD/AWD) lamp will be latched on for the remainder of the current ignition cycle.

Conditions for Clearing the DTC

    • The Auto Transfer Case (ATC) Control Module will clear the DTC if the condition for setting the DTC no longer exists.
    • A history DTC will clear after 100 consecutive ignition cycles without a fault present.
    • History DTCs can be cleared using a scan tool.

Test Description

The number(s) below refer to the step number(s) on the diagnostic table.

  1. This step determines if battery voltage exists on circuit 1640.

  2. This step determines if the internal resistance of the encoder motor lock circuit is within specified limits.

  3. This step determines whether circuit 1569 is open.

Step

Action

Value(s)

Yes

No

1

Was the Transfer Case Diagnostic System Check performed?

--

Go to Step 2

Go to Transfer Case Diagnostic System Check

2

  1. Turn the ignition to the OFF position.
  2. Disconnect the transfer case encoder motor harness.
  3. Connect a J 39200 Digital Multimeter DMM from the encoder motor harness connector C1 terminal C to ground in order to measure the voltage.

Is the voltage with in the specified values?

Battery Voltage

Go to Step 4

Go to Step 3

3

Repair an open in CKT 1640 between the ATC fuse and the transfer case encoder motor. Refer to Wiring Repairs in Wiring Systems.

Are the repairs complete?

--

Go to Step 11

--

4

Use a J 39200 DMM in order to measure the resistance across the encoder motor lock circuit.

Is the resistance reading within the specified values?

20-80 ohms

Go to Step 5

Go to Step 7

5

  1. Disconnect the transfer case shift control module connectors.
  2. Use the J 39200 DMM in order to measure the resistance between transfer case shift control module connector C1 terminal E1 and ground.

Is the resistance reading less than the specified value?

OL

Go to Step 8

Go to Step 6

6

Measure the resistance between transfer case shift control module connector C1 terminal E1 and the transfer case encoder motor connector C1 terminal D.

Is the resistance reading within the specified values?

0-2 ohms

Go to Step 10

Go to Step 9

7

Replace the transfer case encoder motor (lock solenoid). Refer to Motor/Encoder Replacement .

Is the repair completed?

--

Go to Step 11

--

8

Repair an short to ground in CKT 1569. Refer to Wiring Repairs in Wiring Systems.

Are the repairs complete?

--

Go to Step 11

--

9

Repair an open in CKT 1569. Refer to Wiring Repairs in Wiring Systems.

Are the repairs complete?

--

Go to Step 11

--

10

Replace the transfer case shift control module. Refer to Transfer Case Shift Control Module Replacement .

Is the repair completed?

--

Go to Step 11

--

11

Reconnect all ATC system components, make sure all the components are properly mounted.

Have all the ATC components been reconnected and properly mounted?

--

Go to Step 12

--

12

Clear all the ATC DTCs.

Are all the ATC DTCs cleared?

--

Go to Transfer Case Diagnostic System Check

--