GM Service Manual Online
For 1990-2009 cars only
Makes
🢒
Chevrolet
🢒
1999
🢒
Chevy K Silverado - 4WD
🢒
Driveline/Axle
🢒
Front Drive Axle
🢒 Differential Drive Pinion Gear Pilot Bearing Replacement
Removal Procedure
Tools Required
•
J 33842
Pilot Bearing Installer
•
J 34011
Remove the axle shaft (output shaft) and the tube assembly. Refer to
Front Drive Axle Inner Shaft and Inner Shaft Housing Replacement
.
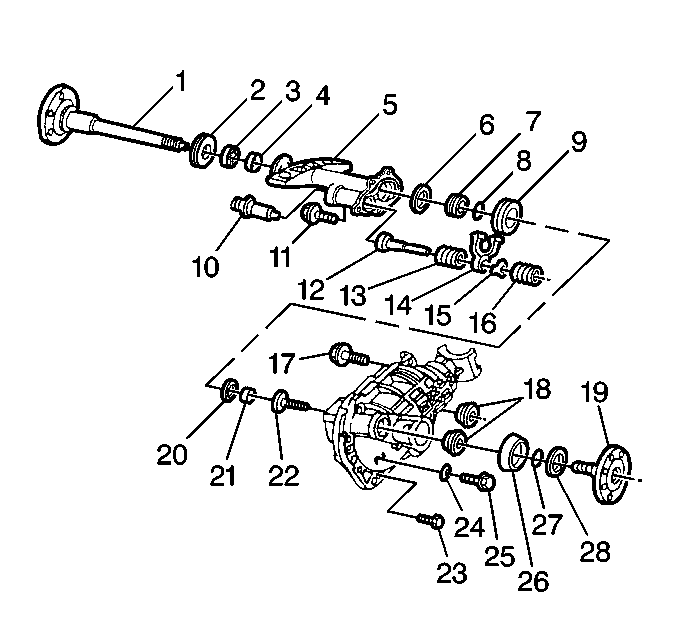
Remove the shim (20).
Remove differential pilot bearing (21) using the
J 34011
.
Installation Procedure
Lubricate the bearing with axle lubricant. Refer to
Fluid and Lubricant Recommendations
in Maintenance and Lubrication.
Install the shim (20).
Install the differential pilot bearing (21) using the
J 33842
.
Instal the shim (20).
Install the axle shaft (output shaft) and the tube assembly. Refer to
Front Drive Axle Inner Shaft and Inner Shaft Housing Replacement
.