GM Service Manual Online
For 1990-2009 cars only

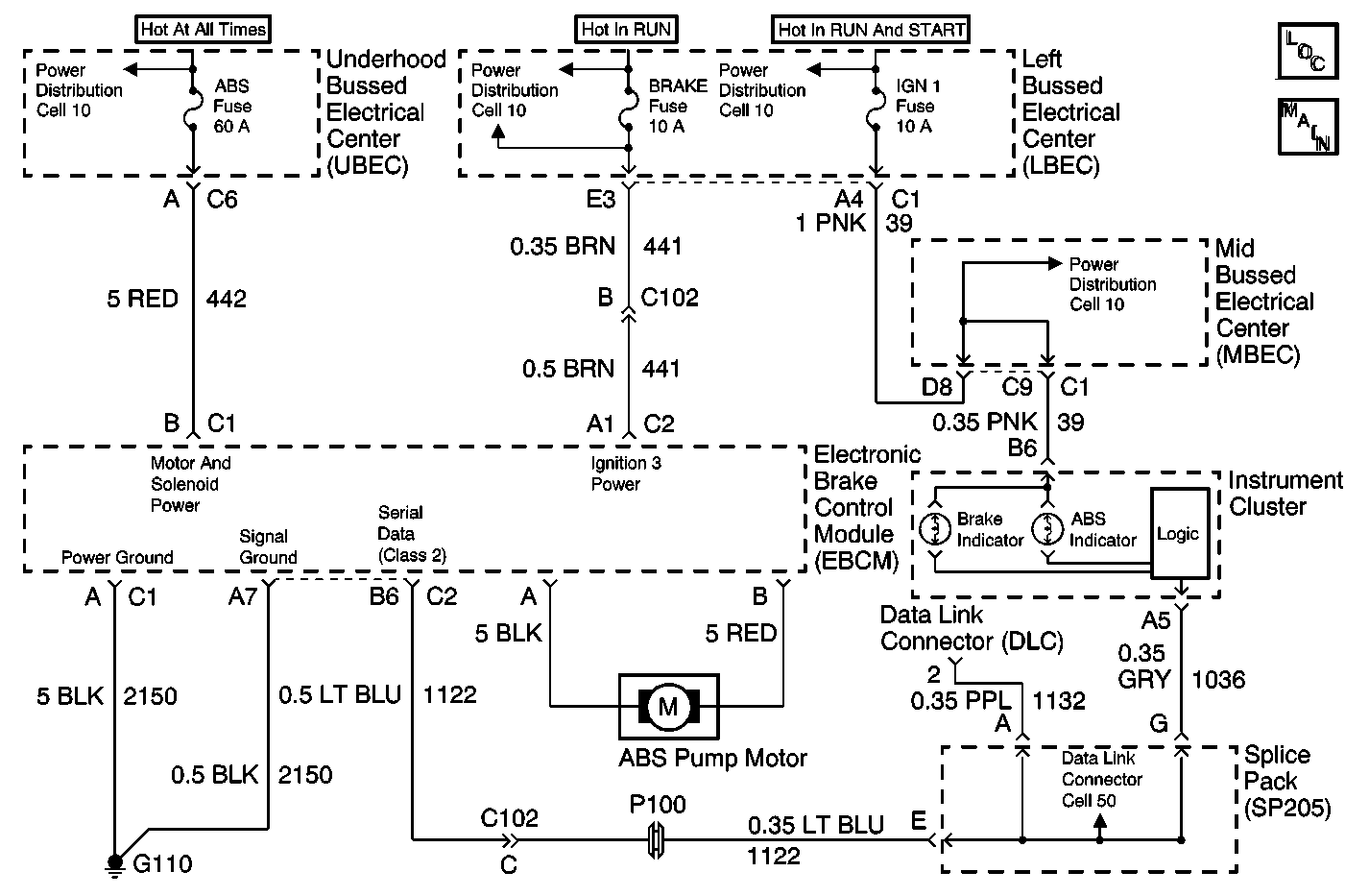
Object Number: 366401  Size: MF
ABS Components
Antilock Brake System Schematics

System Description

The diagnostic system check is an organized approach to identifying an Antilock Brake System (ABS) malfunction. The diagnostic system check must be the starting point for any ABS complaint diagnosis. The diagnostic system check directs the service technician to the next logical step in diagnosing the complaint. Refer to the table below.

Diagnostic serial data is transmitted/received by the EBCM through connector C2, terminal B6. The EBCM is supplied battery voltage through connector C1, terminal B and switched ignition voltage through connector C2, terminal A1. Grounds are provided through connectors C1, terminal A, and C2 terminal A7.

Diagnostic Aids

Excessive resistance in the ground or power supply circuits will not allow communication with the EBCM. If communication with the EBCM is not possible, ensure that the ABS ground connection is good and that there is no excessive resistance in any of the power supply circuits.

Test Description

The numbers below refer to the steps in the diagnostic table:

  1. This step checks for normal ABS indicator lamp operation.

  2. This step checks for ignition voltage at the EBCM.

  3. This step checks for high resistance in the ground circuit.

  4. This step decides between the LBEC or CKT 441 as the cause of the malfunction.

  5. This step checks for a short to ground in the ignition voltage circuit.

  6. This step uses the scan tool to monitor the class 2 data line for the proper messaging which turns on the ABS indicator lamp.

  7. Using the scan tool, this step attempts to manually turn the ABS indicator Lamp ON.

Step

Action

Value(s)

Yes

No

1

  1. Verify that all of the EBCM connectors are connected properly.
  2. Install the Scan Tool .
  3. Turn the ignition to RUN.
  4. Attempt to communicate with the EBCM using the Scan Tool .

Is data being received from the EBCM?

--

Go to Step  2

Go to Step  4

2

Using the Scan Tool , check for any DTCs.

Are any current or history DTCs displayed?

--

Go to Symptom and Diagnostic Trouble Code Table

Go to Step  3

3

  1. Turn the ignition to OFF for 10 seconds.
  2. Turn the ignition to RUN and observe the ABS indicator lamp.

Did the ABS indicator lamp turn on for two seconds and then turn off?

--

System is operating normally. Go to Diagnostic Aids.

Go to Step  11

4

Attempt to communicate with other class 2 modules.

Can communications be established with another class 2 module?

--

Go to Step  5

Go to Scan Tool Does Not Communicate with Class 2 Data Line

5

  1. Turn the ignition to OFF.
  2. Disconnect the 16-way EBCM harness connector.
  3. Connect a J 39700 together with a J 39700-325 to the EBCM harness connector only.
  4. Turn the ignition to RUN.
  5. Measure the voltage between the 16-way EBCM harness connector terminal A1 and ground using the J 39200 by probing terminal 1 in the J 39700 and ground.

Is the voltage measured within the specified range?

10-15V

Go to Step  6

Go to Step  9

6

Using the J 39200 , measure the resistance between terminal A7 in the 16-way EBCM harness connector and ground by probing terminal 7 in the J 39700.

Is the resistance measured within the specified range?

0-2ohms

Go to Step  7

Go to Step  12

7

  1. Inspect the EBCM terminals and the EBCM harness connector terminals for poor terminal contact.
  2. Inspect the battery terminals and the battery cable terminals for poor connection. Refer to Probing Electrical Connectors .

Is the terminal contact or the connection poor?

--

Go to Step  8

Go to Data Link Communications System Check

8

Replace the terminals or repair the poor connection.

Refer to Repairing Connector Terminals .

Is the repair complete?

--

Go to Step  1

--

9

  1. Remove the BRAKE Fuse
  2. Turn the ignition to RUN.
  3. Using the J 39200 , voltage between terminal A in the LBEC BRAKE fuse holder and ground.

Is the voltage measured within the specified range.

10-15V

Go to Step  10

Go to Step  13

10

Using the J 39200 , measure the resistance between the 16-way EBCM connector terminal A1 and ground by probing terminals 1 and 7 in the J 39700.

Is the resistance measurement equal to the specified value?

OL

Go to Step  15

Go to Step  14

11

  1. Select the ABS Indicator Lamp from the scan tool data list menu.
  2. Turn the ignition to OFF, then back to ON.
  3. Observe the ABS Indicator Lamp data list parameter.

Does the ABS Indicator Lamp data list parameter change from ON to OFF?

--

Go to Diagnostic System Check - Instrument Cluster

Go to Step  18

12

Repair open or high resistance in CKT 2150.

Is the repair complete?

--

Go to Step  1

--

13

Repair open or high resistance in LBEC. Refer to Wiring Repairs .

Is the repair complete?

--

Go to Step  1

--

14

  1. Repair short to ground in CKT 441.
  2. Check the BRAKE fuse for damage.

Is the repair complete?

--

Go to Step  1

--

15

Check CKT 441 for an open, or inspect the 16-way EBCM harness connector for physical damage which may result in an open with the 16-way EBCM harness connector connected to the EBCM.

Is there evidence of damage?

--

Go to Step  16

Go to Data Link Communications System Check

16

Repair the wiring or terminals which are damaged. Refer to Wiring Repairs and Repairing Connector Terminals .

Is the repair complete?

--

Go to Step  1

--

17

  1. Replace the EBCM. Refer to Electronic Brake Control Module Replacement .
  2. Check the BRAKE fuse for an open.

Is the repair complete?

--

Go to Step  1

--

18

Using the ABS Lamp Test portion of the Special Functions Menu on the scan tool, manually command the ABS Indicator Lamp to ON.

Does the ABS Indicator Lamp turn ON?

--

Go to Step  17

Go to Data Link Communications System Check