GM Service Manual Online
For 1990-2009 cars only

Removal Procedure


    Object Number: 1932  Size: SH
  1. Raise the vehicle. Support the vehicle with safety stands. Refer to Lifting and Jacking the Vehicle in General Information.
  2. Remove the wheel and tire assembly. Refer to Tire and Wheel Removal and Installation in Tires and Wheels.
  3. Insert a drift or a large screwdriver through the brake caliper into 1 of the brake rotor vanes in order to prevent the drive axle wheel drive shaft from turning.

  4. Object Number: 156607  Size: SH
  5. Remove the nut (2) and the washer (3) from the hub.
  6. Remove the 6 bolts (1) securing the wheel drive shaft inboard flange to the output shaft flange.
  7. Remove the drift from the rotor.

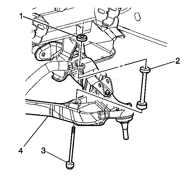
  8. Object Number: 345167  Size: SH
  9. Remove the stabilizer shaft bolt (3), the spacer (2) and the nut (1) from the lower control arm (4). Refer to Stabilizer Shaft Replacement in Front Suspension.
  10. Wrap shop towels around both the inner and the outer wheel drive shaft boots in order to avoid damage to the boots during removal and installation.
  11. Pull the wheel drive shaft through the lower control arm opening.

Installation Procedure


    Object Number: 156607  Size: SH
  1. Wrap shop towels around both the inner and the outer wheel drive shaft boots in order to avoid damage to the boots during removal and installation.
  2. Important: Do not lubricate the wheel drive shaft splines and the knuckle with grease.

  3. Insert the wheel drive shaft splined shank into the knuckle hub.
  4. Install the washer (3) and the nut (2) to the hub (4)
  5. Attach the wheel drive shaft inboard flange to the output shaft flange using the inboard flange bolts (1).

  6. Object Number: 1932  Size: SH

    Notice: Use the correct fastener in the correct location. Replacement fasteners must be the correct part number for that application. Fasteners requiring replacement or fasteners requiring the use of thread locking compound or sealant are identified in the service procedure. Do not use paints, lubricants, or corrosion inhibitors on fasteners or fastener joint surfaces unless specified. These coatings affect fastener torque and joint clamping force and may damage the fastener. Use the correct tightening sequence and specifications when installing fasteners in order to avoid damage to parts and systems.

  7. Insert a drift or a large screwdriver through the brake caliper into 1 of the brake rotor vanes in order to prevent the drive axle halfshaft from turning.
  8. Tighten

        • Tighten the inboard flange bolts to 78 N·m (58 lb ft).
        • Tighten the hub nut to 225 N·m (165 lb ft).
  9. Remove the drift from the rotor.

  10. Object Number: 345167  Size: SH
  11. Install the stabilizer shaft bolts (3), the spacer (2) and the nut (1) to the lower control arm (4).
  12. Tighten
    Obtain torque by running the nut assembly to the unthreaded portion of the bolt. Then tighten the nut to 18 N·m (13 lb ft).

  13. Install the wheel and tire assembly. Refer to Stabilizer Shaft Replacement in Front Suspension.
  14. Lower the vehicle.