GM Service Manual Online
For 1990-2009 cars only

The front wheel alignment refers to the angular relationship between the front wheels, the front suspension attaching parts, and the ground. Proper front wheel alignment must be maintained in order to ensure efficient steering, good directional stability, and prevent abnormal tire wear. The following are the most important factors of the front wheel alignment:

    • The camber
    • The caster
    • The toe-in
    • The steering wheel pull

Object Number: 156648  Size: SH

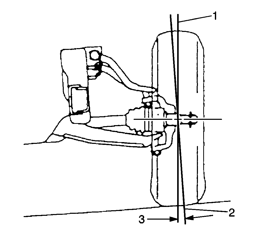
The caster is the tilting of the steering axis either forward or backward from vertical (1) when viewed from the side of the vehicle. A backward tilt is measured in positive degrees (3) and a forward tilt in negative degrees (2).

On the short and the long arm type suspension, you cannot see a caster angle without a special instrument. However, if you look straight down from the top of the upper control arm to the ground, the ball joints do not line up (fore and aft) when a caster angle other than 0 degrees is present. With a positive angle, the lower ball joint center line will be slightly ahead (toward the front of the vehicle) of the upper ball joint center line. The caster is designed into the front axle assembly on all vehicles, and is intended to be non-adjustable. However, if you measure and find the caster to be out of tolerance, the caster can be set to proper specifications.


Object Number: 156647  Size: SH

The camber is the inward or the outward tilting of the front wheels from the vertical (2). When the wheels tilt outward at the top, the camber is positive (3). When the wheels tilt inward at the top, the camber is negative. The amount of tilt measured in the degrees from the vertical is called the camber angle.

If the camber is extreme or unequal between the wheels, improper steering and excessive tire wear will result. The negative camber causes wear of the inboard side of the tire. The positive camber causes wear to the outboard side of the tire.


Object Number: 156652  Size: SH

The linear sum toe-in results when the distance between the front wheels is less at the front of the axle than at the rear of the axle.

Angular toe-in is the angle of the front wheel centerlines (1), relative to the intersection of the forward projected vehicle center line.

The actual amount of the toe-in is normally a fraction of a degree. Toe-in is measured from the center of the tire treads or from the inboard side of the tires. The purpose of the toe-in is to ensure parallel rolling of the front wheels and to offset any small deflections of the wheel support system which occur when the vehicle is rolling forward. Incorrect toe-in can cause unstable steering and front tire wear. The toe-in is the last angle to be set in the front wheel alignment procedure.

The steering wheel pull is the effort required by the driver to keep the vehicle on a straight path while driving on a level road. The front end alignment of a vehicle may be within the acceptable range of the caster and camber specifications and continue to exhibit a pull condition.

The steering wheel pull specifications allow for model sensitivity to cross camber and cross caster settings.