GM Service Manual Online
For 1990-2009 cars only
Figure 1:

Sunload Temperature Sensor/Daytime Running Lamp (DRL) Sensor


Object Number: 667799  Size: MF
(1)Instrument Panel Upper Trim Panel
(2)Sun Load Temperature Sensor
(3)DRL/AHL Ambient Light Sensor
Figure 2:

Front Heater Temperature Sensor Auto HVAC


Object Number: 618704  Size: MF
(1)Front Floor Duct Assembly
(2)Front Heater Temperature Sensor
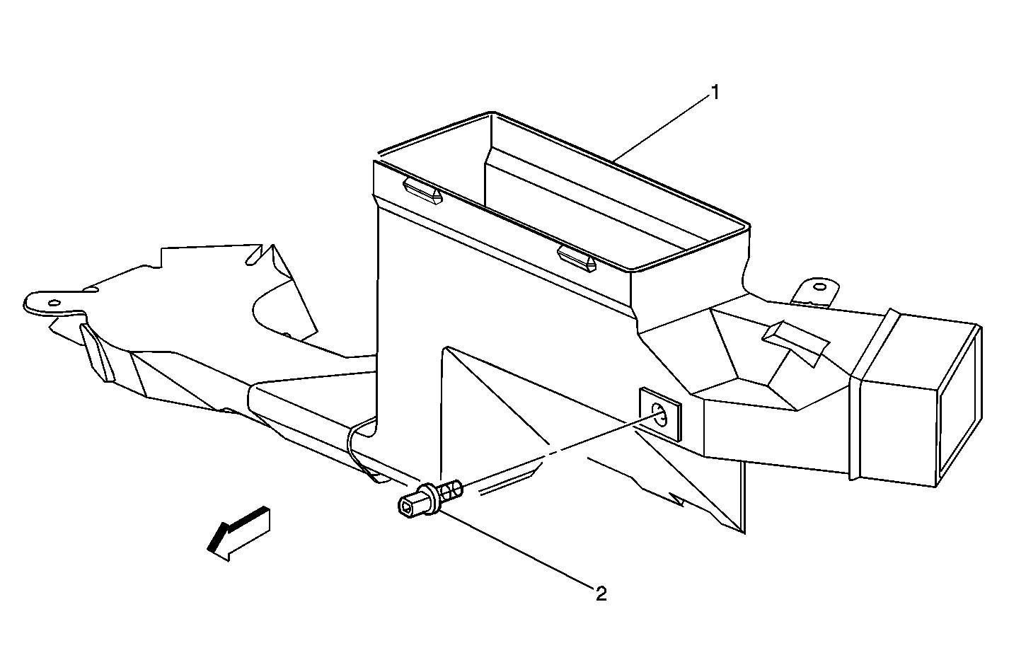
Figure 3:

Rear Auxiliary HVAC Module


Object Number: 618737  Size: MF
(1)Inner Side Body Panel
(2)Auxiliary Heater and A/C Module
(3)A/C and Heater Duct Assembly
Figure 4:

Rear HVAC Harness


Object Number: 573929  Size: LF
(1)Inner Body Side Panel
(2)Splice Pack 410 (SP410)
(3)Splice Pack 410A (SP410A)
(4)Blower Motor Connector
(5)Auxiliary HVAC Module
(6)Heater Temperature Sensor
(7)Mode Door Connector
(8)Inline Connector 350 (Auxiliary HVAC Harness Side)
(9)Inline Connector 350 (Headliner Harness Side)
(10)Inline Connector 397 (Auxiliary HVAC Harness Side)
(11)Inline Connector 397 (RH Body Harness Side)