GM Service Manual Online
For 1990-2009 cars only

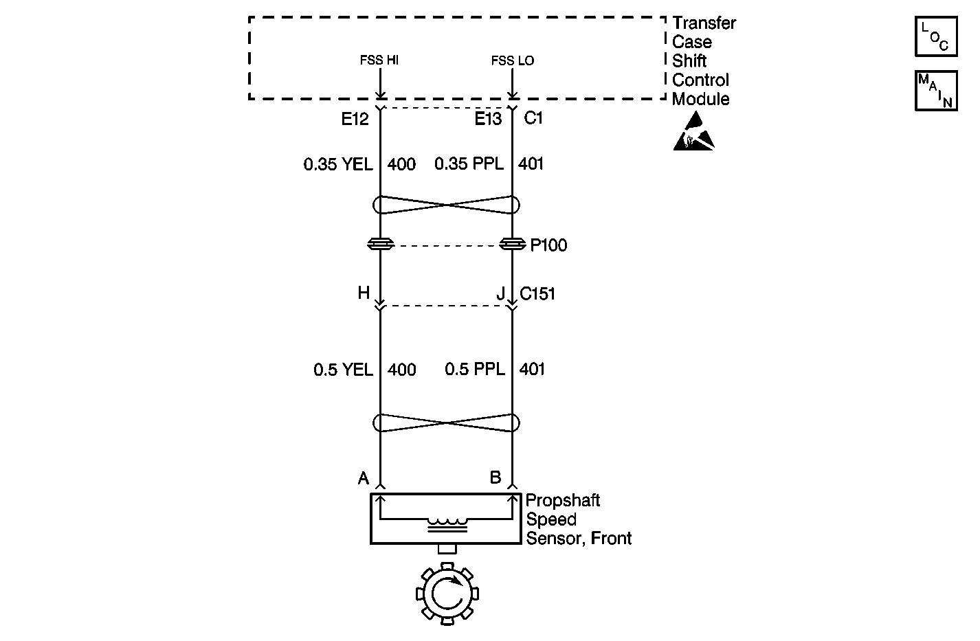
Object Number: 527787  Size: MF
Transfer Case Control Components
Transfer Case Control Schematics

Circuit Description

The Front Propshaft Speed Sensor is a Permanent Magnet (PM) generator. The PM generator produces a pulsing AC voltage. The AC voltage level and number of pulses increases as speed increases. The transfer case shift control module converts the pulsating AC voltage to a propshaft RPM which is used for calculations, and to monitor the difference between the front and rear propshaft speed. It is also used in the AUTO 4WD mode of operation to determine the amount of slip and the percent of torque to apply to the front axle. The module only looks at this input when the vehicle is in AUTO 4WD mode, 4H, and 4L ranges. The propshaft RPM can be displayed with a scan tool.

This DTC detects an open , short to ground, short to voltage or faulty sensor.

Conditions for Setting the DTC

The system will log the DTC if the front propshaft input indicates a speed of less than 16 RPM for 30 seconds while all of the following are true:

    • Transmission is NOT in Park/Neutral
    • Engine is running
    • Front axle is engaged
    • Vehicle Speed On Class 2 Data bus exceeds 10 mph

Action Taken When the DTC Sets

    • All Shifts to AUTO 4WD mode will be disabled. If the current mode is AUTO 4WD, the system will not allow any further adaptive events (correct wheel slip).
    • The Service indicator (4WD/AWD) lamp will be latched on for the remainder of the current ignition cycle.

Conditions for Clearing the DTC

    • The transfer case shift control module will clear the DTC if the condition for setting the DTC no longer exists.
    • A history DTC will clear after 100 consecutive ignition cycles without a fault present.
    • History DTCs can be cleared using a scan tool.

Test Description

The number(s) below refer to the step number(s) on the diagnostic table.

  1. Tests to see if the malfunction is intermittent.

  2. Tests the internal resistance of the propshaft speed sensor.

  3. Tests to see if the propshaft speed sensor can generate a sufficient amount of AC voltage.

  4. Tests the FSS LO circuit for a short to ground, a high resistance, or an open.

  5. Tests the FSS HI circuit for a short to ground, a high resistance, or an open.

  6. Tests the FSS LO circuit for a short to voltage.

  7. Tests the FSS HI circuit for a short to voltage.

  8. Tests the FSS LO circuit for a short to the FSS HI circuit.

DTC C0305 Front Speed Sensor Malfunction

Step

Action

Value(s)

Yes

No

1

Was the Transfer Case Diagnostic System Check performed?

--

Go to Step 2

Go to Diagnostic System Check

2

  1. Drive the vehicle for a short test drive.
  2. With the scan tool, observe the value of the Front Propshaft Speed data parameter in the Transfer Case data list.

Does the rpm value vary while driving?

--

Go to Testing for Intermittent Conditions and Poor Connections

Go to Step 3

3

  1. Turn the ignition OFF.
  2. Disconnect the transfer case front propshaft speed sensor.
  3. Measure the resistance of the transfer case front propshaft speed sensor.

Is the resistance reading within the specified values?

1300-2700 ohms

Go to Step 4

Go to Step 10

4

  1. Connect a Digital Multimeter DMM to the transfer case front propshaft speed sensor.
  2. Block the rear wheels.
  3. Place the transmission in NEUTRAL.
  4. Raise and support the front axle so that the wheels turn freely.
  5. Hold one front wheel while rotating the other front wheel.
  6. Observing the AC voltage reading on the DMM.

Is the voltage reading greater than the specified value?

0.5 V AC

Go to Step 5

Go to Step 10

5

  1. Disconnect the transfer case shift control module.
  2. Test the FSS LO circuit for a short to ground, a high resistance, or an open. Refer to Circuit Testing and Wiring Repairs in Wiring Systems.

Was the condition found and corrected?

--

Go to Step 12

Go to Step 6

6

Test the FSS HI circuit for a short to ground, a high resistance, or an open. Refer to Circuit Testing and Wiring Repairs in Wiring Systems.

Was the condition found and corrected?

--

Go to Step 12

Go to Step 7

7

Test the FSS LO circuit for a short to voltage. Refer to Circuit Testing and Wiring Repairs in Wiring Systems.

Was the condition found and corrected?

--

Go to Step 12

Go to Step 8

8

Test the FSS HI circuit for a short to voltage. Refer to Circuit Testing and Wiring Repairs in Wiring Systems.

Was the condition found and corrected?

--

Go to Step 12

Go to Step 9

9

Test the FSS LO circuit for a short to the FSS HI circuit. Refer to Circuit Testing and Wiring Repairs in Wiring Systems.

Was the condition found and corrected?

--

Go to Step 12

Go to Step 11

10

Replace the transfer case front propshaft speed sensor. Refer to Speed Sensor Replacement .

Is the repair complete?

--

Go to Step 12

--

11

Replace the transfer case shift control module. Refer to Transfer Case Shift Control Module Replacement .

Is the repair complete?

--

Go to Step 12

--

12

  1. Use the scan tool in order to clear the DTCs.
  2. Operate the vehicle within the Conditions for Running the DTC as specified in the supporting text.

Does the DTC reset?

--

Go to Step 2

System OK