GM Service Manual Online
For 1990-2009 cars only

Shift Lever Replacement - On Vehicle With Tow/Haul Switch

Removal Procedure


    Object Number: 362445  Size: SH
  1. Remove the steering column trim covers. Refer to Steering Column Trim Covers Replacement - On Vehicle .
  2. Roll back the seal on the shift lever (1) until the TORX® head screw (2) is exposed.
  3. Remove the TORX® head screw (2).
  4. Remove the knee bolster. Refer to Knee Bolster Replacement in Instrument Panel, Gages and Console.

  5. Object Number: 748879  Size: SH
  6. Remove the nuts (1) from the knee bolster deflector bracket

  7. Object Number: 748881  Size: SH

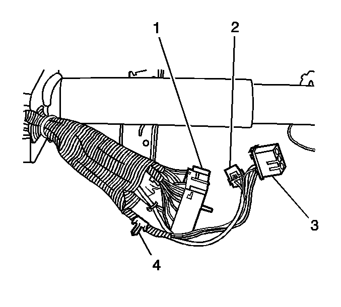
    Notice: During removal of the steering column the wire harness retaining clip must be removed and reinstalled after installing the steering column or damage may occur to the wire harness.

  8. Remove the wiring harness retaining pin (4) from the instrument panel.
  9. Remove the wire straps and open the harness insulation to gain access to the electrical wiring.
  10. Remove the wiring from the electrical connector.
  11. Remove the shift lever (1).

Installation Procedure


    Object Number: 362445  Size: SH
  1. Install the shift lever (1).
  2. Connect the shifter electrical connector.
  3. Install the wire straps to the harness.

  4. Object Number: 748881  Size: SH
  5. Install the harness retaining pin (4) to the instrument panel.
  6. Notice: Refer to Fastener Notice in the Preface section.


    Object Number: 748879  Size: SH
  7. Install the knee bolster deflector bracket and nuts (1).
  8. Tighten
    Tighten the nuts to 9 N·m (80 lb in).

  9. Install the knee bolster. Refer to Knee Bolster Replacement in Instrument Panel, Gages and Console.
  10. Install the TORX® head screw.
  11. Tighten
    Tighten the screw to 1.5 N·m (13 lb in).

  12. Roll the seal over the TORX® head screw.
  13. Install the steering column trim covers. Refer to Steering Column Trim Covers Replacement - On Vehicle .

Shift Lever Replacement - On Vehicle Without Tow/Haul Switch

Removal Procedure


    Object Number: 362445  Size: SH
  1. Roll back the seal until the TORX® head screw (2) is exposed.
  2. Remove the TORX® head screw (2).
  3. Remove the shift lever (1).

Installation Procedure


    Object Number: 362445  Size: SH
  1. Install the shift lever (1).
  2. Notice: Use the correct fastener in the correct location. Replacement fasteners must be the correct part number for that application. Fasteners requiring replacement or fasteners requiring the use of thread locking compound or sealant are identified in the service procedure. Do not use paints, lubricants, or corrosion inhibitors on fasteners or fastener joint surfaces unless specified. These coatings affect fastener torque and joint clamping force and may damage the fastener. Use the correct tightening sequence and specifications when installing fasteners in order to avoid damage to parts and systems.

  3. Install the TORX® head screw (2).
  4. Tighten
    Tighten the screw to 1.5 N·m (13 lb in).

  5. Roll the seal over the TORX® head screw (2).