GM Service Manual Online
For 1990-2009 cars only

Important: The piston diameter can NOT be measured due to the piston coating. Do NOT measure the piston diameter.

Important: Measurement of all components should be taken with the components at room temperature.

Do not use a wire brush in order to clean any part of the piston.


    Object Number: 635669  Size: SH
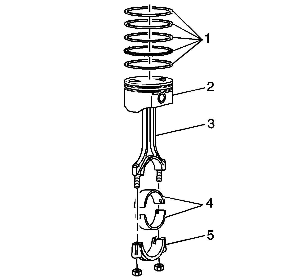
  1. Clean the piston (2), connecting rod (3) and connecting rod cap (5) in solvent.
  2. Caution: Wear safety glasses in order to avoid eye damage.

  3. Dry the components with compressed air.

  4. Object Number: 4977  Size: SH
  5. Clean the piston ring grooves with a suitable ring groove cleaning tool.
  6. Clean the piston oil lubrication holes and slots.

  7. Object Number: 639530  Size: SH
  8. Inspect the piston for the following conditions:
  9. • Eroded areas (1) on the top of the piston
    • Scuffed or damaged skirt (2)
    • Cracks in the piston ring lands, the piston skirt, or the pin bosses
    • Piston ring grooves for nicks, burrs, or other warpage which may cause the piston ring to bind
  10. Inspect the piston pin for scoring, wear or other damage.

  11. Object Number: 4969  Size: SH
  12. Measure the piston ring-to-piston ring groove side clearance. Refer to Engine Mechanical Specifications .
  13. 7.1. Insert the edge of the piston ring into the piston ring groove.

    Roll the piston ring completely around the piston.

    7.2. If binding is caused by a distorted piston ring groove, MINOR imperfections may be removed with a fine file.
    7.3. If binding is caused by a distorted piston ring, replace the piston ring.

    Object Number: 639528  Size: SH
  14. Measure the piston ring side clearance with a feeler gage.
  15. If the side clearance is too small, try another piston ring set. Refer to Engine Mechanical Specifications .
  16. If the proper piston ring-to-piston ring groove clearance cannot be achieved, replace the piston and pin assembly.

  17. Object Number: 639526  Size: SH
  18. Inspect the connecting rod for an out-of-round bearing bore.

  19. Object Number: 639524  Size: SH
  20. Inspect the connecting rod for twisting.
  21. Inspect the connecting rod for damage to the connecting rod bolt threads.

  22. Object Number: 4968  Size: SH

    Important: Fit each compression ring to the cylinder in which it will be used.

  23. Measure the piston compression ring end gap.
  24. 14.1. Place the compression ring into the cylinder bore.
    14.2. Push the compression ring into the cylinder bore to approximately 6.5 mm (0.25 in) above the ring travel.

    The ring must be square to the cylinder wall.

    14.3. Use a feeler gage in order to measure the end gap.
    14.4. Select another size ring set if the end gap exceeds specifications.