GM Service Manual Online
For 1990-2009 cars only
Figure 1:

Converter Housing/Main Housing and Associated Components (1 of 4)


Object Number: 666567  Size: MF
(1)Bolt, M10 x 1.5 x 35 Flange Hd
(2)Bolt, M10 x 1.5 x 25 Flange Hd
(3)Torque Converter Shipping Bracket
(4)Nut, M10 x 1.5
(5)Torque Converter
(6)Torque Converter Seal
(7)Park/Neutral Position (PNP) Switch
(8)Selector Shaft Nut
(9)Bolt, M8 x 1.25 x 20
(20)Torque Converter Housing
(50)Main Housing
(81)Rear Cover
(82)Rear Shipping Cover
(84)Rear Seal
(85)Yoke Assembly, 2/3 Round 1410 Flange
(86)Sealring Washer
(87)Bolt, 1/2-20 Flange Hd
(90)Bolt, M6 x 1.0 x 13
(91)Output Speed Sensor
(92)O-ring
(93)Sensor Shipping Cover
Figure 2:

Converter Housing/Main Housing and Associated Components (2 of 4)


Object Number: 670634  Size: LF
(20)Torque Converter Housing
(21)Bolt, M10 x 1.5 x 50 Flange Hd
(22)Seal
(30)Bolt, M6 x 1.0 x 13 Flange Hd
(31)Input Speed Sensor
(32)Speed Sensor O-ring
(33)Sensor Shipping Cover
(35)Converter Housing Access Cover
(40)Hydraulic Connector Assembly
(41)O-ring
(42)Pressure Tap Plug
(43)Control Main Filter Attachment Tube
(44)Control Main Magnet
(45)Control Main Filter
(50)Main Housing
(81)Rear Cover
Figure 3:

Converter Housing and Main Housing (3 of 4)


Object Number: 670805  Size: MF
(20)Torque Converter Housing
(50)Main Housing
(51)Bolt, M6 x 1.0 x 13
(52)Turbine Speed Sensor
(53)Speed Sensor Seal
(54)Sensor Shipping Cover
(55)PTO Cover Gasket
(55)PTO Cover Gasket
(56)PTO Cover
(56)PTO Cover
(57)Bolt, M10 x 1.5 x 20 Flange Hd, Coated
(57)Bolt, M10 x 1.5 x 20 Flange Hd, Coated
(60)Spring Pin
(61)Selector Shaft
(62)Selector Shaft Seal
(63)Detent Lever
(64)Nut, M10 x 1.50 Flange
(65)Park Pawl Apply Assembly
(81)Rear Cover
Figure 4:

Converter Housing/Main Housing and Associated Components (4 of 4)


Object Number: 670809  Size: LF
(20)Torque Converter Housing
(50)Main Housing
(70)Fill Tube Plug
(71)Fill Tube Plug Seal
(72)Suction Filter Seal
(73)Suction Filter
(74)Oil Pan Gasket
(75)Magnet
(76)Oil Pan
(77)Drain Plug Seal
(78)Drain Plug
(79)Bolt, M8 x 1.25 x 20 Flange Hd
(81)Rear Cover
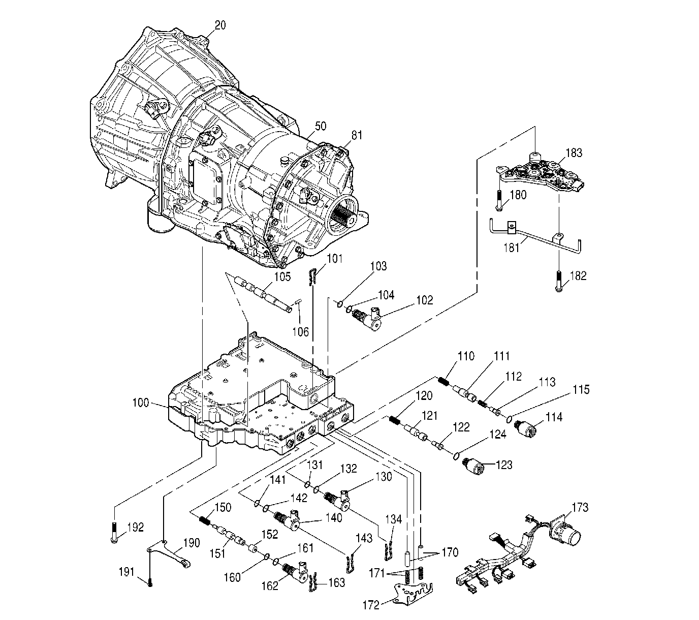
Figure 5:

Control Valve Assembly


Object Number: 670831  Size: LF
(20)Torque Converter Housing
(50)Main Housing
(81)Rear Cover
(100)Control Valve Assembly
(101)On/Off Shift Solenoid Retainer
(102)C On/Off Shift Solenoid
(103)Solenoid O-ring
(104)Solenoid O-ring
(105)Manual Selector Valve
(106)Manual Selector Valve Pin
(110)A Trim Spring
(111)A Trim Valve
(112)A/B Trim Spring
(113)Trim Gain Valve
(114)A Trim Solenoid, N/O
(115)Solenoid O-ring
(120)B Trim Spring
(121)B Trim Valve
(122)Trim Gain Valve
(123)B Trim Solenoid, N/C
(124)Solenoid O-ring
(130)E On/Off Shift Solenoid
(131)Solenoid O-ring
(132)Solenoid O-ring
(134)Solenoid Retainer
(140)D On/Off Shift Solenoid
(141)Solenoid O-ring
(142)Solenoid O-ring
(143)Solenoid Retainer
(150)F Trim Spring
(151)F Trim Valve
(152)F Trim Sleeve
(160)Solenoid O-ring
(161)Solenoid O-ring
(162)F Trim PWM Solenoid
(163)Solenoid Retainer
(170)Accumulator Plug
(171)Accumulator Spring
(172)A/B Solenoid Bracket
(173)Internal Wiring Harness
(180)Bolt, M6 x 1.0 x 65 Flange Hd
(181)Reverse Signal Tube
(182)Bolt, M6 x 1.0 x 50 Flange Hd
(183)Pressure Switch Assembly
(190)Detent Spring Assembly
(191)Bolt, M6 x 1.0 x 12 Flange Hd
(192)Bolt, M6 x 1.0 x 50 Flange Hd
Figure 1:

Torque Converter Clutch/Converter Housing Assembly


Object Number: 1217275  Size: LF
(1)Torque Converter
(2)Torque Converter Housing
(3)Line Pressure Test Hole Plug
(4)Line Pressure Test Hole Plug O-ring
(5)Transmission External Oil Filter
(6)Transmission External Oil Filter Magnet
(7)Transmission External Oil Filter Adapter
(8)Torque Converter Housing Bolt, M10 x 1.5 x 50, Flanged Head (18)
(9)Torque Converter Housing Bolt, M10 x 1.5 x 70, Flanged Head (2)
(10)Sensor Shipping Cover
(11)Vehicle Speed Sensor Bolt
(12)Input Speed Sensor
(13)Vehicle Speed Sensor O-ring
(14)Torque Converter Housing Bolt, M10 x 1.5 x 25 (10)
(15)Transmission Oil Cooler Pipe Connector (2)
(16)Torque Converter Housing Access Hole Cover
Figure 2:

Torque Converter Housing/Oil Pump Cover Assembly


Object Number: 1217618  Size: LF
(1)Torque Converter Housing/Oil Pump Cover Assembly
(2)Torque Converter Housing Bolt, M10 x 1.5 x 50, Flanged Head (10)
(3)Torque Converter Housing Bolt Seal
(4)Torque Converter Housing
(5)Torque Converter Housing Gasket
(6)Oil Pump Cover Assembly
Figure 3:

Oil Pump Assembly


Object Number: 1217607  Size: LF
(1)Oil Pump Assembly
(2)Oil Pump O-Ring Seal
(3)Torque Converter Oil Seal
(4)Oil Pump Bushing
(5)Oil Pump Body
(6)Oil Pump Driven Gear
(7)Oil Pump Drive Gear
(8)Locating Pin (2)
(9)Oil Pump Wear Plate
Figure 4:

Front Support


Object Number: 1462130  Size: LF
(1)Front Support Assembly
(2)Needle Bearing
(3)Front Support
(4)Bushing, 33.8 mm (1.33 in) ID
(5)Ground Sleeve
(6)Converter Flow Valve
(7)Converter Flow Valve Spring
(8)Converter Flow Valve Stop
(9)Converter Flow Valve Stop Retainer Pin
(10)Converter Relief Valve
(11)Converter Relief Valve Spring
(12)Retaining Clip
(13)Lube Regulator Valve
(14)Lube Regulator Valve Spring
(15)O-Ring
(16)Lube Regulator Valve Stop
(17)Lube Regulator Valve Stop Retaining Pin
(18)C1 Clutch Backfill Valve
(19)C1 Clutch Backfill Valve Spring
(20)Retaining Clip
(21)Main Regulator Valve
(22)Main Regulator Valve Spring
(23)Main Regulator Valve Spring Stop
(24)Main Regulator Spring Stop Retaining Pin
Figure 5:

Front Support Module


Object Number: 1217244  Size: LF
(1)Front Support Module
(2)Main Pump Assembly
(3)Converter /Main Housing Separator Plate
(5)Butt-Joint Seal Ring, End
(5)Butt-Joint Seal Ring, middle
(6)Front Support Assembly
(7)Bolt, M8 x 1.25 x 55, Flange Head, 5
(8)Thrust Washer, W1 PEEK
(9)Butt-Joint Seal Ring, 3
Figure 6:

1-2-3-4, 4-5 Clutch Assembly


Object Number: 1217262  Size: LF
(1)1-2-3-4, 4-5 Clutch Assembly
(2)Overlap Seal Ring (2)
(3)Turbine Shaft
(4)Bushing, 20 mm (0.8 in) ID
(5)1-2-3-4, 4-5 Clutch Piston Housing Assembly
(6)Power Take-Off (PTO) Gear
(7)Turbine Tone Wheel
(8)1-2-3-4, 4-5 Clutch Bushing
(9)1-2-3-4, 4-5 Clutch Housing
(10)O-ring
(11)External Retaining Ring
(12)4-5 Clutch Piston Inner Seal
(13)4-5 Clutch Piston Outer Seal
(14)4-5 Clutch Balance Piston Seal
(15)4-5 Clutch Piston
(16)4-5 Clutch Return Spring
(17)Clutch Piston Housing Checkball
(18)1-2-3-4 Clutch Piston Housing
(19)4-5 Clutch Piston Return Spring Retainer
(20)4-5 Clutch Balance Piston
(21)4-5 Clutch Backing Plate Retainer
(22)1-2-3-4 Clutch Piston Inner Seal
(23)1-2-3-4 Clutch Piston Outer Seal
(24)1-2-3-4 Clutch Piston
(25)1-2-3-4 Clutch Piston Return Spring
(26)1-2-3-4 Clutch Hub External Retainer Ring
(27)1-2-3-4 Clutch Balance Piston
(28)1-2-3-4 Clutch Hub Internal Retainer Ring
(29)1-2-3-4 Clutch Steel Plate (6)
(30)1-2-3-4 Clutch Fiber Plate (6)
(31)1-2-3-4 Clutch Selective Backing Plate 5.84-6.04 mm (0.2299-0.2378 in)
(32)1-2-3-4 Clutch Backing Plate External Retainer Ring
(33)1-2-3-4 Clutch Backing Plate Internal Retainer Ring
(34)1-2-3-4 Clutch Hub Thrust Bearing
(35)1-2-3-4 Clutch Hub
(36)4th and 5th Clutch Hub Thrust Bearing
(37)4-5 Clutch Steel Plate (7)
(38)4-5 Clutch Fiber Plate (6)
(39)4-5 Clutch Hub
(40)Input Sun Gear Thrust Washer
(41)Input Sun Gear
(42)Input Sun Gear Flange
(43)Input Sun Gear External Retaining Ring
Figure 7:

Converter Housing/Main Housing and Associated Components (4 of 4)


Object Number: 670809  Size: LF
(20)Torque Converter Housing
(50)Main Housing
(70)Fill Tube Plug
(71)Fill Tube Plug Seal
(72)Suction Filter Seal
(73)Suction Filter
(74)Oil Pan Gasket
(75)Magnet
(76)Oil Pan
(77)Drain Plug Seal
(78)Drain Plug
(79)Bolt, M8 x 1.25 x 20 Flange Hd
(81)Rear Cover
Figure 8:

Automatic Transmission Case


Object Number: 1217942  Size: LF
(1)Automatic Transmission Case
(2)Transmission Case Locating Pin
(3)Transmission Vent Assembly
(4)Transmission Vent Cap
(5)Transmission Vent
(6)Nameplate Rivet
(7)Nameplate
(8)Vehicle Speed Sensor Bolt, M6 x 1.0 x 13
(9)Sensor Shipping Cover
(10)Turbine Speed Sensor
(11)Vehicle Speed Sensor O-Ring
(12)Power Take-Off (PTO) Cover Gasket (2)
(13)PTO Cover (2)
(14)PTO Cover Bolt, M10 x 1.5 x 20, Flanged Head, Coated (12)
(15)Park/Neutral Position (PNP) Switch
(16)Shift Lever Nut
(17)PNP Switch Bolt, M8 x 1.25 x 20 (2)
(18)Front Splash Shield
(19)Manual Shift Shaft
(20)Manual Shift Shaft Seal
(21)Manual Shift Shaft Pin
(22)Manual Shift Shaft Detent Lever
(23)Park Pawl Assembly
(24)Control Valve Body Locating Pin
(25)Manual Shift Shaft Nut, M10 x 1.50
(26)Connector Shipping Cover
(27)Control Valve Body Assembly
(28)Control Valve Body Bolt, M6 x 1.0 x 50, Flanged Head (15)
(29)Manual Shift Shaft Detent Spring
(30)Manual Shift Shaft Detent Spring Bolt M6 x 1.0 x 12. Flanged Head (2)
(31)Transmission Wiring Harness Assembly
Figure 9:

2nd Clutch/Low and Reverse Clutch


Object Number: 1217266  Size: LF
(1)2nd Clutch Piston Assembly, Bonded Seals
(2)Input Internal Ring Gear
(3)2nd Clutch Spring Plate
(4)Piston Return Spring Assembly (3)
(5)2nd Clutch Fiber Plate (5)
(6)2nd Clutch Steel Plate (4)
(7)2nd Clutch Backing Plate
(8)Internal Retaining Ring
(9)Internal Retaining Ring
(10)Low and Reverse Clutch Backing Plate
(11)Low and Reverse Clutch Fiber Plate (6)
(12)Low and Reverse Clutch Steel Plate (5)
(13)Low and Reverse Clutch Steel Plate, Selective
Figure 10:

Input Carrier and Ring Gear Assembly, Intermediate Carrier and Ring Gear Assembly, Main Shaft


Object Number: 1217360  Size: LF
(1)Input Carrier and Ring Gear Assembly
(2)Input Carrier Thrust Bearing
(3)Intermediate Carrier and Ring Gear Assembly
(4)Intermediate Carrier Thrust Bearing
(5)Main Shaft
(6)Intermediate Sun Gear
(7)Intermediate Sun Gear Spacer
(8)Output Sun Gear
(9)Output Shaft Thrust Bearing
Figure 11:

Input Carrier and Ring Gear Assembly


Object Number: 1217361  Size: MF
(1)Input Carrier and Ring Gear Assembly
(2)Input Carrier Thrust Washer
(3)Input Carrier Internal Retaining Ring
(4)Input Carrier Assembly
(5)Intermediate and 2nd Clutch Ring Gear
Figure 12:

Intermediate Carrier and Ring Gear Assembly


Object Number: 1217364  Size: MF
(1)Intermediate Carrier and Ring Gear Assembly
(2)Intermediate Carrier Internal Retaining Ring
(3)Intermediate Carrier Assembly
(4)Output Carrier and Low and Reverse Clutch Ring Gear
Figure 13:

Input Carrier Assembly


Object Number: 1217626  Size: MF
(1)Input Carrier Assembly
(2)Bushing, 53.0 mm (2.09 in) ID
(3)Input Carrier
(4)Input Carrier Spindle (4)
(5)Input Carrier Thrust Washer (4)
(6)Input Carrier Roller Bearing Assembly (8)
(7)Input Carrier Pinion Gear (4)
(8)Input Carrier Thrust Washer (4)
Figure 14:

Intermediate Carrier Assembly


Object Number: 1217365  Size: MF
(1)Intermediate Carrier Assembly
(2)Intermediate Carrier
(3)Intermediate Carrier Bushing, 36.0 mm (1.42 in) ID
(4)Intermediate Carrier Thrust Washer (4)
(5)Intermediate Carrier Roller Bearing Assembly (4)
(6)Intermediate Carrier Pinion Gear (4)
(7)Intermediate Carrier Thrust Washer (4)
(8)Intermediate Carrier Spindle (4)
Figure 15:

Output Carrier Assembly, Output Shaft, Low and Reverse Clutch Return Spring Assembly, Park Pawl


Object Number: 1217281  Size: MF
(1)Park Pawl Cam Guide
(2)Park Pawl Support Pin
(3)Park Pawl
(4)Park Pawl Return Spring
(5)Low and Reverse Clutch Piston Return Spring Assembly
(6)Bushing, 20 mm (0.8 in) ID
(7)Output Shaft, 2WD
(8)Output Shaft, 4WD
(9)Output Carrier Assembly
Figure 16:

Low and Reverse Clutch Piston Housing


Object Number: 1217315  Size: MF
(1)Low and Reverse Clutch Housing Gasket
(2)Low and Reverse Clutch Housing, 2WD
(3)Low and Reverse Clutch Housing, 4WD
(4)Low and Reverse Clutch Housing Bolt, M10 x 1.5 x 40, Flanged Head (16)
(5)Prop Shaft Front Slip Yoke Oil Seal
(6)Output Nut, 4WD
(7)Rear Shipping Cover, 2WD
(8)Rear Shipping Cover, 4WD
Figure 17:

Output Carrier Assembly


Object Number: 1217284  Size: LF
(1)Output Carrier Assembly
(2)Output Carrier
(3)Output Carrier Thrust Washer (4)
(4)Output Carrier Roller Bearing Assembly (8)
(5)Output Carrier Pinon Gear (4)
(6)Output Carrier Thrust Washer (4)
(7)Output Carrier Planetary Spindle (4)
(8)Output Carrier Bearing Race
Figure 18:

Low and Reverse Clutch Housing Assembly, 2WD


Object Number: 1273119  Size: MF
(1)Low and Reverse Clutch Housing Assembly, 2WD
(2)Low and Reverse Clutch Piston
(3)Low and Reverse Clutch Outer Piston Seal
(4)Low and Reverse Clutch Inner Piston Seal
(5)Internal Retaining Ring
(6)Output Carrier Support Bearing
(7)Output Speed Sensor Reluctor Wheel
(8)Low and Reverse Clutch Housing, 2WD
(9)Vehicle Speed Sensor Bolt, M6 x 1.0 x 13
(10)Sensor Shipping Cover
(11)Output Speed Sensor
(12)Vehicle Speed Sensor O-Ring
(13)Low and Reverse Clutch Selective Spacer
(14)Low and Reverse Clutch External Retaining Ring
(15)Output Shaft Support Bearing
(16)Low and Reverse Clutch Internal Retaining Ring
Figure 19:

Low and Reverse Clutch Housing Assembly, 4WD


Object Number: 1217366  Size: MF
(1)Low and Reverse Clutch Housing Assembly, 4WD
(2)Low and Reverse Clutch Piston
(3)Low and Reverse Clutch Outer Piston Seal
(4)Low and Reverse Clutch Inner Piston Seal
(5)Internal Retaining Ring
(6)Output Carrier Support Bearing
(7)Output Shaft Bearing Spacer
(8)Low and Reverse Clutch Housing, 4WD
(9)Selective Spacer
(10)External Retaining Ring
(11)Output Shaft Support Bearing
(12)Internal Retaining Ring
(13)Output shaft Retaining Nut, 4WD
Figure 20:

Control Valve Body -- Model Year 04


Object Number: 1217272  Size: LF
(1)Control Valve Assembly
(2)Shift Valve Body
(3)Separator Plate
(4)Main Valve Body Assembly
(5)Bolt, M6 x 10 x 50, flanged head , 23
(6)Reverse Signal Tube
(7)Bolt, M6 x 10 x 50, flanged head
(8)Pressure Switch Assembly
Figure 21:

Shift Valve Body -- Model Year 04


Object Number: 1217371  Size: LF
(1)Shift Valve Body Assembly
(2)Retaining Clip
(3)D Shift Plug
(4)Shift Spring
(5)D Shift Valve
(6)Retaining Clip
(7)E Shift Plug
(8)Shift Spring
(9)E Shift Valve
(10)Retaining Clip
(11)Shift Spring
(12)C Shift Valve
(13)Retaining Clip
(14)Control Main Spring
(15)Control Main Valve
(16)Shift Valve Body
(17)ON/OFF Shift Solenoid Retainer
(18)Solenoid Screen
(19)C ON/OFF Shift Solenoid
(20)Solenoid O-Ring
(21)Solenoid O-Ring
(22)Manual Selector Valve
Figure 22:

Main Valve Body Assembly


Object Number: 1217372  Size: LF
(1)Main Valve Body Assembly
(2)Retaining Clip
(3)Exhaust Pressure Regulator Valve Spring
(4)Exhaust Pressure Regulator Valve
(5)Retaining Clip
(6)Control Relief Spring
(7)Control Relief Valve
(8)Main Valve Body
(9)Locating Pin (4)
(10)Locating Pin
(11)Pressure Control Solenoid A Spring
(12)Pressure Control Solenoid A Valve
(13)Pressure Control Solenoid A Spring
(14)Trim Gain Valve
(15)Pressure Control Solenoid A
(16)Pressure Control Solenoid A O-Ring
(17)Pressure Control Solenoid B Spring
(18)Pressure Control Solenoid B Valve
(19)Trim Gain Valve
(20)Pressure Control Solenoid B
(21)Pressure Control Solenoid B O-Ring
(22)Shift Solenoid E
(23)Shift Solenoid E O-Ring
(24)Shift Solenoid E O-Ring
(25)Shift Solenoid D
(26)Shift Solenoid D O-Ring
(27)Shift Solenoid D O-Ring
(28)Torque Converter Clutch Pulse Width Modulated (TCC PWM) Solenoid Spring
(29)TCC PWM Solenoid Valve
(30)TCC PWM Solenoid Sleeve
(31)TCC PWM Solenoid
(32)TCC PWM Solenoid O-Ring
(33)TCC PWM Solenoid O-Ring
(34)TCC PWM Solenoid Retainer
(35)Shift Solenoid D and E Retainers (2)
(36)Accumulator Plug (2)
(37)Accumulator Spring (2)
(38)Pressure Control Valve Retaining Bracket
(39)Pressure Control Valve Retaining Bracket Bolt (3)