GM Service Manual Online
For 1990-2009 cars only
Makes
🢒
Chevrolet
🢒
2001
🢒
Chevy K Silverado - 4WD
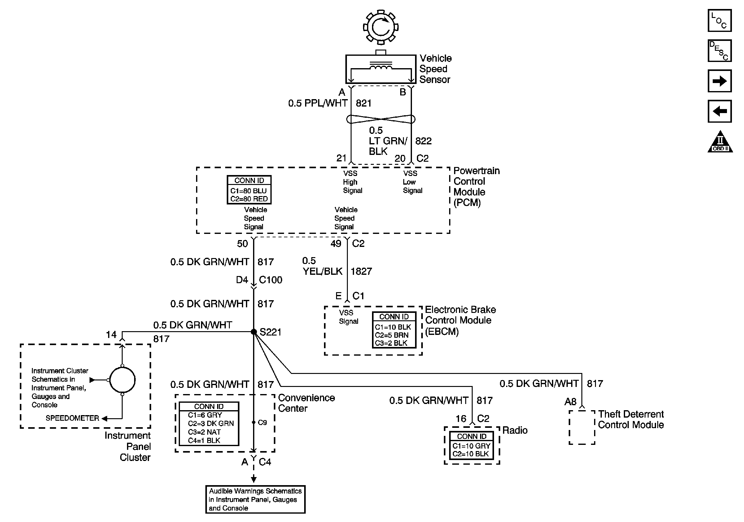
🢒 VSS Circuit
VSS Circuit
VSS Circuit
Master Electrical Component List
EVAP and EGR
HO2S Circuit
OBD II Symbol Description Notice
Speedometer, Tachometer, and Fuel Gauge
Audible Warnings Circuit