GM Service Manual Online
For 1990-2009 cars only
Makes
🢒
Chevrolet
🢒
2001
🢒
Chevy K Silverado - 4WD
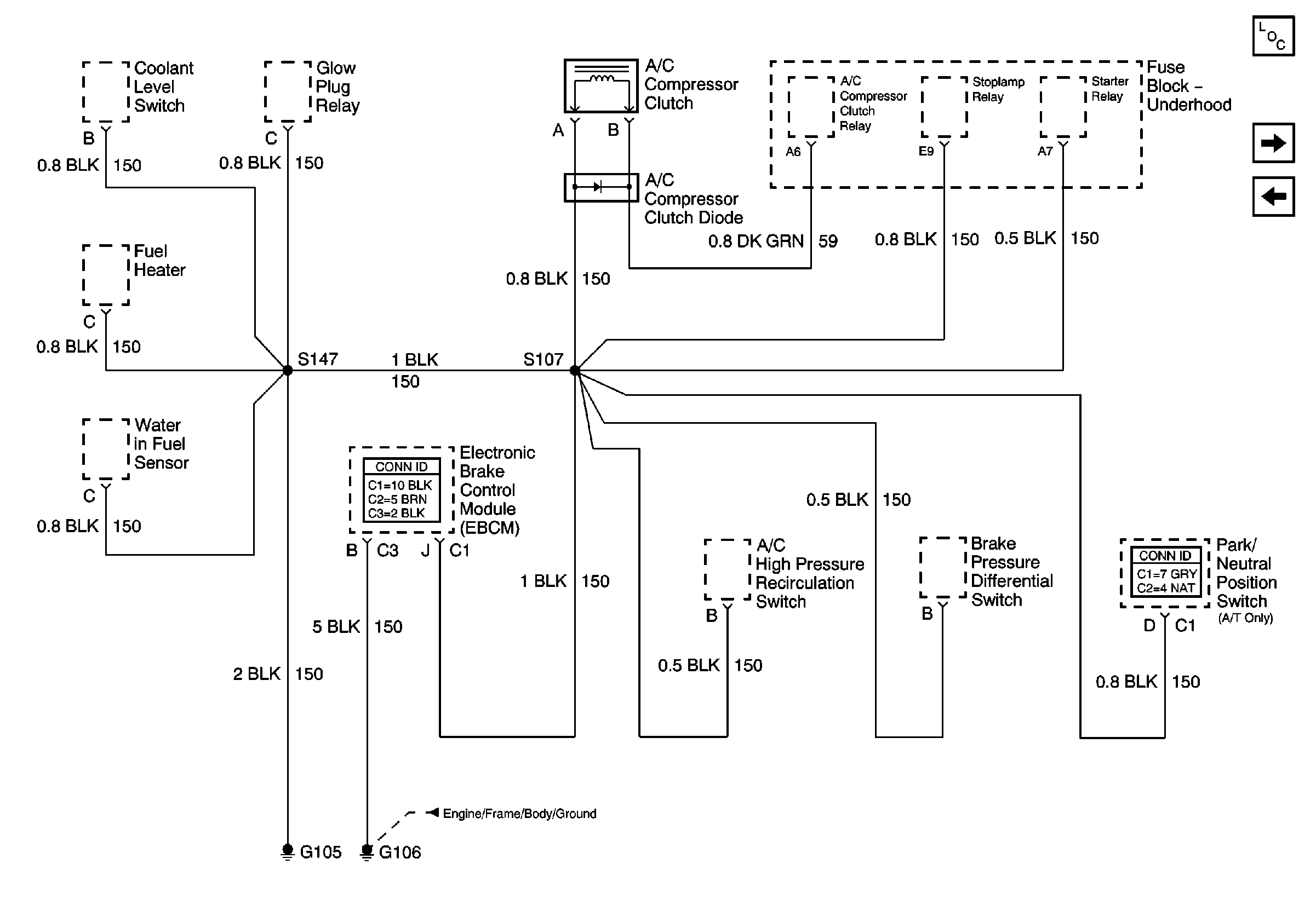
🢒 G105 and G106 (L65 Except Frame Ground)
G105 and G106 (L65 Except Frame Ground)
G105 and G106 (L65 Except Frame Ground)
Master Electrical Component List
G102, G103, G106 (L65, Frame), G110, G111, G112 (Battery), and G115
G105, L18, 2 of 2, Ignition Coils
G102, G103, G106 (L65, Frame), G110, G111, G112 (Battery), and G115