GM Service Manual Online
For 1990-2009 cars only
Makes
🢒
Chevrolet
🢒
2001
🢒
Chevy K Silverado - 4WD
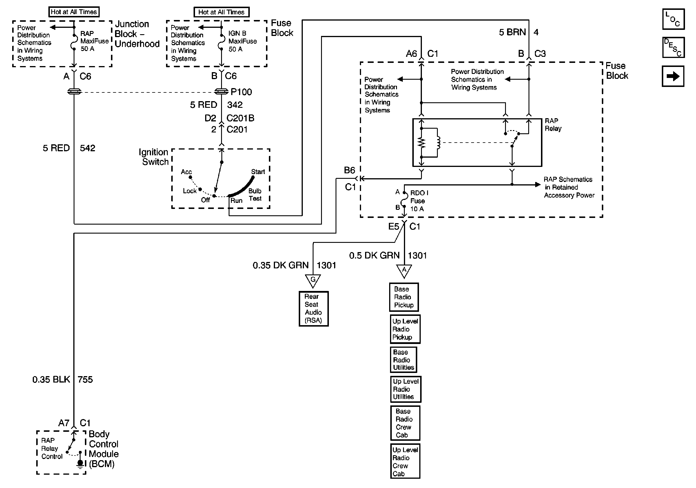
🢒 RAP Fuse, IGN B Fuse Ignition Switch and RAP Relay
RAP Fuse, IGN B Fuse Ignition Switch and RAP Relay
RAP Fuse, IGN B Fuse Ignition Switch and RAP Relay
Master Electrical Component List
Radio/Audio System Description and Operation
RADIO Fuse, Radio, Speakers, and SP203
Handling ESD Sensitive Parts Notice
Power Distribution Schematics
Power Distribution Schematics
Power Distribution Schematics
Power Distribution Schematics
Retained Accessory Power (RAP) Schematics
RADIO Fuse, Radio, Speakers, and SP203