GM Service Manual Online
For 1990-2009 cars only
Makes
🢒
Chevrolet
🢒
2001
🢒
Chevy K Silverado - 4WD
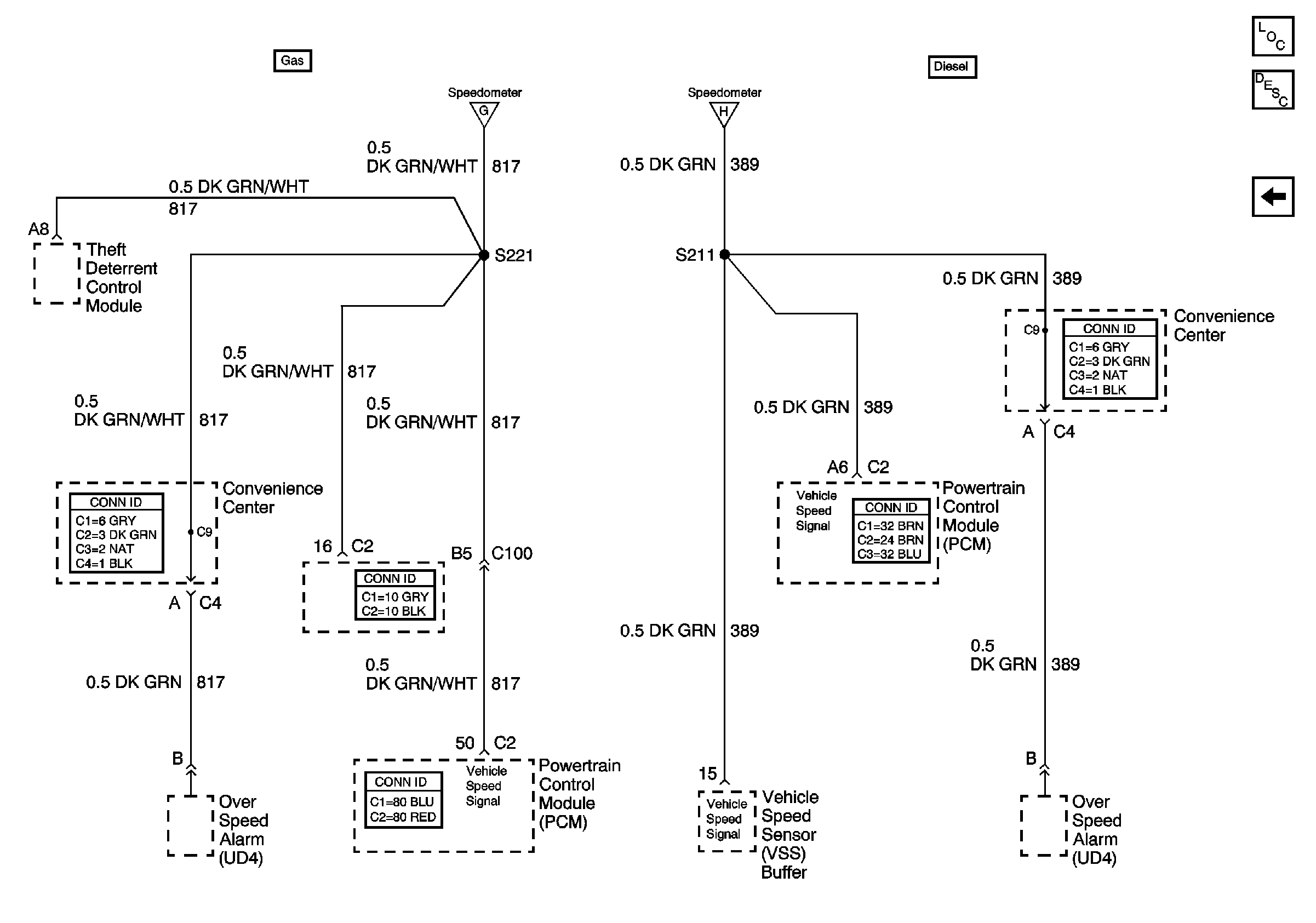
🢒 Vehicle Speed Sensor Circuits
Vehicle Speed Sensor Circuits
Vehicle Speed Sensor Circuits
Master Electrical Component List
Instrument Cluster Description and Operation
Fuel Tank Level Sensor Circuits
Speedometer, Tachometer, and Fuel Gauge
Speedometer, Tachometer, and Fuel Gauge