GM Service Manual Online
For 1990-2009 cars only
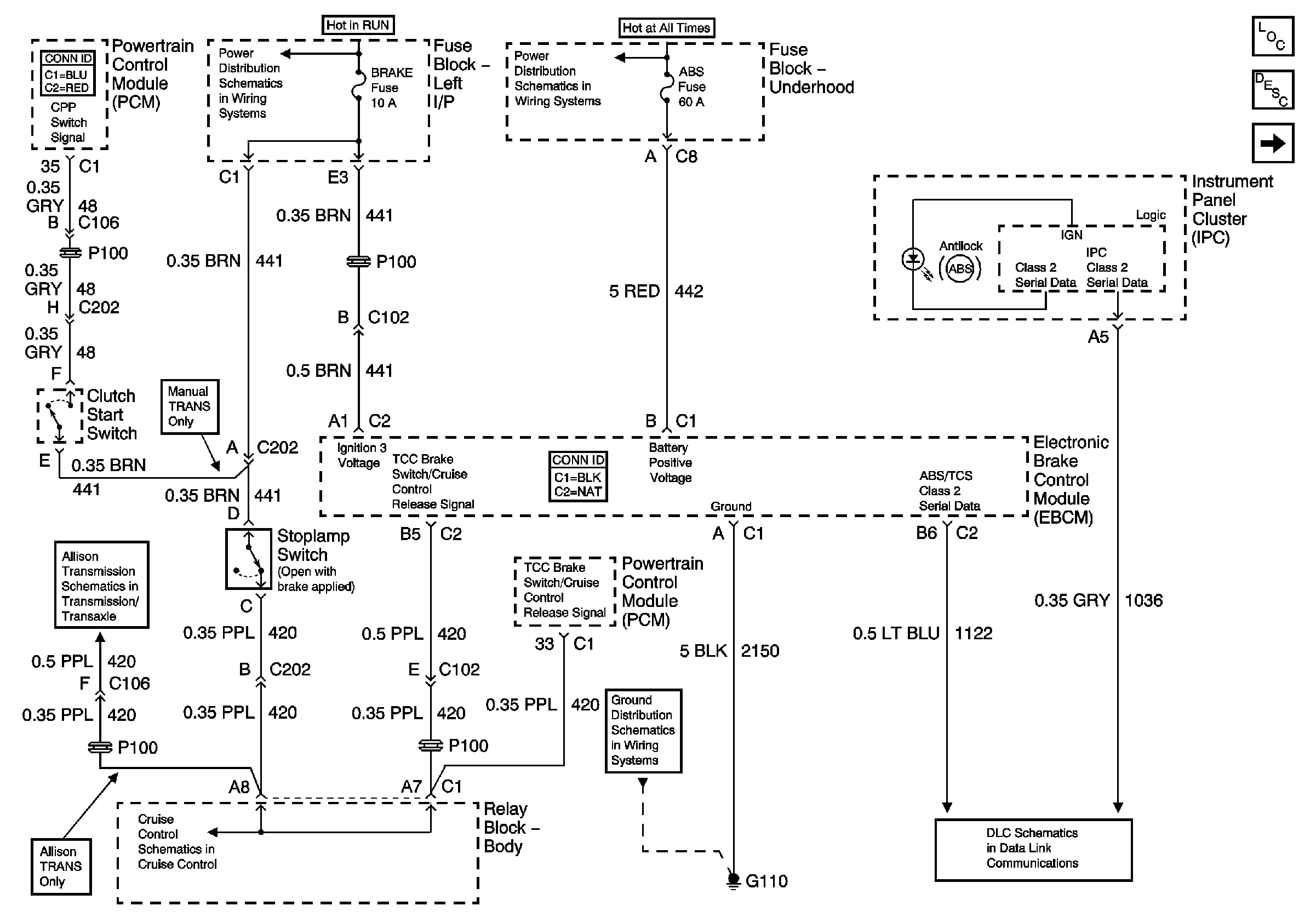
Figure 1:

Power, Ground, Class 2 Communication (w/o Traction Assist)


Object Number: 771601  Size: FS
Master Electrical Component List
ABS Description and Operation
Speed Sensor Signals (w/o Traction Assist)
BRAKE, Cruise, HTR A/C, RR WPR, WS WPR, and SEO ACCY Fuses
ABS, HAZ LP, STUD 1, HTD MIR, RR DEFOG, STUD 2, CTSY LP, and PARK LP Fuses
Power, Ground, and Stop Lamp Switch TCC Signal Circuit
Cruise Control Module , Clutch Start Switch, and Stop Lamp Switch - Gas w/o ETC
G100 and G110
Splice Pack SP205
Controlled/Monitored Subsystem References
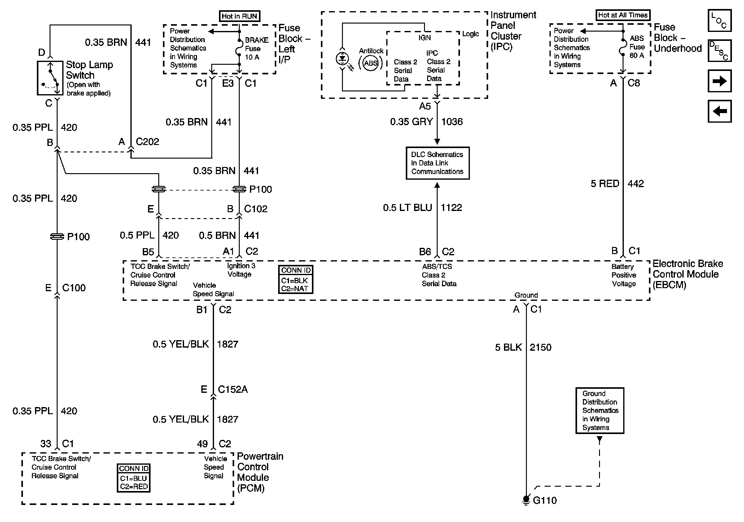
Figure 2:

Speed Sensor Signals (w/o Traction Assist)


Object Number: 771603  Size: FS
Master Electrical Component List
ABS Description and Operation
Power, Ground, Class 2 Communication (w/Traction Assist)
Power, Ground, Class 2 Communication (w/o Traction Assist)
G104 - Gas
G104 - Gas
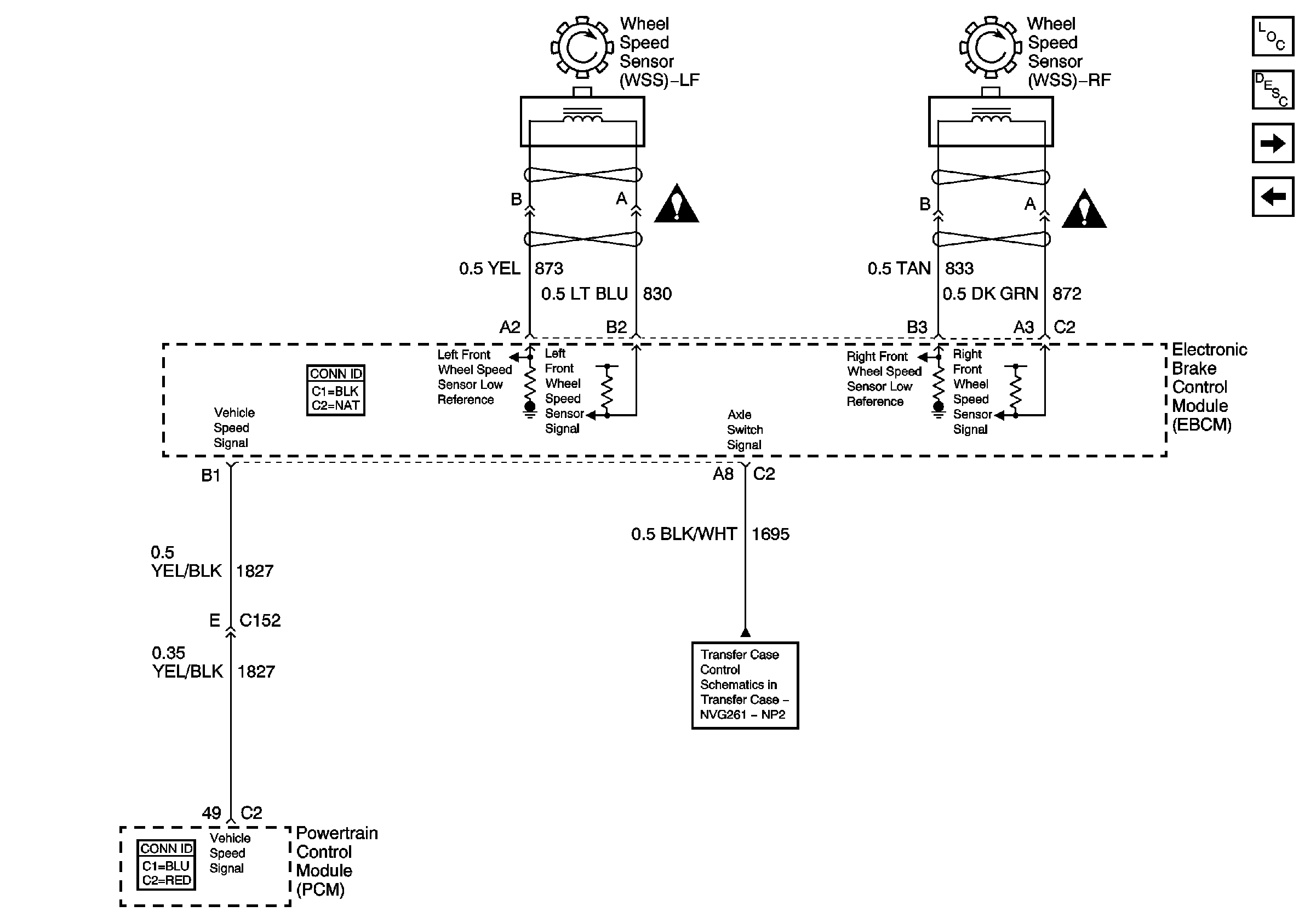
Figure 3:

Power, Ground, Class 2 Communication (w/Traction Assist)


Object Number: 771604  Size: FS
Master Electrical Component List
ABS Description and Operation
Speed Sensor Signals, Traction Control Switch (w/Traction Assist)
Speed Sensor Signals (w/o Traction Assist)
BRAKE, Cruise, HTR A/C, RR WPR, WS WPR, and SEO ACCY Fuses
ABS, HAZ LP, STUD 1, HTD MIR, RR DEFOG, STUD 2, CTSY LP, and PARK LP Fuses
Splice Pack SP205
G104 - Gas
G104 - Gas
G100 and G110
Figure 4:

Speed Sensor Signals, Traction Control Switch (w/Traction Assist)


Object Number: 771605  Size: FS
Master Electrical Component List
ABS Description and Operation
Power, Ground, Class 2 Communication (w/Traction Assist)
IGN 1, TURN, SEO IGN, AIR BAG, CRANK, and IGN 0 Fuses
AUX PWR and HORN Fuses
HVAC Control Module/Blower Control Switch, Traction Control Switch, and Transfer Case Shift Control Switch
AUX PWR and HORN Fuses
G203 - 2 of 3 - Uplevel and Crew Cab
G203 - 1 of 3
G203 - 2 of 3 - Uplevel and Crew Cab