GM Service Manual Online
For 1990-2009 cars only
Makes
🢒
Chevrolet
🢒
2002
🢒
Chevy K Silverado - 4WD
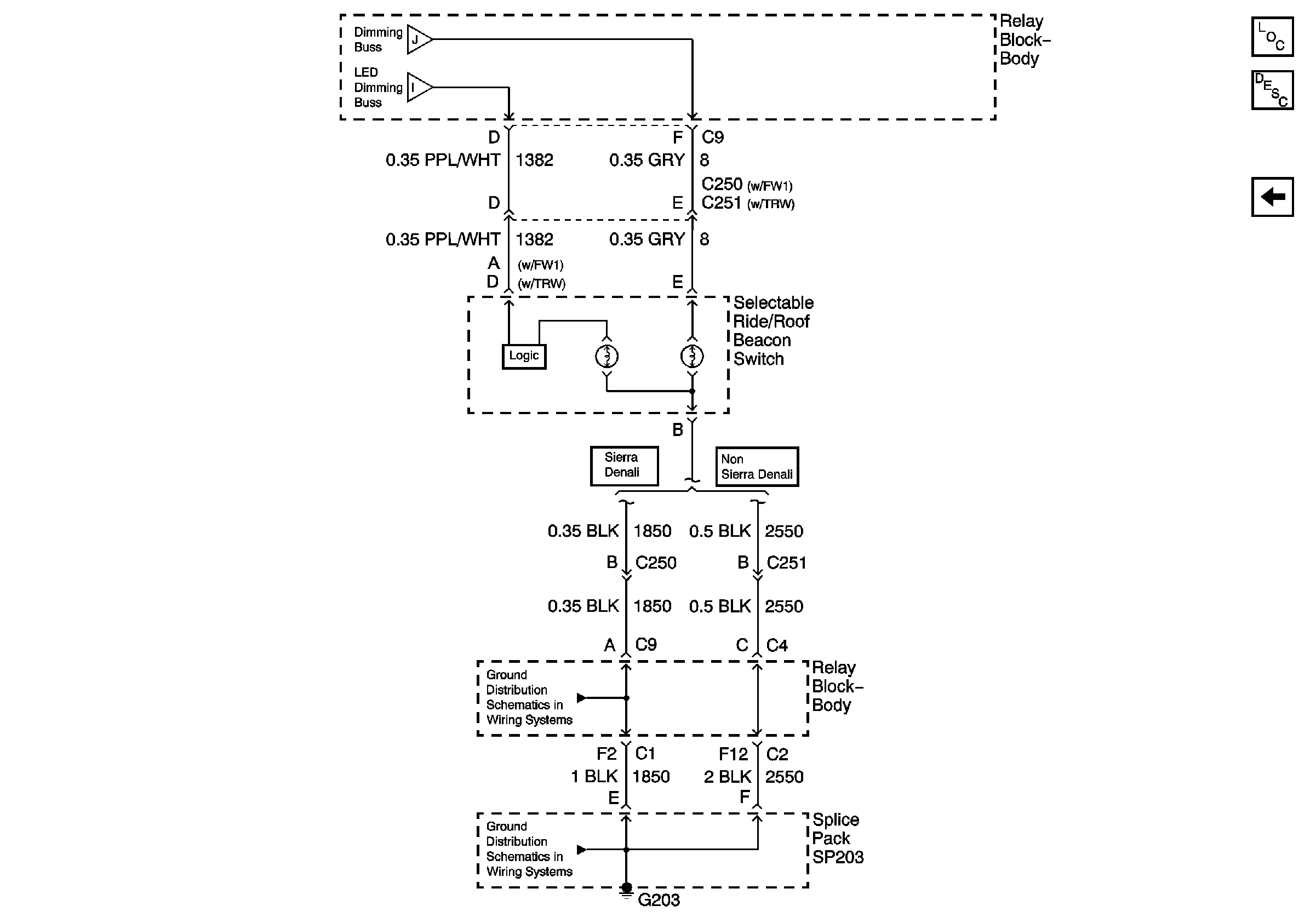
🢒 Selectable Ride/Roof Beacon Switch
Selectable Ride/Roof Beacon Switch
Selectable Ride/Roof Beacon Switch
Master Electrical Component List
Interior Lighting Systems Description and Operation
HVAC Control Module/Blower Control Switch, Traction Control Switch, and Transfer Case Shift Control Switch
HVAC Control Module/Blower Control Switch, Traction Control Switch, and Transfer Case Shift Control Switch
SIR Disable Switch, Radio, and CD Player
G203 - 2 of 3 - Base Except Crew Cab
G203 - 1 of 3